Yes, you caant:
Aquatec® Beluga
Bathlift
User Manual
Aquatec Beluga Bath Lift
This manual must be given to the user of the product.
Before using the product, read this manual and safe it for future reference!
©Aquatec Operations GmbH
Every effort has been made to ensure that the contents of this publication are fully up-to-date at the time of going to print.
As part of its ongoing improvement of products, Aquatec Operations GmbH reserves the right to modify existing models at any time.
Aquatec dealers will be notified of any such modifications. Any use of this publication, or of parts thereof, as well as any reproduction of images, must have the written consent of Aquatec Operations GmbH.
General information
This user manual contains information and notes on the proper and safe use of the bath lift.
Please read this user manual carefully before using the product. Please heed all the notes, particularly the safety information, and act accordingly.
The position specifications (A, B, C, etc.) in the handling instructions always refer to the preceding figure.
1.2 Symbols
Symbols in this user manual
In this user manual, warnings are marked with symbols. The title next to the warning symbol indicates the level of danger.
WARNING Indicates a dangerous situation which could lead to death or serious injury if not avoided.
AUTION
Indicates a dangerous situation which could lead to minor injuries if not avoided.
IMPORTANT
Indicates a dangerous situation which could lead to damage if not avoided.
Useful tips, recommendations and information to ensure efficient and smooth operation.
This product complies with the directive 93/42/EEC for medical products. The launch date for this product is specified in the CE declaration of conformity.
1.3 Warranty
We provide a manufacturer’s warranty for the product in accordance with our General Terms and Conditions of Business. Warranty claims can only be made through the relevant dealer.
Quality and electromagnetic compatibility Quality is of the utmost importance for our company; all processes are based on ISO 9001 and ISO 13485.
The product meets the requirements of the standards,
DIN EN 10535 (lifts), DIN EN 60601-1 (electrical safety) and DIN EN 60601-1-2 (electromagnetic compatibility).
Should you require further information, please contact the relevant Invacare® subsidiary in your country (contact addresses are provided on the back of this user manual).
1.4 Intended use
The bath lift is intended exclusively as an aid for bathing people within a bathtub. Do not use for any other purpose.
WARNING
Risk of injury ▸ Never stand on the bath lift to get into or out of the bathtub, do not use it for climbing or descending, as a support or for any similar purpose.
Operating temperature: 10 – 40°C
1.5 Product service life
If the product is used as intended and in accordance with the safety regulations, the expected product life is five years. The effective service life can vary, however, depending on the frequency and intensity of use.
Safety
2.1 Safety information
WARNING Risk of injury
▸ Do not use a faulty product.
▸ In the event of a malfunction, contact an authorized dealer immediately.
▸ Do not make any unauthorized changes or alterations to the product.
▸ Only use accessories intended for the Aquatec®Beluga bath lift.
CAUTION Risk of getting fingers caught
▸ Do not insert fingers into the guide between the seat plate and the backrest.
2.2 Safety information on electromagnetic compatibility
This product was successfully tested to international standards for its electromagnetic compatibility. However, electromagnetic fields such as those generated by radio and television transmitters, radio equipment and mobile telephones, can influence the operation of products with electrical drives. The electronics used in this product can also cause weak electromagnetic disturbances but these are below the statutory limits. You should therefore comply with the following instructions:
CAUTION Electromagnetic interference
Electromagnetic interference could cause the bath lift to stop suddenly or (though this is extremely unlikely) to start moving of its own accord.
▸ Switch off the external device and/or your bath lift if you notice such behavior.
▸ If other electrically operated medical products cause a disruption or are themselves disrupted, switch off the bath lift and contact your authorized dealer.
Description
The following components are included in the scope of delivery of the Aquatec®Beluga:
3.1 Seat

| A | Side flap |
| B | Seat plate |
| C | Hinge for backrest |
| D | Right and left guide plate |
| E | Lifting scissors |
| F | Guide for the sliding shoes |
| G | Spindle foot retainer |
| H | Base plate |
| I | Sliding shoe |
| J | Front suction cups (one tab with head) |
| K | Rear suction cups (two tabs with thread) |
Beluga Bath Lift
3.2 Backrest

| A | Jack plug |
| B | Drive |
| C | Spindle foot |
| D | Locking pin |
| E | Plate, backrest |
3.3 Battery and charger

| A | Hand control with battery |
| B | Mains plug |
| C | Charger |
| D | Hand control spiral cable |
| E | Jack socket of hand control |
| F | Jack plug of charger |
3.4 Identification label
The identification label also contains important information:

| A | Conformity mark |
| B | Duty cycle (max. 10%, max. 2 min/18 min) |
| C | Note (disposal) |
| D | Type of protection, entire device |
| E | Serial device number |
| F | Note (observe accompanying documents) |
| G | Production timeframe |
| H | Load capacity |
| I | Nominal voltage/Rated input power |
| J | Type B applied part |
| K | Device designation |
| L | Fuse |
The identification label is applied to the back of the backrest.
Setup and installation
4.1 Safety information
CAUTION Risk of getting fingers caught when the lifting scissors move
▸ Do not reach between the lifting scissors during assembly.
IMPORTANT
▸ Check the parts for transport damage before commissioning and contact the authorized dealer if required
▸ Ensure during assembly that the parts are positioned correctly with respect to one another.
4.2 Fitting the suction cups Preparing for assembly

- Place the seat on its side.
- Press the red button A in the spindle foot retainer B.
The locking mechanism between the base plate and seat plate opens. - Carefully pull the base plate and the seat plate apart.
The seat is now lying in a stable position on its side.
Attaching the front suction cups
! IMPORTANT
▸ The front suction cups have only one tab and a head for insertion.
▸ The assembly procedure is the same for the right and left side.

- Press the red suction cup cover B from below out of the slotted hole C in the base plate.
- Apply a thin layer of commercial skin cream to the head of the suction cup D.
▸ Lubricant film facilitates assembly.
! IMPORTANT
▸ The tab with the toggle F must point backwards when you insert it. - Insert the suction cup head from the bottom into the large opening in the slotted hole.
- Pull the suction cup head all the way to the front of the smaller opening of the slotted hole.
- Bend up the tab E and hook the toggle F into the groove A.
- Push the red suction cup cover B from behind into the groove of the suction cup D and into the slotted hole C in the base plate.
Attaching the rear suction cups
! IMPORTANT
▸ The rear suction cups have two tabs and a thread.
▸ Attach the suction cups in such a way that you can reach one tab of each suction cup when the lift is set up in the bath.
▸ The assembly procedure is the same for the right and left side.

- Screw the suction cup A from below into the threaded liner B provided for this.
- Tighten the suction cup until it abuts the underside of the base plate C as shown.
Completing assembly
- Carefully push the lifting scissors back together.
The locking mechanism between the base plate and seat plate closes automatically. - Place the seat on the attached suction cups.
4.3 Setting up the bath lift
WARNING Risk of slipping The bath lift can slip if the suction cups do not have a good hold.
▸ Clean the bathtub and the suction cups before setting up the bath lift.
▸ Do not change the position of the bath lift in the bathtub once it is set up.
WARNING Risk of injury and damage
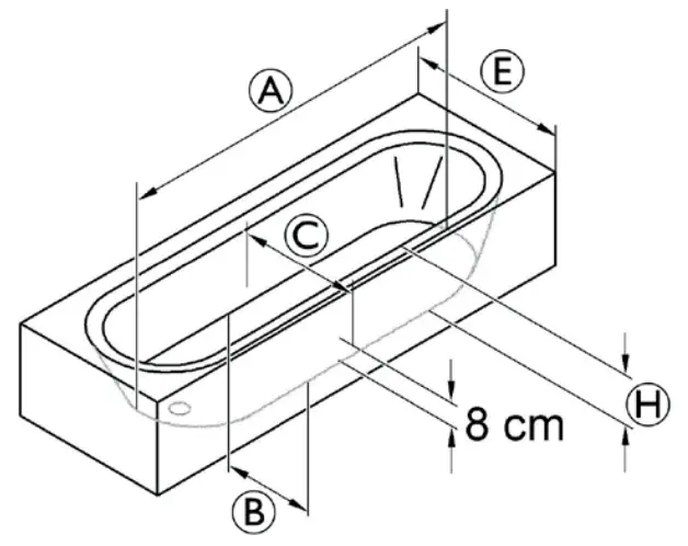
▸ Only set up the bath lift in bathtubs that comply with the specifications of the following table.

| A | Tub length, bottom | 800 mm |
| B | Tub width, bot- torn (inside) | 280 – 600 mm |
| C | Tub width, at80 mm in height (inside) | 430 mm |
| D | Tub height (inside) | 420 mm (with height adapter max. + 60 mm) |
| E | Tub width (out- side) | 580 – 690 mm (with special side flaps) 700 – 740 mm (with standard side flaps) 750 – 1000 mm (with special side flaps) |
IMPORTANT
▸ Ensure that the suction cups are mounted.
▸ Ensure that the battery is charged.
▸ Ensure that the spindle foot is inserted fully.
▸ When lifting, please remember: the seat weighs 8.6 kg, the backrest 4.3 kg (without the battery).
▸ If the bathtub has a handrail, use the side flap diverter (optional).
▸ Fold the side flaps outwards before raising the backrest.

- Place the seat B on the bottom of the empty bathtub. Ensure that the spindle foot retainer C is pointing towards the end of the bathtub opposite the drain A.

- Fold the side flaps of the seat outwards.

- Place the backrest C (without the battery) onto the seat so that the slots D in the backrest fit into the hinges F of the seat plate E.
- Press the spindle A into the catch B.
IMPORTANT Risk of damage Damage to the product caused by the spindle foot slipping out.
▸ Ensure that the spindle is pressed into the catch before folding up the backrest.
▸ Once the backrest is folded up, ensure that the spindle foot is in the spindle foot retainer and locked. - Hold the backrest at the center of the head end and carefully swivel it into the end position.The pins on the fixation ring D fit in the guides F on the seat plate.
The spindle B is released from the catch A. The spindle foot E is in the spindle foot retainer of the base plate. The ratchet C locks the spindle foot.
- Hold the charged battery B by the grip A and insert into the guide C in the backrest from above.
- Push the battery down completely. The battery should click into place. The bath lift is now ready for use.
4.4 Removing the bath lift
- Let the water out of the bathtub.

- Lower the bathlift A by pressing the Down button, until the backrest is at the stop. See Section 5.2 Controlling the bath lift.
! IMPORTANT ▸ Grasp deep into the grip so that you can hold the battery safely. - Unlock the battery by pulling the grip up slightly.
- Pull the battery upwards out of the guide B.
! IMPORTANT Risk of damage
▸ When folding the backrest down, ensure that spiral cable of the hand control does not get caught.
▸ Do not fold the backrest down if there is water in the bathtub. - Hold the backrest at the head end with one hand.
- With your other hand, hold the spindle near the red spot.
- Push the spindle forward and at the same time slowly fold the backrest all the way forward C.
- Press the spindle into the catch.
- Pull the backrest up off the seat and out of the bathtub D.
- Fold the side flaps of the seat inwards E.
! IMPORTANT ▸ Release both rear suction cups simultaneously. - Release the rear suction cups by pulling up on the protruding tab. 1
- Lift the rear of the seat further F. This releases the front suction cups.
! IMPORTANT ▸ If the height adapters have been installed (optional), you also have to pull the tabs of the front suction cups to release them. - Take the seat out of the bathtub.
- Carefully put away all components of the bath lift.
4.5 Charging the battery
The bath lift cannot be used while the battery is charging.
CAUTION Risk of electric shock
▸ Only recharge the battery in dry rooms.
! IMPORTANT
▸ Only ever use the charger supplied (Aquatec®Beluga) to charge the battery.
▸ Make sure that the voltage specifications shown on the charger correspond to those of the power mains.

- Insert the jack plug A of the charger E into the jack socket F on the battery B.
- Insert the mains plug C of the charger into a power socket.
The red indicator lamp D on the charger lights up until the battery is charged.
It is not possible to overcharge the battery. The indicator lamp goes out when charging is finished. - Disconnect the charger from the power socket.
- Pull the jack plug of the charger out of the jack socket of the battery.
Operation
5.1 Safety information
CAUTION
Overloading the bath lift can lead to damage to the device or prevent lifting.
▸ Do not overload the bath lift and observe the specifications on the identification label and in Section 10 Technical data with regard to its load capacity.
! IMPORTANT
▸ Always perform a visual inspection of the product for external damage before each use
▸Recharge the battery completely before each use.
It has a lift capacity greater than 1.5 times the nominal load.
5.2 Controlling the bath lift
The bath lift can be moved in the following directions:

The bath lift is controlled via the hand control.
With a fully charged battery, 22 bathing operations with 140 kg of load can be performed.

! IMPORTANT Risk of damage
▸ The buttons of the hand control D may only be used when the backrest is properly installed and in the upright position.
! IMPORTANT
If the battery is not sufficiently charged, the battery indicator lamp B lights up red.
In this case, the lowering function of the bath lift is disabled.
You can, however, still raise the lift.
▸ Recharge the battery immediately after raising it.
Raising the bath lift
! IMPORTANT
If the backrest is lowered, it will move into the upright position first.
- Press the Up button C on the hand control and keep it pressed.
The backrest moves into the upright position or the seat moves up. - Release the Up button on the hand control.
The bath lift stops in the current position.
Lowering the bath lift
! IMPORTANT
If the seat is already lowered, the backrest lowers back. - Press the Down button E on the hand control and keep it pressed.
The seat moves down or the backrest moves back. - Release the Down button on the hand control.
The bath lift stops in the current position.
Emergency off switch
! IMPORTANT
Only press the Emergency Off button A if the device does
not stop immediately when the Up or Down button is released (e.g. if a button gets stuck). The bath lift stops moving immediately and the red lamp integrated in the hand control lights up.
If the red indicator lamp goes out after the emergency off button is released, the fault has been rectified (e.g. button is released again).
The device is ready to use again.
If the red indicator lamp stays on after the emergency off button is released, the fault has not yet been rectified.
The device is not ready for use and must be repaired (e.g. in the event of damage to the electronics).
1. Please contact your authorized dealer, if necessary.
5.3 Bathing
WARNING Risk of slipping The bath lift can slip if the suction cups do not have a good hold.
▸ Before using the bath lift, ensure that it is securely positi- oned and cannot tip over.
▸ Ensure that the bath lift is set up in the bathtub as described in Section 4.3.
▸ Ensure that the spindle foot is sitting properly in the spindle foot retainer.
WARNING
▸ If your condition means that you cannot take a bath on your own, only use the device with supervision.
Transport
CAUTION
Bath oils or salts can impair the performance of the lifting scissors.
▸ If using such bath additives, do not exceed the recommended dose.
! IMPORTANT
▸ Run the lift unloaded once to the top and then back to the bottom (function test).
▸ Before using, check the temperature of the bath water.
- Press and hold the Up button C until the seat is level with the edge of the bathtub.
- Make sure that the side flaps are level with the seat and rest flat on the edge of the bathtub.
- Fill the bath with water
- Sit on the side flap nearest to you as you would on a chair.
- Slide backwards until you are sitting in the middle of the seat.
- Turn yourself into the bathing position, by lifting one leg and then the other over the edge of the bathtub.
- Once you are sitting correctly, press the Down button E and hold it down to lower the seat into the bathtub.
Once the seat has reached the lowest position, it is possible to recline the backrest by continuing to hold the Down button E. This produces a more comfortable bathing position and allows you to immerse yourself deeper in the bathwater. - Keep the Down button pressed until the backrest has reached the desired position. To get out of the bathtub, follow these steps in reverse order.
CAUTION
▸ When raising the bath lift, watch out for obstacles such as handles, for example. - To raise the backrest or the bath lift, press the Up button C and keep it pressed until it has reached the desired position.
Transport
6.1 Safety information
CAUTION
The backrest is not locked on the seat when it is folded together and can come apart.
▸ Before transporting the device, remove the battery from the guide on the backrest.
▸ Only transport the product at temperatures between 0 °C and 40 °C, air pressure of 860 – 1060 hPa and humidity of 30 – 75%.
▸ Do not remove the suction cups when transporting the bath lift.
- Remove the battery from the guide of the backrest cover.
- Disassemble the bath lift into two sections for transport (seat and backrest). See Section 4.4 Disassembling the bath lift.
Maintenance
7.1 Maintenance and servicing
The UK Health and Safety Executive‘s Lifting Operations and Lifting Equipment Regulations 1998 (LOLER), require any equipment that is used in the workplace (e.g. by a paid carer) to lift a load be subject to safety inspection on a six monthly basis. Please refer to the HSE web site for guidance www.hse.gov.uk. Link to HSE information document on LOLER in Health and Social Care: http://www.hse.gov.uk/pubns/hsis4.pdf
If the above cleaning and safety notices are observed, the product will be maintenance free.
▸ Check product regularly for damage and to ensure that it is securely assembled.
▸ In the event of damage and/or likely repairs, contact the authorized dealer immediately.
▸ The bath lift must be checked by an authorized dealer before every re-use or after 24 months at the latest (periodic inspection).
▸ If the bath lift is not used for a prolonged period, charge the battery completely and then raise and lower the bath lift 3 times without load. Repeat this process every 12 months. This helps to maintain the service life of the battery.
7.2 Cleaning and disinfection
The product can be cleaned and disinfected using commercially available agents.
▸ Disinfect the product by wiping down all generally accessible surfaces with disinfectant (after disassembling the product, if possible).
! IMPORTANT
All cleaning agents and disinfectants used must be effective, compatible with one another and must protect the materials they are used to clean.
▸ For further information on decontamination in Healthcare Environments, please refer to ‘The National Institute for Clinical Excellence’ guidelines on Infection Control www.nice.org.uk/CG002 and your local infection control policy.
▸ Clean the product regularly by hand.
▸ Do not use abrasive cleaning agents.
Cleaning the seat and backrest
CAUTION Risk of getting fingers caught
▸ Be especially careful when cleaning in the area of the lifting scissors, as they may move and cause injury.
! IMPORTANT Risk of damage
▸ Never use a high-pressure cleaner to clean the backrest.
- Wash the product with a cloth or a brush.
- Rinse the product with warm water.
- Dry the product with a cloth.
- Lightly grease the guides for the sliding shoes (Fig. F Sec. 3.1) using Vaseline.
Cleaning the covers (optional)
- Unbutton the covers from the seat and backrest.
- Wash the covers in a washing machine at max. 60 °C using a mild detergent.
! IMPORTANT Risk of damage
▸ Washing at high temperatures can cause shrinkage.
▸ Do not dry covers in the tumble dryer.
Cleaning the charger, battery and hand control
WARNING Risk of electric shock
▸ Always disconnect the plug from the power socket before cleaning the charger.
▸ Never insert objects made of conductive material, e.g. knitting needles, metal pins, into the jack socket of the battery.
▸Never use a wet or damp cloth to clean the charger and battery.
- Clean the charger and battery with a dry cloth.
- Wipe the hand control with a damp cloth and dry it with a dry cloth.
After use
8.1 Storage
! IMPORTANT Risk of damage
▸ Store the product in a dry area at a temperature of between 0 °C and 40 °C, air pressure of 860 – 1060 hPa and humidity of 30 – 75%.
▸ Do not store the product near heat sources.
▸ Keep the product out of direct sunlight.
8.2 Re-use
The product is suitable for re-use. The number of re-uses depends on the frequency of use and the manner in which the product was used.
Before re-use, the product should undergo hygienic treatment and be checked to ensure it is in proper and safe working order. Repair if required.
8.3 Disposal
The disposal and recycling of used products and packaging must be conducted in accordance with the applicable legal regulations.
WARNING
▸ Never throw the battery into a fire or store it near naked flames.
Duty to inform in accordance with German Battery Directive, BattG:
This product contains a rechargeable lead battery. Spent batteries or those which can no longer be recharged must not be disposed of in domestic waste. Old batteries may contain hazardous substances which could be a danger to the environment and public health. Please return such batteries to your retailer or to your municipal collection point. Returning them is free of charge and is required by law. Please only throw discharged batteries into the containers provided.
Troubleshooting
9.1 Identifying and repairing faults
The following table provides information on malfunctions and their possible causes.
If you cannot correct the malfunction using the remedies named, please contact your authorized dealer directly.
| Fault | Possible cause | Remedy |
| No motor noise audible/lift does not move. | Battery is not properly inserted. | Insert the battery (correctly), •see Section 4.3, Steps 6 and 7. |
| Battery is flat. | Recharge the battery completely, •see Section 4.5. | |
| Contacts are dirty. | Clean the contacts, •contact your authorized dealer, if necessary. | |
| Hand control cable is damaged. | Replace the hand control, •contact your authorized dealer, if necessary. | |
| The lift can be raised but not lowered. | Low-voltage protection is activated. | Recharge the battery completely, •see Section 4.5. |
| The lift stops while being raised. | The load is excessive. | Observe the maximum load, •see Section 10.1. |
| The bath lift is not adhering securely to the bathtub. | Suction cups are old or damaged. | Replace the suction cups, •contact your authorized dealer, if necessary. |
| Battery is not charging. | Fuse in the battery is faulty. | •Have your authorized dealer check the battery. |
| Battery is faulty. | •Replace the battery. | |
| Charger is faulty. | •Have your authorized dealer check the charger. | |
| Battery is too hot. | •Do not charge the battery near heat sources, e.g. heating elements, in direct sunlight. Charging continues automatically once the temperature drops to within permissible limits. |
Technical data
10.1 Dimensions and weight
| Total length at lowest position | 830 mm |
| Total length at highest position | 700 mm |
| Total height at highest position | 1010 mm |
| Total depth (backrest upright) | 710 mm |
| Total depth (backrest lowered) | 890 mm |
| Seat depth | 460 mm |
| Seat width with side flaps folded out | 700 mm |
| Seat width with side flaps folded in | 380 mm |
| Seat height at lowest position | 60 mm |
| Seat height at highest position | 420 mm |
| Backrest width | 360 mm |
| Minimum angle of backrest in the upright position | 14° |
| Minimum angle of backrest in the lowered position | 38° |
| Base plate width | 295 mm |
| Maximum load | 140 kg |
| Total weight without battery | 12.9 kg |
| Seat weight | 8.6 kg |
| Backrest weight | 4.3 kg |
| Battery weight | 1.6 kg |
| Charger weight | 0.5 kg |
10.2 Electronic data
| Activation force for the buttons of the hand control | < 5 N |
| Operating voltage | 12 V DC |
| Rated input power | 75 VA |
| Fuse | 5 A, slow-blow |
| Battery type | Lead battery |
| Charger input | 100 – 240 V AC, 50 – 60 Hz, 15 VA |
| Charger output | 12 V DC, 400 mA |
| Charge time from low-voltage warning | approx. 5 h |
| Type of protection, drive | IP X6 3′ |
| Type of protection, hand control | IP 67 2) |
| Type of protection, entire device | IP X4 1′ |
| Sound power level | 65 dB(A) |
- Protected against the penetration of water that is splashed against the housing from all directions.
- Dust-proof and protected against the penetration of water during temporary immersion.
- Protected against the penetration of water in the event of strong jets of water.
10.3 Materials
| Backrest | PPGF |
| Seatplate | PPGF |
United Kingdom:
Invacare Limited, Pencoed Technology Park, Pencoed,
Bridgend CF35 5AQ
Tel: (44) (0)1656 776200; Fax: (44) (0)1656 776201
[email protected] / www.invacare.co.uk
USA:
Clarke Health Care Products
1003 International Drive, Oakdale, PA 15071-9226
Tel: (724) 695-2122; Fax: (724) 695-2922
[email protected]
www.clarkehealthcare.com
AQUATEC Operations GmbH
Alemannenstraße 10, D-88316 Isny
Tel: (49) (0)75 62 7 00 0
Fax: (49) (0)75 62 7 00 66
[email protected] / www.invacare.de
©2013, AQUATEC Operations
GmbH, D-88316 Isny, all rights reserved.
Art. Nr. 1555496-C / 2013-11
References
Clarke Health Care Products
DVV
HSE: Information about health and safety at work
| Invacare AT
| Invacare BE
Invacare Corporation - Leading manufacturer of wheelchairs and other home medical equipment
| Invacare CH
| Invacare GB
| Invacare DE
Invacare France | Large gamme de matériel médical
| Invacare IT
| Invacare PT
Home - Verbund für Angewandte Hygiene e.V.


The spindle B is released from the catch A. The spindle foot E is in the spindle foot retainer of the base plate. The ratchet C locks the spindle foot.


















