SONY HCD-RG88 Hi-Fi Music System Owner’s Manual
| CD Section | Model Name Using Similar Mechanism | HCD-RG77 |
| CD Mechanism Type | CDM58E-30BD60C (Singapore) | |
| CDM58ES-30BD60C (Except Singapore) | ||
| Base Unit Name | BU-30BD60C | |
| TAPE Section | Optical Pick-up Name | A-MAX.3 |
| Model Name Using Similar Mechanism | HCD-RG77 | |
| Tape Transport Mechanism Type | TCM-230AWR41CS |
SPECIFICATIONS
Amplifier section
The following are measured at AC 120, 220, 240V 50/60 Hz
DIN power output (rated) 160 + 160 watts (6 ohms at 1 kHz, DIN)
Continuous RMS power output (reference) 210 + 210 watts (6 ohms at 1 kHz, 10% THD)
Inputs
GAME (VIDEO): 1 Vp-p, 75 ohms (phono jack)
GAME (AUDIO): Voltage 250 mV, (phono jacks) impedance 47 kilohms
MD/VIDEO (AUDIO) IN: voltage 450 mV/250 mV, (phono jacks) impedance 47 kilohms
MIC: sensitivity 1 mV, (phone jack) impedance 10 kilohms
Outputs
VIDEO OUT: max. output level 1 Vp-p, (phono jacks) unbalanced, Sync. negative load impedance 75 ohms
PHONES: accepts headphones of (stereo mini jack) 8 ohms or more
FRONT SPEAKER: accepts impedance of 6 to 16 ohms
SURROUND SPEAKER: accepts impedance of 24 ohms or more
SUBWOOFER accept impedance of 8 ohms or more
CD player section
System Compact disc and digital audio system
Laser Semiconductor laser (λ=795nm)
Laser Output Max. 44.6 µW*
*This output is the value measured at a distance of 200 mm from the objective lens surface on the Optical Pick-up Block with 7 mm aperture.
Frequency response 2 Hz – 20 kHz (±0.5 dB)
Wave length 795 nm
CD OPTICAL DIGITAL OUT
(Square optical connector jack, rear panel)
Wave length 660 nm
Output Level –18 dBm
Tape player section
Recording system 4-track 2-channel stereo
Frequency response 50 – 13,000 Hz (±3 dB), using Sony TYPE I cassette
EXPLODED VIEWS
NOTE
- -XX and -X mean standardized parts, so they may have some difference from the original one.
- Color Indication of Appearance Parts
Example:
KNOB, BALANCE (WHITE) . . . (RED)
↑ ↑ Parts Color Cabinet’s Color - Abbreviation
AR : Argentina model
E51 : Chilean and Peruvian models
MX : Mexican model
SP : Singapore model - Items marked “*” are not stocked since they are seldom required for routine service. Some delay should be anticipated when ordering these items.
- Accessories are given in the last of the electrical parts list.
The components identified by mark or dotted line with mark are critical for safety.
Replace only with part number specified.
PANEL SECTION

FRONT PANEL SECTION

CHASSIS SECTION

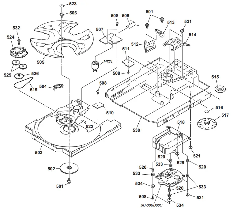
CD MECHANISM DECK SECTION (CDM58E-30BD60C: SINGAPORE), (CDM58ES-30BD60C: EXCEPT SINGAPORE)

BASE UNIT SECTION
(BU-30BD60C)

The components identified by mark or dotted line with mark 0 are critical for safety.
Replace only with part number specified.
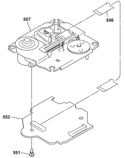
TAPE MECHANISM DECK SECTION
(TCM-230AWR41CS)

Sony Corporation
9-873-655-02
2002F0500-1 Home Audio Company
2002.06 Published by Sony Engineering Corporation















![Philips Micro Music System [btb8000] User Manual Philips Micro Music System [btb8000] User Manual](https://static-data1.manualsee.com/1/img/369/18086/2020/12/Philips-Micro-Music-System-BTB8000-1200x823.jpg)


