LIEBHERR MRFvd Series Beverage Cooler

General safety information
Information for the user: of age and upwards, as well as persons with limited metal, sensory and physical capabilities or with a lack of experience and knowledge, if supervised or following instruction regarding safe use of the appliance, and if they understand the dangers associated with it. Children must not play with the appliance. Cleaning and user maintenance must not be performed by children when unsupervised.
Instructions for set-up, operation and disposal
- Only install, connect and dispose of the appliance in accordance with the instructions for use.
- WARNING: The mains cable must not be damaged when setting up the appliance.
- Multiple sockets/distribution strips as well as other electronic devices (such as halogen transformers) must not be placed and operated at the rear of appliances.
- Do not close the ventilation openings in the appliance housing or in the installation housing.
- Do not damage the coolant circuit.
Information on operation
WARNING: Danger of injury due to electric shock! Live parts are located beneath the cover. The LED interior lighting must be replaced
or repaired by customer service or trained specialist personnel only.
- Danger of injury by LED lamp. The light intensity of the LED lighting corresponds to laser class RG 2. If the cover is defective: do not look into the lighting with optical lenses at close range. This can cause injury to the eyes.
- Danger of fire! Do not operate electrical appliances inside the refrigerator compartment that are not of the type recommended by the manufacturer.
- Danger of fire! Avoid naked flames or sources of ignition inside the appliance.
- Danger of fire! Do not use the appliance to store explosive materials or aerosol cans with flammable propellants, such as butane, propane, pentane etc. These types of aerosol can be identified by the list of contents printed on it, or by a flame symbol. Any leaking gas may ignite due to electrical parts.
- Danger of fire! Alcoholic beverages and other containers bearing alcohol must always be sealed tight for storage. Any leaking alcohol may ignite due to electrical parts.
- Danger of frostbite! Avoid prolonged skin contact with cold surfaces (e.g. cold/frozen goods). If necessary, take protective measures (e.g. gloves).
- Do not use any mechanical devices or other means to speed up the defrosting process other than those recommended by the manufacturer.
Information on malfunctions and cleaning:
- In case of a fault, unplug the mains plug or switch off the circuit breaker.
- Disconnect the mains cable exclusively by pulling the plug out of the mains socket. Never tug on the cable.
- Repairs and interventions on the appliance may only be carried out by the customer service or by qualified personnel trained for this purpose.
Symbols on the appliance

- The symbol may be found on the compressor. It pertains to the oil in the compressor and indicates the following danger: Can be fatal if swallowed or with penetration of the respiratory tract. This information is only significant for recycling. No danger exists with normal use.
- Warning of flammable substances.
- This or a similar sticker may be on the rear of the appliance. It refers to foamed-in panels in the door and/or in the housing. This information is only significant for recycling. Do not remove the sticker.
Categorization of the warnings
- Identifies an immediately dangerous situation that will result in death or serious bodily injuries if it is not prevented.
- Identifies a dangerous situation that could result in death or serious bodily injury if it is not prevented.
- Identifies an immediately dangerous situation that could result in slight or moderate injuries if it is not prevented.
- Identifies a hazardous situation that could result in property damage if it is not prevented.I
- indicates useful hints and tips.
Intended use
This refrigeration appliance is suitable for professional use in commercial and retail environments. It may be used for the storage, presentation and sale of chilled packaged food and drinks. Designed for the removal of chilled goods by customers.
The appliance is only designed for use in closed rooms. All other types of application are impermissible.
Foreseeable erroneous use
Do not use the appliance for the following uses:
- Storage and cooling of
- chemically unstable, flammable or corrosive substances
- medicines, blood plasma, laboratory preparations or similar substances and products subject to the Medical Devices Directive 2007/47/EC
- Use in explosive areas
- Use outdoors or in damp and splash water areas
Improper use of the appliance will result in damage or spoilage of the stored goods.
Climate class
The climate class [X] indicates the ambient conditions in which the appliance can be safely operated.
The climate class [Y] or the temperature class [Z] define the maximum framework conditions for proper functioning of the appliances.
The climate class is printed on the type plate.
| [X] Climate class | max. room temperature | max. rel. humidity |
| 3 | 25 °C | 60 % |
| 4 | 30 °C | 55 % |
| 5 | 40 °C | 40 % |
| 7 | 35 °C | 75 % |
Note
- The minimum permissible room temperature at the installation site is 10°C.
- Under borderline conditions, slight condensation may form on the glass door.
| [Y] Climate class | Temperature [°C] | Relative humid- ity [%] |
| CC1 | 25.0 | 60 |
| CC2 | 32.2 | 65 |
| CC3 | 40.6 | 75 |
Recommended temperature setting
| [Z] Temperature class | Temperature setting [°C] |
| K1 | 3.5 |
| K2 | 2.5 |
| K3 | -1.0 |
| K4 | +5.0 |
Sound emission of the appliance
The A-weighted emission sound pressure level during operation of the appliance is below 70 dB(A) (sound power rel. 1 pW).
Declaration of conformity
- The coolant circuit has been tested for leak-tightness.
- The appliance meets the relevant safety conditions and
- EU directives 2006/42/EG, 2014/30/EU, 2009/125/EG and 2011/65/EU.
EPREL database
From 1 March 2021, the information on energy labelling and eco-design requirements will be available in the European product database (EPREL). The product database can be accessed via the following link https://eprel.ec.europa.eu/. Here, you are asked to enter the model identifier. You will find the model identifier on the type plate.
Appliance description
- MRFvd 3501
- MRFvd 4001
- MRFvd 5501
- MRFvd 3511
- MRFvd 4011
- MRFvd 5511
- Controls
- Type plate
- Shelves
- djustable feet
- Interior lighting (LED light strip)
- Lock
Dimensions
| Model | A (mm) | B (mm) | C (mm) | D (mm) |
| MRFvd 3501/3511 | 1684 | 597 | 654 | 1203 |
| MRFvd 4001/4011 | 1884 | 597 | 654 | 1203 |
| MRFvd 5501/5511 | 1684 | 747 | 769 | 1468 |
| Model | Useful capacity (l) |
| MRFvd 3501/3511 | 250 |
| MRFvd 4001/4011 | 286 |
| MRFvd 5501/5511 | 432 |
Setting up the appliance
WARNING
- Danger of suffocation due to packaging material and film!
- Do not allow children to play with packaging material.
- Dispose of the packaging material in accordance with the applicable regulations.
ATTENTION
Set-up the appliance with 2 persons to avoid personal injurSet-up the appliance with 2 persons to ay and damage to property. void
damage. In case of damage
After unpacking, check the appliance f, contact or the supplier. supply.Do not connect the appliance to the power
- Avoid positioning the appliance in direct sunlight, near cookers, radiators and similar sources of heat.
- The more coolant there is in the appliance, the larger than room must be in which it is located. In rooms that are too small, a leak can product a flammable gas/air mixture. The room where the appliance is installed must be at least 1 m³ per 8 g of coolant. Information on the refrigerant contained is given on the type plate inside the appliance.
- Set-up the appliance either freely in the room or directly on a wall at a distance of 5 mm. If you set up the appliance against a wall, use wall spacers (1) from the accessory pack.
- If several appliances are set up next to each other, leave a distance of 3 cm between the appliances.


Note
If this distance is too small, condensation will form between the side walls.
Removing the transport lock
- Pull the tab (1) forward.
- Pull the transport lock (1) upwards. Base holder remains on the appliance.

Alignment of the appliance
ATTENTION
The appliance must be horizontally and vertically aligned. If the appliance is placed at an angle, the body of the appliance may be deformed and the door may not close properly.
- Compensate for uneven floors with the adjustable feet.
Electrical connection
- Only operate the appliance with alternating current.
- The permitted voltage and frequency are printed on the type plate. The position of the type plate can be seen in the Appliance description chapter.
- The socket must be earthed and electrically protected. The trigger current of the fuse must be between 10 A and 16 A.
- The socket outlet must not be located behind the appliance and must be easily accessible.
- Do not connect the appliance via extension cables or distribution sockets.

- Do not use stand-alone inverters (converting direct current into alternating or three-phase current) or energy-saving plugs. Danger of damage to the electronics!
Operating controls
MRFvd
- 3501
- 4001
- 5501
MRFvd
- 3511
- 4011
- 5511

- Lock
- Temperature display
- Light door contact switch
- Temperature controller
- Fan door contact switch
- On/off light switch
Switching the appliance on and off
Switching on
Plug in the mains plug – the appliance is switched on.
Switching off
Remove mains plug.
Switching the interior lighting on and off
MRFvd 3501, MRFvd 4001, MRFvd 5501
The interior light always switches on when the door of the appliance is opened.
MRFvd 3511, MRFvd 4011,MRFvd 5511
You can switch the lighting on or off by pressing the light switch.
Setting the temperature
- Set the temperature in the appliance using the control knob.
- The lowest temperature in the interior is reached in the Max position.
- Adjust the controller between Min and Max as required.

Note
- The thermometer is installed in the upper part of the door. In some areas of the interior, the air temperature may differ from the temperature display.
- If the door is opened for a long time, the temperature in the compartments of the appliance may rise considerably.
- With the correct temperature, food stays fresh longer. Superfluous throwing away of food can thus be avoided.
Storing food and drinks
When storing food, always bear in mind:
- Move the shelves according to the height of the bottles or packs.

ATTENTION
Observe the maximum load per shelf!
| Model | Max. load (kg) |
| MRFvd 3501 / 3511 / 4001 / 4011 | 45 |
| MRFvd 5501 / 5511 | 60 |

- The ventilation slots of the recirculation fan in the interior must not be covered.
- The refrigerated goods must not touch the evaporator on the rear wall.
- Food is well packaged.
- Foods that easily take on or give off odour or taste are in closed vessels or are covered.
- Raw meat or fish is in clean, closed containers that other food cannot touch or drip onto.
- Liquids are in closed vessels.
- Food is stored spaced apart, i.e. store in such a way that air can circulate freely.
- The best-before date specified on the packaging is considered as a guide value for the storage time.
Note
Failure to follow these instructions can lead to food spoilage.
Defrosting
The refrigerator compartment defrosts automatically.
Note
If the temperature is set very cold and/or the humidity is very high, the back wall in the interior may ice up.
Defrost the refrigerator compartment manually:
- Remove mains plug!
- Remove food from the appliance and store in a cool place.
- Leave the door of the appliance open while defrosting.
- After defrosting mop up the remaining water and clean the appliance.
Opening and closing the appliance
Close the appliance
- Push the key in in direction (1).
- Turn the key 90° (2).
To unlock the appliance again, proceed in the same order.
Cleaning
WARNING: Be sure to disconnect the appliance from the mains before cleaning. Unplug the mains plug or switch off the circuit breaker!
CAUTION
- Risk of damage to appliance components and risk of injury from hot steam.
- Do not clean the appliance with steam cleaning equipment!
ATTENTION: Surfaces that may come into contact with food and accessible drainage systems must be cleaned regularly!
- Clean the inside, equipment parts and outer walls with lukewarm water and a little detergent. Do not use abrasive or acid cleaners or chemical solvents.
- To avoid short circuits, make sure that no cleaning water enters the electrical components when cleaning the appliance.
- Dry all parts well with a cloth.
- The dust should be removed from the refrigeration unit and heat exchanger – metal grid at the back of the appliance –once a year.
- Do not damage or remove the type plate on the inside of the appliance. It is very important for servicing purposes.
Malfunctions
You can eliminate the following faults yourself by checking the possible causes:
The appliance does not function. Check whether.
- the appliance is switched on,
- the plug is correctly fitted in the mains socket,
- the socket fuse is intact.
The temperature is not low enough. Check:
- the setting per the section “Setting the temperature”. Has the correct value been set?
- Does the separately installed thermometer show the correct reading?
- Is the ventilation system working properly?
- Is the appliance set up too close to a heat source?
If none of the above causes applies and you cannot eliminate the fault yourself, please contact your nearest after-sales service point. Communi cate the t ype designation 1, service 2and serial number 3of the type plate.
The position of the type plate can be seen in the Appliance description chapter.
Shutting your appliance down
If the appliance is left empty for a long period of time, switch it off, defrost, clean and dry it and keep the door open to prevent mould formation.
The permitted room temperature for storing the appliance after it has been taken out of service is between -10 °C and +50 °C.
Storing the appliance outside these temperatures may cause damage to the appliance and malfunction.
Information concerning disposal
- The appliance contains some valuable materials and should be disposed of properly – not simply with unsorted household refuse. The old appliance must be properly and professionally disposed of in accordance with the local applicable regulations and legislation.
- Do not damage the disused appliance when removing it from the refrigeration circuit.
- This appliance contains flammable gases in the refrigeration circuit and in the insulation foam.
For Germany:
The appliance can be disposed of free of charge via the class 1 collection bins at the local recycling/reusable material centres. When purchasing a new refrigerator/freezer and a sales area > 400 m2 , the old appliance is also taken back free of charge via the trade.
Additional information
Further information on warranty conditions can be found in the enclosed service brochure or online.
Replacing the door stop
- The door stop should only be changed by trained specialist personnel.
- Two people are required for the modification.
WARNING
- High door weight.
- Danger of injury and damage to property.
- Only carry out the modification if a weight of 25 kg can be lifted.
- Open the door.

- Disengage the front covers on the inside and remove them to the side.
- Remove the top cover by pulling it upwards.
- Unscrew the locking hook (1).

- Disengage cover (2) with a small screwdriver and remove.
- Release the plug connection from the holder.

- Unplug the plug and plug coupling (3).

- Carefully pull out the cable upwards.

- Move the lock and cover to the opposite side.
- Close the door.
ATTENTION - Have one person hold the door.

- Unscrew two screws on the hinge bracket.

- Only loosen the third screw, do not unscrew it. (Door weight!)
- First move the door to the left, then move it forward at the bottom and remove it downwards.

- Carefully place the door on a soft surface.
- Unscrew the third screw completely.

- Pull out the hinge bracket.

- Reposition the bolt in the hinge angle.

- Make sure that the bolt chamfer faces the round hole when inserting (4).
- Unplug plug.

- Carefully pull out the cable upwards.

- Unscrew the hinge bracket.
- Reposition the bolt in the hinge angle.
- Insert the bolt to the stop.
- Move the closing angle to the opposite side.

- Plug in the plug at the top left.

- Lay the cable as shown.
Note
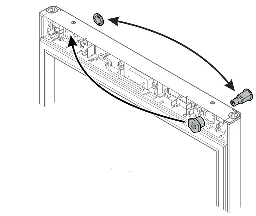
If the cover on the glass door unit is difficult to prise out, lever it out carefully with a tool, e.g. a screwdriver. - Move the cover to the opposite side.

- MRFvd 3501
- MRFvd 4001
- MRFvd 5501
- MRFvd 3511
- MRFvd 4011
- MRFvd 5511
Note
If the handle is hard to remove, squeeze it gently when pulling out.
- Unscrew the handle.

- Screw on the handle.

- Insert and hold the hinge bracket in place as shown in the illustration.
- Have a second person lift the door off the ground and guide it to the appliance.
- Screw the screw into the right-hand hole at the bottom of the housing.

- Hook the door into the upper hinge pin and at the same time slide the lower hinge pin over the screw.

ATTENTION - Have one person hold the door.
- Screw in the second screw slightly.

- Check that the door is straight. If not, move the door slightly to the right or left with the hinge bracket.

- Tighten the screws to the stop.
- Open the door.
- Pull the cable completely through the opening.

- Connect both plugs with the plug coupling.
- Snap the plug connection into the holder.

- Put on the cover.
- Screw on the closing

- Hook the front covers to the side and snap them on inside.

- Snap on the top cover from above.
- Close the door.
Liebherr-Hausgeräte GmbH Memminger Straße 77-79 88416 Ochsenhausen Germany
home.liebherr.com


















































