BOMANN KSG 239.1 Beverage Cooler

Introduction
Thank you for choosing our product. We hope you will enjoy using the appliance.
Symbols in these Instructions for Use
Important information for your safety is specially marked. It is essential to comply with these instruc-tions to avoid accidents and prevent damage.
WARNING:
This warns you of dangers to your health and indicates possible injury risks.
CAUTION:
This refers to possible hazards to the machine or other objects.
General Notes
Read the operating instructions very carefully before putting the appliance into operation and keep the instructions including the warranty and the receipt. If you give this appliance to other people, also pass on the operating instructions.
NOTE:
- Due to constant product modifications, your appli-ance may differ slightly from these operating in-structions; Functions and methods of use remain unchanged.
- The illustrations in these operating instructions may differ from the original appliance.
- The appliance is designed exclusively for com-mercial use and for the envisaged purpose. This appliance is not fit for private use.
- The appliance is only to be used as described in the user manual. Do not use the appliance for any other purpose. Any other use is not intended and can result in damages or personal injuries.
- This appliance is not intended to be used as a built-in appliance.
- Do not use it outdoors. Keep it away from sources of heat, direct sunlight and humidity.
- When not in use, for cleaning, user maintenance works or with disruption, switch off the appliance and disconnect the plug (pull the plug itself, not the lead) or turn off the fuse.
- The appliance and if possible the mains lead have to be checked regularly for signs of damage. If damage is found the appliance must not be used.
- For safety reasons, alterations or modifications of the appliance are prohibited.
- To ensure your children’s safety, please keep all packaging (plastic bags, boxes, polystyrene etc.) out of their reach.
WARNING:
Do not allow small children to play with the foil. There is a danger of suffocation!
Special safety Information for this Unit
This appliance is intended for commercial use only.
WARNING:
- Keep ventilation openings, in the appliance enclosure or in the built-in structure, clear of obstruction.
- Do not use mechanical devices or other means to accelerate the de-frosting process (if necessary), except those described in this manual (depending on the model included the scope of delivery).
- Do not damage the refrigerant circuit.
- Do not operate any electrical devices inside the appliance.
- Do not store explosive substances such as aerosol containers with flammable propellant in the appliance.
- When positioning the appliance, ensure the supply cord is not trapped or damaged.
- Do not locate multiple portable socket-outlets or portable power supplies at the rear of the appliance.
- Do not try to repair the appliance on your own. Always contact an au-thorized technician. To avoid the exposure to danger, always have faulty cable be replaced only by the manufacturer, by our customer service or by qualified person and with a cable of the same type.
- Use the provided collection points of electrical equipment for the disposal of the appliance.
WARNING: Risk of fire / flammable
materials
The coolant circuit of this unit contains the refrigerant Isobutane (R600a), a natural gas that is flammable and of high environmental compatibility. Make sure no parts of the coolant circuit get damaged during transport and installation of the appliance.
If the coolant circuit is damaged:
- avoid any open flames or ignition source,
- disconnect the plug,
- thoroughly air the room in which the appliance is installed and
- contact an authorized technician.
Transport and Packaging
Transport the appliance
Transport the appliance, if possible, in vertical posi-tion. Otherwise, it is absolutely necessary to allow the appliance standing upright for a few hours before installation ”Prior to first use”. Protect the appliance during transport against weather influences.
NOTE:
The appliance has wheels, which make it easier for you to transport or install the appliance. Tilt the appliance slightly backwards and move it carefully.
Unpacking the appliance
- Remove the appliance from its packaging.
- Remove all packaging material, such as foils, filler and cardboard packaging.
Dispose of packaging materials that are no longer required in accordance with the locally applicable regulations. - To prevent hazards, check the appliance for any transport damage.
- In case of damage, do not put the appliance into operation. Contact your distributor.
NOTE:
Production residue or dust may have collected on the Production residue or dust may have collected on the according to chapter “Cleaning and Maintenance”.
Appliance Equipment
Appliance overview 
- On/off switch interior light
- Temperature control
- Control indication thermostat position
- Control lamp power supply
- Interior light
- Circulation fan
- Grid shelves
- Door lock
- Condenser
- Water collecting tray
- Compressor
Delivery scope
5x grid shelf, 2x key for door lock, 2x wall spacer
Installation
Conditions for the installation location
- Good ventilation is required around the appliance to dissipate the heat properly and to guarantee ef-ficient cooling operation at low power consump-tion. Enough clearance is necessary.
- Gap to the back approx. 50~70 mm, to the side walls and above the appliance each ap-prox. min. 100 mm;
- Place the appliance so that the appliance door can open without being impeded.
- Only install at a location with an ambient tempera-ture suitable for the climate class of the appliance. The climate class can be found under “Technical Data” and on the rating label located in the interior or on the appliance rear.
- Place the appliance on a steady and safe surface. If the appliance is not horizontally leveled, adjust the feet accordingly.
- Avoid the installation:
- near heaters, next to a stove, direct sunlight or any other heat sources;
- at locations with high humidity (e.g. outdoors, bathroom), as metal parts would be suscepti-ble to corrosion under such circumstances;
- near volatile or flammable materials (e.g. gas, fuel, alcohol, paint, etc.), in rooms which may have poor air circulation (e.g. garages).
- Do not expose the appliance any weather.
Leveling the appliance
Slight unevenness in the floor can be leveled out us-ing the front feet.
Check whether the appliance is leveled horizontally. If the appliance is not in balance, the feet must be adjusted.
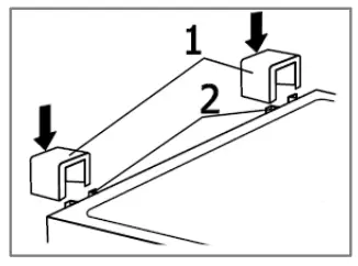
Fastening the wall spacer
For a reasonable minimum distance to the back wall, use the spacers supplied.
Insert the spacer (1) into the holders (2) on the rear of the appliance.
Electrical connection
WARNING:
- The installation to the mains supply must conform to the local standards and regulations.
- Improper connection may cause to an electric shock!
- Do not modify the appliance plug. If the plug does not fit properly to the outlet, let install a proper outlet by an authorized specialist.
- The accessibility of the power plug must be ensured to disconnect the appliance from the power supply in case of emergency.
- Make sure that the voltage supply matches the specifications on the rating label before connecting.
- Connect the mains cable to a properly installed and earthed wall outlet.
- If the plug after installation is not accessible, a corresponding disconnect device must be available to meet the relevant safety regulations.
Startup / Operation
Prior to first use
CAUTION:
After transport, the appliance should be left standing upright for four hours before connecting to the power supply. Nonobservance could lead to malfunction of the cooling system and causes an appliance break-down.
Clean the appliance interior including all accessory parts. Consider the instructions which we provide in the chapter “Cleaning and Maintenance”.
Starting the appliance
- Connect the appliance to the power supply.
- Set the operating conditions. See also the following sections.
Power supply
The illuminated green control lamp indicates that the appliance is connected to the power supply.
Settings
Setting [ 0 ] means that the appliance is in the off state. Turn the temperature control clockwise, start-ing from this setting; the appliance will turn on auto-matically.
The power levels control the different values of the internal temperature.
| Power level | |
| 1, 2 | lowest level, warmest internal temperature → approx. +8°C ∼ +10°C |
| 3 | medium level, optimal operating temperature → approx. +5°C ∼ +7°C |
| 4, 5* | highest level, coldest internal temperature → approx. 0°C ∼ +4°C |
*Beware of high setting because the maximum level may already mean “freezing point”.
Basically, the temperature changes depending on the ambient temperature (place of installation), the frequency of opening the door and the equipment.
For initial operation, first set the lowest possible internal temperature (= highest power level) until the appliance has reached the desired operating temperature. It is recommended to reset to a medium power level afterwards, then you can easily make any tem-perature correction.
Recommendation, for optimized storage a medium power level is generally best. A high power level also increases energy consumption.
Interior light
The light is switched on or off via the on/off switch.
Equipment
Note that the equipment varies depending on the appliance type.
The various shelves or drawers can be height-adjusted (partially and model-dependent) or removed for individual storage. Practical also for cleaning purposes.
NOTE:
For the most efficient use of energy, place all shelves/drawers in their original positions.
Removing / inserting the shelves
- To remove, open the unit door completely, lift the shelf, if necessary, slant slightly and pull it out to the front.

- Safely reinsert the shelf at the desired height and push it in until the stop is reached.
Door lock
The appliance has a child safety lock by means of a lockable appliance door. Lock the door if necessary and keep the enclosed keys in a safe place inacces-sible to children.
Storing
The appliance is exclusively suitable for cooling and storing drinks.
Several storage levels for inserting the grid shelves, allows individual storage. NOTE the maximum load-ing of each shelf is approx. 50 kg.
Capacity / loading:
322 Cans à 330 ml (70 x 120 mm)
154 Bottles à 500 ml (70 x 170 mm)
Store large bottles horizontally, with the opening fac-ing forward on the grid shelves.
Operating noise
| Type of sound | Cause |
| Mumbling | Compressor during its operation |
| Liquid sounds | Circulation of the refrigerant |
| Click sounds | The temperature control turns the compressor on or off |
| Disturbing noises | Vibration of the shelves or cool- ing coils |
Switching off
To switch off the appliance turn the temperature con-trol to the off state.
If the appliance is out of use for long periods:
- Remove the appliance content.
- Disconnect the appliance from the power supply.
- Defrost (model dependent) and clean the appli-ance thoroughly (see ”Cleaning and Maintenance”).
- Leave open the appliance door to avoid formation of mold and unpleased odors.
Tips for energy saving
- Disconnect the appliance from the power supply if it isn’t in use.
- Do not install the appliance near stoves, heaters or other heat sources. In case of higher ambient temperatures, the compressor will run more fre-quently and longer.
- Ensure enough ventilation at the bottom and rear side. Never block ventilation openings.
- Place all shelves, racks or drawers (depending on model) in their original position.
- Adjust the temperature not colder than necessary.
- Allow warm food to cool before placing it in the appliance.
- Open the appliance door only as necessary.
- Defrost the unit regularly (model dependent).
- Switch on the lighting only if necessary.
- The seal of the appliance door must be com-pletely intact, so that the door closes properly.
Cleaning and Maintenance
WARNING:
- Always disconnect the appliance from the power supply before cleaning and user maintenance.
- Do not use steam cleaners for cleaning the appli-ance; moisture could enter electrical components. Risk of electric shock! Hot steam could damage the plastic parts.
- The unit must be dry before restarting operation. CAUTION:
- Do not use a wire brush or other sharp, abrasive items.
- Do not use any acidic or abrasive detergents.
- Do not damage the refrigerant circuit.
Cleaning the appliance including interior
To keep dirt and germs at bay, clean the appliance regularly!
- First clear out the contents of the appliance and store it in a cool place. Remove all moving parts such as shelves or drawers.
- Clean the interior of the appliance, the exterior surfaces and the accessories with lukewarm wa-ter and a mild cleaning agent; or with a clean, damp microfiber cloth without cleaning agent.
- Clean the thaw water discharge channel / opening carefully e.g. with a pipe cleaner.
- After everything has dried thoroughly, you can put the appliance back into operation.
- Depending on the model: At least once a year, wipe off the dust that has accumulated on the rear wall of the unit and on the condenser (metal grille). Use a soft brush or a vacuum cleaner for this purpose.
Cleaning / replacing the door seal
Regularly check the seal for dirt, damage and air tightness!
Checking the seal for air tightness
- Clamp a thin piece of paper at various points for testing. The paper must be equally difficult to pull through at all points.
Cleaning the gasket
- Clean the gasket with clear water only!
- CAUTION, grease and oil makes the seal porous and brittle. Wipe up grease or oil immediately with a damp, clean cloth.
Replacing the seal
- Pay attention to how the old gasket is attached. Most gaskets are only plugged in.
- Remove the worn gasket rubber by removing it from the groove. Carefully clean the appliance door and the groove below the rubber and remove any adhesive residue.
- Attach the new rubber. If necessary, heat the rub-ber seal with a hair dryer or hot water and shape it by hand. Start pressing the gasket in one corner and then press it around the door into the groove provided for this purpose.
- Continue to check the seal regularly for dirt and damage!
Defrosting
CAUTION:
Never use metal objects (e.g. knifes) to remove ice from the evaporator. Otherwise, it can be damaged.
The appliance defrosts automatically. During defrost-ing water drops drains off at the back of the cooling chamber. The thaw water running through a channel, is collected in a drip tray located on the compressor, where it will evaporate. Make sure the water dis-charge opening does not get clogged. A light for-mation of ice on the interior back during operation is normal.
A permanently high power level can lead to in-creased ice formation → set a lower power level and wipe the interior dry.
Changing the light
CAUTION:
Do NOT remove the cover of the light. The LED light may be replaced / repaired in case of failure / defect only by an authorized specialist.
Replacing the door hinge
If the appliance door starts to stutter, crack or jam when you open it, it is probably due to a worn or damaged hinge.
It is recommended to replace all door hinges at the same time, otherwise the next repair will soon be beckoning.
- Remove the contents of the appliance and the movable interior parts.
- Tilt the appliance backwards and block it in this position to prevent the door from sliding out.

- Loosen the two screws (1) and remove the appli-ance cover (2).
- Loosen the three screws (3) and remove the up-per door hinge (4).

- Loosen the two screws (1) and remove the lower door hinge (2).
- The respective hinge assembly is carried out in reverse order.
- Open and close the appliance door for a test run, readjust the hinges if necessary. In any case, make sure that the door fits tightly and accurately.
Troubleshooting
Before you contact an authorized specialist
Problem / Cause / Action
- Check the power supply / temperature setting /ambient temperature.
- Unblock the ventilation openings, install the ap-pliance freely.
Problem / Cause / Action
Loading is too warm
- Check the temperature setting / ambient temper-ature.
- The appliance door is not closed properly, check the door seal.
Loud noise during operation
- Check that the appliance is level.
- See “Operating noise”.
Water on the appliance bottom
- Check the temperature setting / water discharge channel or opening.
Light does not work
- Check the power supply.
- See “Changing the light”.
NOTE:
If a problem persists after following the steps above, contact your trader or an authorized technician.
Technical Data
Climate class*: …………………………………………3
This appliance is intended to be used at ambient temperature of no more than 32°C and a humidity of 65%.
*32℃+/-2℃ for appliances of climate class 0,1,2,3,4,6 or 8;
43℃+/-2℃ for appliances of climate class 5 or 7
This product contains a light source of energy effi-ciency class D.
- Sound pressure level: ………….…….less than 70 dB
- Electrical connection……………………………………..
- Power voltage: …………………….220-240 V~ / 50 Hz
- Rated (defrost) power: …………………..………230 W
- Rated current: …………………………..…..……….1.7 A
- Dimension H x W x D / Weight…..……………………..
- Appliance size: ……..………….173.0 x 60.0 x 60.0 cm
- Net weight: ……………………….……approx. 65.0 kg
For more information about the product, scan the QR code on the supplied energy label and/or visit the of-ficial website of the product data bank:
https://eprel.ec.europa.eu
The right to make technical and design modifications during continuous product development remains re-served.
This appliance has been tested according to all rele-vant current CE guidelines, such as electromagnetic compatibility and low voltage directives, and has been constructed in accordance with the latest safety regulations.
Disposal
Meaning of the “Dustbin” Symbol
Protect our environment; do not dispose of electrical equipment in the domestic waste.
Please return any electrical equipment that you will no longer use to the collection points provided for their disposal.
This helps avoid the potential effects of incorrect dis-posal on the environment and human health.
This will contribute to the recycling and other forms of reutilization of electrical and electronic equipment.
Information concerning where these can be disposed of can be obtained from your local authority. Your dealer and contractual partner is also obliged to take back the old appliance free of charge.
WARNING:
Remove or disable any existing snap and bolt locks if you take the appliance out of operation or dispose it.
C. Bomann GmbH
www.bomann-germany.de
Made in P.R.C.





















