


RFDEL-76M
Universal dimmer, 6-channels
02-38/2015 Rev.4
Characteristics

Newly produced drivers work in the RFIO² data protocol mode. These drivers are loaded in the actuators in a different way than before. Among other things, it eliminates the risk of inadvertently loading another randomly occurring controller within range. Drivers can still be switched to so-called compatibility mode, and loaded in a simpler (older way). The mode in which the controllers are working is changed and indicated after 8-second pressing of the ‘Prog’ button.
The LED diode under the pushbutton is on when the button is kept pressed; after 8 seconds it indicates the chosen mode by different flashing intervals. The mode changes to the inverse mode after each pressing of the button.
- RFDEL-76M is a universal 6-channels actuator, which is used to control the brightness intensity of dimmable sources R – L – C – ESL – LED.
- The maximum possible load is 150 VA for 230 V and 75 VA for 120 V for each channel.
- The individual channels of the dimmer can be connected in parallel and thus increase the maximum output load at the expense of the number of outputs.
- Each of the output channels is individually controllable and addressable.
- By setting the min. brightness eliminates flickering of different types of light sources, setting min. brightness and type of load is done using the PROG buttons.
- Electronic overcurrent, thermal and short-circuit protection, which switches off the output.
- 6 galvanically isolated inputs for wired buttons, which can be used to control the outputs independently of the RF.
- Communication with bidirectional RFIO² protocol. The package includes an internal AN-I antenna, in case of placement of a sheet metal distribution element, you can use an external AN-E antenna to improve the signal.
Connection

Radio frequency signal penetration through various construction materials

| ![]() | ![]() | ![]() | ![]() |
| 60 – 90 % | 80 – 95 % | 20 – 60 % | 0 – 10 % | 80- 90 % |
brick walls | wooden structures with plaster boards | reinforced concrete | metal partitions | common glass |
For more information, see “Installation manual iNELS RF Control”:
http://www.elkoep.com/catalogs-and-brochures
Indication, manual control
The address listed on the front of the actuator is used for programming and controlling actuators by RF control units.
- power indication
- RF antenne
- dimmer output address
- power supply
- inputs for external control buttons
- channel status indication
- programming buttons / manual control
- outputs

- LED UOT- Indication of power supply
- LED STATUS – indicates the status of the device.
Indication of memory function – indicated after switching on the product
function on – LED flashes 3 times
function off – LED lights up 1x for a long time
Pairing indication – indicated after switching on the product and simultaneously holding down the PRG_6 button
the linked dimmer channels will flash in sequence
PROG button
Press when turning on the product
Pressing several PROG buttons at the same time – links the channels of individual outputs
Pressing and holding the PROG_1 key until all STATUS LEDs flash – clears all associated dimmer channels
Pressing the button PROG_6 – STATUS LED will display the linked channels
Pressing while the product is running
press <1s – manual control
press >1s – RF controller programming function
press >8s – delete function of all learned RF devices
4x quick press (up to 1s) – SETUP mode – sets the type of load and the minimum brightness of the given one channel
In programming and erasing mode, each time the controller button is pressed, the LED on the device lights up simultaneously for a long time – this indicates that the command has been received.
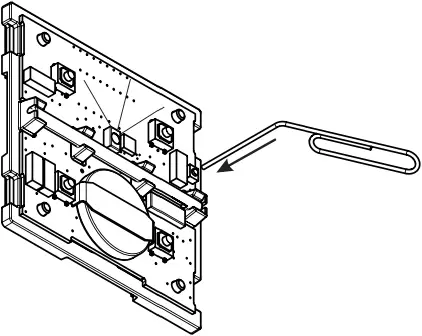
Use a suitable tool (paper clip, screwdriver) to push on the control pin. The batteries are raised and the programming button is released.
After removing the control flaps, the programming button is accessible.

The programming button is operated with a suitable thin tool.
To combine channels into groups
You press the PROG buttons at the same time for all channels to be combined into a group and connect the power supply. This will merge the selected channels into the group, which is then controlled together by the channel with the lowest number (and the lowest RF address). Other subordinate channels do not respond to separate control, their PROG button and their LED STATUS are blocked.
If you need to create more groups, we turn off the power to the product and proceed again by pressing the appropriate PROG buttons and connecting the power supply.
Each channel can only be assigned to one group. Merging channels into groups is not indicated. To check the correct settings of groups, the group indication function can be used.
Indications for groups:
You press PROG_6 and connect the power supply – gradually flashing the STATUS LEDs at all channels. For channels connected to a group, all STATUS LEDs whose channels belong to the group flash simultaneously.
To delete groups:
You press PROG_1 and connect the power supply – all groups will be deleted and all channels will be set as separate. It is indicated by the gradual flashing of all STATUS LEDs.
MODE SETUP
Switching to SETUP mode is done by a quick four-click on the programming button of the respective channel.
– The first function of SETUP mode is the choice of load type. In this mode, the output brightness automatically changes between 0% and 100%, and the LED on the device indicates the current selected type of load.
– R,C mode – four-flash
– L mode – double flash
– change the mode to the opposite one by pressing a button on any controller that is already pre-trained.
– The second function of SETUP mode is to adjust the minimum brightness. We switch to this function by briefly pressing the PROG button.
– This mode is indicated by the same LED flashing mode as the learning mode. We confirm the minimum brightness using any pre-trained controller.
– Another short press of the PROG button will exit the SETUP mode and the set load type and minimum brightness will be stored in memory.
Compatibility

The device can be combined with all system components, controls and devices of iNELS RF Control and iNELS RF Control².
The detector can be assigned an iNELS RF Control² (RFIO²) communication protocol.
Functions and programming with RF transmitters

Light scene function 1
Description of light scene 1

a) By pressing the programmed button for less than 0.5s, the light illuminates; it goes out by pressing again.
b) By pressing the programmed button for more than 0.5s, fluid brightness regulation will occur. After releasing the button, the brightness level is saved in the memory, and pressing the button shortly later will switch the light on /off to this intensity.
c) It is possible to readjust the change in intensity at any time by a long press of the programmed button.
The actuator remembers the adjusted value even after disconnecting from the power supply.
Programming
Press of programming button on actuator RFDEL-76M for 1 second will activate actuator RFDEL-76M into programming mode. LED is flashing in 1s interval.
A press of your selected button on the RF transmitter assigns the function light scene 1.
Press of programming button on actuator RFDEL-76M shorter then 1 second will finish programming mode. The LED lights up according to the pre-set memory function.
Light scene function 2
Description of light scene 2
a) By pressing the programmed button for less than 3s, the light illuminates; it goes out by pressing again.
b) In order to limit undesirable control of brightness, fluid brightness control occurs only by pressing a programmed button for over 3s. After releasing the button, the brightness level is saved in the memory, and pressing the button shortly later will switch the light on/off to this intensity.
c) It is possible to readjust the change in intensity at any time by pressing the programmed button for over 3s.
The actuator remembers the adjusted value even after disconnecting from the power supply.
Programming
Press of programming button on actuator RFDEL-76M for 1 second will activate actuator RFDEL-76M into programming mode. LED is flashing in 1s interval.
Two presses of your selected button on the RF transmitter assigns the function light scene 2 (must be a lapse of 1s between individual presses).
Press of programming button on actuator RFDEL-76M shorter then 1 second will finish programming mode. The LED lights up according to the pre-set memory function.
Light scene function 3

Description of light scene 3
a) By pressing the programmed button for less than 0.5s, the light fluidly illuminates for a period of 3s (at 100% brightness). By pressing the button shortly again, the light will continuously switch off for 3 seconds.
b) By pressing the programmed button for more than 0.5s, fluid brightness regulation will occur. After releasing the button, the brightness level is saved in the memory, and pressing the button shortly later will switch the light on /off to this intensity.
c) It is possible to readjust the change in intensity at any time by a long press of the programmed button.
The actuator remembers the adjusted value even after disconnecting from the power supply.
Programming
Press of programming button on actuator RFDEL-76M for 1 second will activate actuator RFDEL-76M into programming mode. LED is flashing in 1s interval.
Three presses of your selected button on the RF transmitter assigns the function light scene 3 (must be a lapse of 1s between individual presses).
Press of programming button on actuator RFDEL-76M shorter then 1 second will finish programming mode. The LED lights up according to the pre-set memory function.
Light scene function 4

Description of light scene 4
a) By pressing the programmed button for less than 0.5s, the light illuminates. By pressing the button shortly again, the light will continuously switch off for 3 seconds (at 100% brightness).
b) By pressing the programmed button for more than 0.5s, fluid brightness regulation will occur. After releasing the button, the brightness level is saved in the memory, and pressing the button shortly later will switch the light on /off to this intensity.
c) It is possible to readjust the change in intensity at any time by a long press of the programmed button.
The actuator remembers the adjusted value even after disconnecting from the power supply.
Programming
Press of programming button on actuator RFDEL-76M for 1 second will activate actuator RFDEL-76M into programming mode. LED is flashing in 1s intervl.
Four presses of your selected button on the RF transmitter assigns the function light scene 4 (must be a lapse of 1s between individual presses).
Press of programming button on actuator RFDEL-76M shorter then 1 second will finish programming mode. The LED lights up according to the pre-set memory function.
Function sunrise
Description of sunrise function

After pressing the programmed button, the light begins to illuminate in the programmed time interval in a range of 2 seconds to 30 minutes.
Programming
Press of programming button on actuator RFDEL-76M for 1 second will activate actuator RFDEL-76M into programming mode. LED is flashing in 1s interval.
Assignment of the sunrise function is performed by five presses of the selected button on the RF transmitter (must be a lapse of 1s between individual presses).
Press of programming button longer then 5 seconds, will activate actuator into timing mode. LED flashs 2x in each 1s interval. After releasing the button, the time of the sunrise function begins to count down (period of complete illumination of the light).

t = 2s . . . 30min.
After the desired time has elapsed, the timing mode ends by pressing the button on the RF transmitter, to which the sunrise function is assigned. This stores the set time interval into the actuator memory.
Press of programming button on actuator RFDEL-76M shorter then 1 second will finish programming mode. The LED lights up according to the pre-set memory function.
Function sunset
Description of sunset function
After pressing the programmed button, the light begins to dim in the programmed time interval in a range of 2 seconds to 30 minutes.
Programming
Press of programming button on actuator RFDEL-76M for 1 second will activate actuator RFDEL-76M into programming mode. LED is flashing in 1s interval.
Assignment of the sunset function is performed by six presses of the selected button on the RF transmitter (must be a lapse of 1s between individual presses).
Press of programming button longer then 5 seconds, will activate actuator into timing mode. LED flashs 2x in each 1s interval. After releasing the button, the time of the sunset function begins to count down (period of complete dimming of the light).

t = 2s . . . 30min.
After the desired time has elapsed, the timing mode ends by pressing the button on the RF transmitter, to which the sunset function is assigned. This stores the set time interval into the actuator memory.
Press of programming button on actuator RFDEL-76M shorter then 1 second will finish programming mode. The LED lights up according to the pre-set memory function.
Function ON/OFF
Description of ON/OFF

If the light is switched off , pressing the programmed button will switch it on. If the light is switched on, pressing the programmed button will switch it off .
Programming
Press of programming button on actuator RFDEL-76M for 1 second will activate actuator RFDEL-76M into programming mode. LED is flashing in 1s interval.
Seven presses of your selected button on the RF transmitter assigns the function ON/OFF (must be a lapse of 1s between individual presses).
Press of programming button on actuator RFDEL-76M shorter then 1 second will finish programming mode. The LED lights up according to the pre-set memory function.
Function switch off
Description of switch off

The dimmer output switches off by pressing the button.
Programming
Press of programming button on actuator RFDEL-76M for 1 second will activate actuator RFDEL-76M into programming mode. LED is flashing in 1s interval.
Eight presses of selected button on the RF transmitter assigns the function OFF (must be a lapse of 1s between individual presses).
Press of programming button on actuator RFDEL-76M shorter then 1 second will finish programming mode. The LED lights up according to the pre-set memory function.
Delete actuator
Deleting one position of the transmitter
By pressing the programming button on the actuator for 5 seconds, deletion of one transmitter activates. LED flashs 4x in each 1s interval.
Pressing the required button on the transmitter deletes it from the actuator’s memory.
To confirm deletion, the LED will confirm with a flash long and the component returns to the operating mode. The memory status is not indicated.
Deletion does not affect the pre-set memory function.
Deleting the entire memory
By pressing the programming button on the actuator for 8 seconds, deletion occurs of the actuator’s entire memory. LED flashs 4x in each 1s interval. The actuator goes into the programming mode, the LED flashes in 0.5s intervals (max. 4 min.).
You can return to the operating mode by pressing the Prog button for less than 1s. The LED lights up according to the pre-set memory function and the component returns to the operating mode.
Deletion does not affect the pre-set memory function.
Selecting the memory function
Press of programming button on receiver RFDEL-76M for 1 second will activate receiver RFDEL-76M into programming mode. LED is flashing in 1s interval.
Pressing the programming button on the RFDEL-76M receiver for less than 1 second will finish the programming mode, this will reverse the memory function. The LED lights up according to the current pre-set memory function. The set memory function is saved.
Every other change is made in the same way.
- Memory function on:
– For functions 1-4, 7, 8, used to store the last state of the relay output before a power supply failure, changing the state of the output relay is written to the memory 15s after the change is made.
– For function 5-6, the target state of the output relay is instantly written to the memory after the timing of the delay had been entered, after the power supply is reconnected, the output relay is set to the target state. - Memory function off:
When the power supply is reconnected, the output remains off.
– A short press of the button (< 0.5s) turns on (to the stored level) / turns off the light.
– A long press (> 0.5s) enables continuous regulation of the light intensity. The brightness level is saved on release long press of the button.
– Control with an external button behaves the same as control with an RF device.
– The function for the external “wired” button is assigned in the same way as for the wireless button. This means by pressing the programming button of the relevant channel and the appropriate number of presses of the control button. Inputs for external buttons are not hardwired to output channels. Each external button can be assigned to any channel or multiple channels.
Additional information
Incorrect setting of the type of light source affects the extent and dimming (but no damage to the dimmer or load).
Incorrect setting of the type of load can cause overheating of dimmer.
Do not try to use energy saving bulbs that are not labeled as dimmable!
Do not combine several types of light sources on the same dimmer output!
Maximum number of light sources depends on their internal structure.
List of tested light sources see Table on www.elkoep.com/products/inels-rf-control-wireless-control/dimmers/universal-dimmer-RFDEL-76M-8501.
Technical parameters
| Power voltage: | AC 230 V | AC 120 V |
| Supply voltage frequency: | 50 Hz, 60 Hz | |
| Power indication: | green LED Un | |
| Supply voltage tolerance: | +10/ -15 % | |
| Output | ||
| Output: | 12x MOSFET tranzistor | |
| Load type*: | R – resistive, L – inductive, C – capacitive, ESL – economical, LED | |
| Minimum output power: | 10 VA | |
| Max. output power/channel: | 150 VA | 75 VA |
| Option to connect outputs: | Yes | |
| Maximum performance when connected of all outputs: | max. 900 VA | max. 450 VA |
| Output protection: | thermal/short-term overload/long-term overload/short circuit | |
| Indication of outputs: | red LED STATUS | |
| Control | ||
| Wired buttons: | potential “L” or external voltage | |
| Wirelessly: | up to 32 channels (iNELS RF buttons) | |
| Communication protocol: | RFIO² | |
| Repeater function: | Yes | |
| Range: | in open space up to 160 m | |
| RF Antenna: | AN-I part of the package | |
| More information | ||
| Operating temperature: | -20 až + 50 °C | |
| Storage temperature: | -30 až +70 °C | |
| Cover: | IP20 under normal conditions | |
| Surge category: | II. | |
| Degree of pollution: | 2 | |
| Cross-section of connected wires: | max. 2.5mm | |
| Working position: | vertical with socket 2/1.5 mm² | |
| Installation: | into the DIN rail switchboard EN 60715 | |
| Dimension: | 90 x 105 x 65 mm | |
| Mass: | 320 g | |
| Related standards: | ČSN ETSI EN 301489-3ČSN EN 63044-1 | |
Attention:
* it is not allowed to connect inductive and capacitive loads to the same channel at the same time.
When you instal iNELS RF Control system, you have to keep minimal distance 1 cm between each units.
Between the individual commands must be an interval of at least 1s.
Warning
Instruction manual is designated for mounting and also for user of the device. It is always a part of its packing. Installation and connection can be carried out only by a person with adequate professional qualification upon understanding this instruction manual and functions of the device, and while observing all valid regulations. Trouble-free function of the device also depends on transportation, storing and handling. In case you notice any sign of damage, deformation, malfunction or missing part, do not install this device and return it to its seller. It is necessary to treat this product and its parts as electronic waste after its lifetime is terminated. Before starting installation, make sure that all wires, connected parts or terminals are de-energized. While mounting and servicing observe safety regulations, norms, directives and professional, and export regulations for working with electrical devices. Do not touch parts of the device that are energized – life threat. Due to transmissivity of RF signal, observe correct location of RF components in a building where the installation is taking place. RF Control is designated only for mounting in interiors. Devices are not designated for installation into exteriors and humid spaces. The must not be installed into metal switchboards and into plastic switchboards with metal door – transmissivity of RF signal is then impossible. RF Control is not recommended for pulleys etc. – radiofrequency signal can be shielded by an obstruction, interfered, battery of the transceiver can get flat etc. and thus disable remote control.
ELKO EP declares that the RDEL-76M type of equipment complies with Directives 2014/53/EU, 2011/65/EU, 2015/863/EU and 2014/35/EU. The full EU Declaration of Conformity is at: https://www.elkoep.com/six-channel-universal-dimmer-rfdel-76m
ELKO EP, s.r.o., Palackého 493, 769 01 Holešov, Všetuly, Czech Republic
Tel.: +420 573 514 211, e-mail: [email protected], www.elkoep.com

Made in Czech Republic
ELKO EP, s.r.o. | Palackého 493 | 769 01 Holešov, Všetuly | Česká republika | e-mail: [email protected]
Support: +420 778 427 366 | Technická podpora: +420 775 444 609
www.elkoep.com
References
ELKO EP - Global relay manufacturer • ELKO EP
Catalogs and brochures • ELKO EP
Products • ELKO EP
ELKO EP - Výrobce elektronických přístrojů • ELKO EP s.r.o
Produkty • ELKO EP s.r.o
Universal dimmer, 6-channels RFDEL-76M • ELKO EP
Katalogy • ELKO EP s.r.o
Univerzální stmívač, 6-kanálový RFDEL-76M • ELKO EP s.r.o





Light scene function 2


















