38.26Va.1 Ceiling Lamp
Instruction Manual
38.26Va.1 Ceiling Lamp

| PENDANTS: | twenty-six |
| MOUNTING: | black powder coated stainless steel canopy 250mm (9.8”) in diameter x 40mm (1.6”) deep |
| LAMPING: | 1.5w LED (39w total draw) |
| EXTENDER: | available in 150mm (5.9”), 250mm (9.8”) / 500mm (19.7”) / 1200mm (47 .2”) / 750mm (29.5) (attached with 2 pendants). Up to 2.5m (98”) drop. |
| MATERIALS: | blown glass, black powder coated stainless steel armature, electrical components, black powder coated canopy |
| WEIGHT: | approximately 111.6kg (246lb) |
| POWER SUPPLIES: | Integral |
DESCRIPTION
A steel armature system in a black powder coated fi nish allows pre-composed branches to be easily connected to a series of hubs during installation.
38V is a variant of the original 38 series where a large glass sphere is blown with a multitude of haphazard interior cavities, which intersect and collide in unpredictable ways. 38V is smaller, lighter and suspended with coaxial cables.
The interior cavities can be fi lled with plants or left empty..
Standard 38V are made with clear glass exterior spheres and milk white interior lamp holder cavities.
NOTES
- Purchase replacement lamps online at www.bocci.com/shop/bulbs
- Power supplies can be mounted remotely in an easily accessible and hidden location for ease of long-term maintenance.
- The fi xture can be leveled with aircraft cable and swag hooks (provided).
- The fi xture is not designed for standard ceiling octagonal junction box.
DO NOT install fi xture directly to the junction box. - To maintain your fi xture, please regularly dust with a lint-free cloth. If further cleaning is required, dampen a lint-free cloth with water only and wipe gently
to remove dust or debris.

- Feed the canopy connector wires through the slots on the canopy bracket. Attach canopy connector to the canopy bracket with a single screw, just to hold it in place.

- Measure and mark fi xture location on the ceiling. Ensure the ceiling in this location has adequate structural support for the canopy bracket. Wood backing at least 3/4” (19mm) thick is recommended.
Feed the Live and Neutral wires through slots on the canopy bracket.
Anchor the canopy bracket to the wood/support structure and ensure that the bracket fasteners (provided) are engaged.
Note: If you are using different screws please make sure they are able to support 36kg/80lb in traction and are engaged to at least 25mm (1”) in the substrate.
Junction box screw holes on the canopy bracket are for attachment NOT for support.
- Thread the hub to the extender and secure with set screw (provided).
Do not remove protective material before completion.
Note: If the system does not require an extender, then thread the hub onto the canopy connector and secure with set screw.
Pass the canopy cover through the extender (or the hub if no extender is used).
- Check the orientation of the fixture.
Please reference the drawing on the first age of this document for a visual guide.
Loosen the screw on the canopy connector and rotate to the desired position.
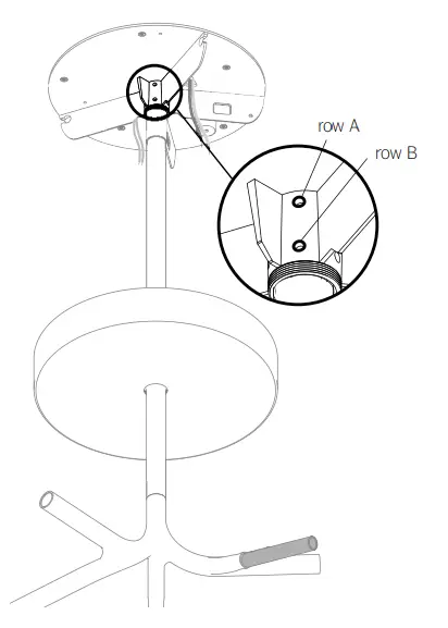
There are two rows of screws around the circumference of the bracket (5 screws in each row).
i. Tighten row A (refer to picture). These must be tightened evenly so that all set screws are equally engaged. Tightening one side more than another will lead to an off center result.
ii. Tighten row B in the same manner (refer to picture).
- i. Attach the driver to the canopy bracket.
ii. Feed the AC input and DC output wires through the openings on the canopy bracket.
iii. Connect the positive and negative wires from the canopy connector to the low voltage secondary driver wires.
iv. Connect supply wires to primary input wires of driver. Ensure ‘Live’ & ‘Neutral’ wires are respected. (Ensure that line voltage is not active during this part of the installation).
v. Thread the canopy cover onto the canopy bracket and turn power to fixture on.
- Begin assembling the branches.
Attach the branch and tighten with a set screw (provided). Attach 2nd branch (if applicable) opposite to the fi rst branch so the system is balanced during installation. Repeat steps as necessary.
- Remove the metal tubes at the end of each branch by unscrewing the set screw. Insert provided LED into socket. Check that each lamp is working properly as you go along by keeping the power on.
Insert pendant holder onto socket and secure with set screws (provided).
- Thread the pendant onto the pendant holder and secure with set screw.
Be sure to carefully place the pendant so as not to damage the LED during installation.
Note: If the fi xture sags or seems unbalanced use swag hooks to add additional support.
IMPORTANT: For installations with drywall ceilings, it’s recommended to back the ceiling with 5/8” plywood to anchor the supplied swag hooks if needed. Without backing, swag hooks will need to be set into a stud or other structural substrates.
Locate the pendant you want to swag and replace one of the set screw on the pendant holder with the swag set screw provided.
Position the pendant holder with the set screw facing upwards.
- Thread the ball end of the aircraft through the set screw. The ball end of the aircraft should sit nicely inside the set screw.
Locate a swag hook directly above the set screw. Using the screws provided, fasten it into the ceiling.
Pass the aircraft cable through the small hole on the bottom of the swag hook and thread it through until it emerges from the top parallel to the ceiling. Pull until tight, and tighten set screw on side.
- Once all swag hooks are installed, adjust the swag hook lengths, if necessary.
Trim excess aircraft cable and clean fi ngerprints from surfaces.
For additional assistance, please contact Bocci: [email protected] www.bocci.com
[email protected]
www.bocci.com
EU Patent # 002071019-001
Made in Vancouver, Canada
© 2021, Bocci Design and Manufacturing Inc. All rights reserved. Any inquiries should be directed to: [email protected]
























