Stealth Products Cane Clamps, Buckles Covers and Retractable Seat Belts Instruction Manual
Accessories
Intended Use
The Stealth Positioning™ line of pelvic belts, vests, chest straps and foot positioners are intended to help wheelchair users attain proper alignment of the torso, pelvis and feet. Comfort, stability and improved clinical posture are achieved through the use of breathable material and structured support.
Installation and Use
Stealth Positioning™ Retractable Seat Belts

Step 1: Take the seat belt receptacle and one of the included hardware packages. Remove the M8 screw from the package and thread the other components on it in the following order: 5/16” washer, seat belt receptacle, M12 washer, spacer, 5/16” washer and the M8 T-nut. Note: The M12 washer has a larger hole to allow the spacer to slide inside of it.
Step 2: Slide the seat belt receptacle assembly to the desired position in the track located on the side of the seat.
Step 3: Tighten the M8 screw in the receptacle assembly to secure it in the desired position.

Step 1: Take the seat belt receiver and one of the included hardware packages. Remove the M8 screw from the package and thread the other components on it in the following order: 5/16” washer, seat belt receiver, M12 washer, spacer, 5/16” washer and the M8 T-nut. Note: The M12 washer has a larger hole to allow the spacer to slide inside of it.
Step 2: Slide the seat belt receiver assembly to the desired position in the track located on the side of the seat.
Step 3: Tighten the M8 screw in the receiver assembly to secure it in the desired position.
Stealth Positioning™ Cane Clamps
In some clinical situations, it becomes necessary to mount support belts and harnesses at non-standard angles or in alternative locations.
- Screw
- Belt Flat Mount
- Cane Clamp
- Cane Clamp Insert
Cane Clamps provide
- a means to uitlize existing canes on your chair as mounting points for your support devices without damage to the cane;
- a durable solution that can be adapted more closely to the user’s unique postural needs; and,
- the flexibility to adjust the position of the support product as the user’s needs evolve.
Stealth Positioning™ Buckle Covers
Buckle Covers provide increased security in situations where accidental release of positioning belts may pose a hazard to the user. The cover slips into place over the buckle and requires the use of a pen or similar-sized probe to activate the release button. Buckle Covers provide
- a simple and practical solution to accidental release of posture support buckles due to unintended impingement of the release button; and,
- enhanced peace of mind for support product users and their attendants.
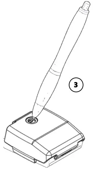
Step 1: Slide the cover into place over the existing buckle.
Step 2: The cover will snap into place and will retain its position on the buckle. The buckle will operate as normal with the cover in place
Step 3: Use a pen or similar probe to release the buckle.
We recommend that all products be examined on a regular basis for wear and function. Check the stitching on the webbing for stress or damage. If loose, frayed or broken parts are discovered, discontinue use and contact your provider. Repairs should only be performed by a wheelchair service professional and with genuine Stealth Products parts, fasteners or items appropriate for the service required.
Surfaces may be cleaned with a damp cloth and a mild, non-abrasive cleaner. Ensure all cleaners are approved for finished steel, aluminum, plastic and upholstered surfaces. Vests and straps that are removable and DO NOT contain metal components may be machine washed warm (40°C), permanent press cycle, mild process.
DO NOT bleach. DO NOT tumble dry. Dry flat. DO NOT iron
Important
Never use a chest harness without a positioning belt. Positioning belts and supports should only be used to help support the user’s posture. The belts, posture supports and straps must be snug, but must not interfere with the user’s breathing. Check to make sure the user cannot slide down in the seating system, as they may suffer chest compression and may suffocate due to pressure from the belts or harnesses. A seat with angle or built-in contours may help prevent the user from sliding in the seat. Due to the possibility of a user sliding while in-chair, unsupervised use of anterior thoracic support devices could pose a serious choking hazard. Continually ensure that the user is sitting upright and that the thoracic support device does not obstruct the user’s breathing in any way.
These devices do not conform to ANSI/RESNA WC20 or SAE J2249 and are not designed or approved to provide restraint or protection in the event of a crash. Wheelchair users should transfer to a vehicle seat and use the vehicle seat belt system or a child safety seat that complies with federal safety standards. The wheelchair should then be stored and secured in the vehicle. Children weighing less than 48 lbs. must always transfer to an approved child safety seat.
Before you install or begin using any product from Stealth Products’ Stealth Positioning™ line, it is important that you read and understand the content of these installation and operating instructions. Product misuse due to failure to adhere to instructions and warnings in this document will void your warranty and may result in property damage, injury or death. Always keep the operating instructions in a safe place so they may be referenced as necessary. If this document contains information you do not understand or if there are concerns about safety or operation, contact your provider.
All information, pictures, illustrations and specifications are based on the product information available at the time of printing, and are representative examples. They are not intended to be exact descriptions of the various parts of the product. Instructions are written with the expressed intent of use with standard configurations. They also contain important safety and maintenance information. For assistance with advanced configurations or options, contact your provider or Stealth Products at (512) 715-9995 or toll free at (800) 965-9229.
Immediately discontinue use if any function is compromised, if parts are missing or loose or if any component shows signs of excessive wear. Consult with your provider for repair, adjustment or replacement. You can download additional copies of this manual by visiting https://stlpro.site/stealthdocs/ and searching for “Stealth Positioning” in the document manager.
Warranty
Our products are designed, manufactured, and produced to the highest of standards. If any defect in material or workmanship is found, Stealth Products will repair or replace the product at our discretion. Any implied warranty, including the implied warranties of merchantability and fitness for a particular purpose, shall not extend beyond the duration of this warranty. Stealth Products, LLC does not warrant damage due to, but not limited to, misuse, abuse, or misapplication of products and modification of product without written approval from Stealth Products, LLC.
Any alteration or lack of serial number, where applicable, will automatically void this warranty. Stealth Products, LLC is liable for replacement parts only. Stealth Products, LLC is not liable for any incurred labor costs. No person is authorized to alter, extend, or waive the warranties of Stealth Products, LLC.
To learn more about our warranty and returns policy, please visit https://stlpro.site/returns-n-warranty.
About Us
Stealth Products is committed to 100% customer satisfaction. Your complete satisfaction is important to us. Please contact us with suggestions or feedback to help us improve the quality and usability of our products.
You may reach us at:

Stealth Products, LLC
104 John Kelly Drive,
Burnet, TX 78611
Phone: (512) 715-9995 Toll Free: (800) 965-9229
Fax: (512) 715-9954 Toll Free: (800) 806-1225
[email protected] – www.stealthproducts.com
MDSS GmbH
Schiffgraben 41
30175 Hannover, Germany
SODIMED SA
Chemin Praz Devant 12
1032 Romanel sur-Lausanne, Switzerland
UK Authorized Representative
MDSS-UK RP
6 Wilmslow Road, Rusholme
Manchester M14 5TP, United Kingdom


















