
3 DRAWER ROLLCAB & UTILITY SEAT
MODEL NO: AP556CSHV
AP556CSHV 3 Drawer Rollcab and Utility Seat
Thank you for purchasing a Sealey product. Manufactured to a high standard, this product will, if used according to these instructions, and properly maintained, give you years of trouble free performance.
IMPORTANT: PLEASE READ THESE INSTRUCTIONS CAREFULLY. NOTE THE SAFE OPERATIONAL REQUIREMENTS, WARNINGS & CAUTIONS. USE THE PRODUCT CORRECTLY AND WITH CARE FOR THE PURPOSE FOR WHICH IT IS INTENDED. FAILURE TO DO SO MAY CAUSE DAMAGE AND/OR PERSONAL INJURY AND WILL INVALIDATE THE WARRANTY. KEEP THESE INSTRUCTIONS SAFE FOR FUTURE USE.
![]()
Refer to instruction manual
SAFETY
‰ WARNING! Ensure Health & Safety, local authority, and general workshop practice regulations are adhered to when using this product.
Always load evenly with the centre of gravity of the load as near centre as possible.
Keep the work area clean, uncluttered and ensure there is adequate lighting.
Keep the product clean and tidy in accordance with good workshop practice.
Use the wheel locks to prevent from inadvertently moving.
Keep children and unauthorised persons away from the work area.
Lock drawers and doors before moving.
DO NOT overload.
DO NOT use the for any purpose other than that for which it is designed.
DO NOT open more than one drawer at a time – unit may become unstable if multiple loaded drawers are open.
DO NOT stand on the product, use it as a ladder or allow others to ride on the trolley.
DO NOT leave unattended, especially when loaded, unless the wheels are locked, chocked or otherwise secured.
DO NOT use on uneven ground and do not run over curbs or steps – use a ramp.
DO NOT use if any part is significantly damaged, paying particular attention to the wheels.
NOTE! Lubricate top and bottom channels of drawer slides at least twice a year,
NOTE! The assembly will require assistance.
INTRODUCTION
Constructed from heavy gauged steel with steel inner walls for extra strength and durability. Heavy-duty 45mm ball-bearing drawer slides provide superior performance and carry heavier loads. Fitted with Ø125mm castors with black chrome hubcaps, two swivel locking castors and two fixed. Rollcab design features two lockable side cabinets with pegboard and storage tray in each. Also supplied with 6mm EVA top mat and 2mm EVA drawer liners in each drawer. In-built storage for a three drawer utility toolbox seat with 30mm cushion. The utility seat has two locking castors and two swivel. Both have a rust and solvent resistant tough industrial powder coat paint finish. Supplied with two keys for main rollcab and two keys for utility seat.
SPECIFICATION
Model No: …………………………………………………AP556CSHV
(W x D x H) Overall size: …………………….679 x 461 x 986mm
Small Drawer (x2): ………………………………556 x 392 x 68mm
Large Drawer (x1): …………………………….556 x 392 x 147mm
Utility Seat Drawer (x3): ……………………….278 x 348 x 95mm
Side Cabinets (x2): ……………………………..86 x 430 x 350mm
CONTENTS
See table alongside

| Item | Description | Quantity | Remark |
| 1 | Bolt M4x3Omm | 6 | For handle |
| 2 | Washer | 6 | For handle |
| 3 | Handle | 3 | |
| 4 | Bolt M6x16mm (black) | 6 | 4 for side handle & 2 for slider |
| 5 | Side handle | 1 | |
| 6 | Bolt M8x2Omm | 16 | For 5″x2″ castor |
| 7 | 5″x2″ swivel castor w/brake | 2 | |
| 8 | 5″x2″ fixed castor | 2 | |
| 9 | Screw M6x12mm | 4 | For slider |
| 10 | Slider | 2 | |
| 11 | Bolt M6x16mm | 16 | For 3″x1″ castor |
| 12 | 3″xl” swivel castor w/brake | 2 | |
| 13 | 3″xl” swivel castor | 2 | |
| 14 | Bolt M8x35mm | 4 | For bearing |
| 15 | Washer | 4 | For bearing |
| 16 | Bearing | 4 |
ASSEMBLY

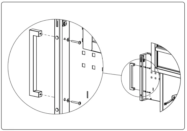
Fit handles to doors, use M4x30mm screws
Fit rollcab castors (5”x2”). Attach with M8x20mm screws. Tighten with spanner.
Fit seat handle, use M4x30mm screws.
Bearing Installation
Position the bearing over the holes on side panel. Attach with 2 bolts (M8 x 35mm) and washers and tighten with hex key.
Repeat this process on the opposite side of the seat.
Fit side handle at swivelling castor end. Attach with 4 M6x16mm screws, tighten with hex key.

Position slider up to holes on inside panel. Attach with M6x12mm screws, tighten with screwdriver and hex key.

Fit seat castors (3”x1”) use M6x16mm bolts.

Remove and replace drawers.
Pull drawer out. Press left tab and lift up right tab. Pull drawer off slides. To reinstall, realign with the internal drawer slide and push in until locked in place.
MAINTENANCE
6.1. Periodically lubricate wheels and axles. Tighten all fixings.
6.2. Lubricate drawer slides every six months.
6.3. Keep all surfaces clean. Brush off and wipe down with a damp cloth and mild detergent to maintain the finish.
6.4. Stubborn grease and oil marks can be removed by using a non abrasive cleaner.
Parts support is available for this product.
www.sealey.co.uk, email [email protected] or telephone 01284 757500
ENVIRONMENT PROTECTION
Recycle unwanted materials instead of disposing of them as waste. All tools, accessories and packaging should be sorted, taken to a recycling centre and disposed of in a manner which is compatible with the environment. When the product becomes completely unserviceable and requires disposal, drain any fluids (if applicable) into approved containers and dispose of the product and fluids according to local regulations.
Note: It is our policy to continually improve products and as such we reserve the right to alter data, specifications and component parts without prior notice.
Important: No Liability is accepted for incorrect use of this product.
Warranty: Guarantee is 12 months from purchase date, proof of which is required for any claim.
Sealey Group, Kempson Way, Suffolk Business Park, Bury St Edmunds, Suffolk. IP32 7AR
01284 757500
01284 703534
[email protected]
www.sealey.co.uk


















