JBC CS-F Compact Desoldering Station with Electric Pump Instruction Manual
Packing List
The following items are included:
- CSV Control Unit ……… 1 unit
Ref. CSV-1F (120V)
CSV-2F (230V)
CSV-9F (100V)
- Micro Desoldering Iron …………………………….. 1 unit
Ref. DS360-A
C360004 already inserted
- Power Cord …………………1 unit
Ref. 0023715 (120V)
0023714 (230V)
0024092 (100V)
- Sponge …………………… 1 unit
Ref. S0354
- Brass Wool ……………….1 unit
Ref. CL6210
- DS360-A Accessories
Ref. 0010259- Tips …………………….. 10 units
Ref. C360002 (x5)
C360004 (x5)
- Union Flanges ……… 2 units
Ref. 0011356
- Filter ……………………… 2 units
Ref. 0008473
- Cleaning Brush ……… 1 unit
Ref. 0008297
- Solder Collector ….. 2 units
Ref. 0008467
- Cleaning Rods ………….. 1 unit
Ref. 0008466
- Tips …………………….. 10 units
- Electric Desoldering Module ………………………. 1 unit
Ref. MS-A
- Filter Box …………………… 1 unit
Ref. 0005966
It contains 50 filters
- Cotton Filter ………………. 1 unit
Ref. 0781046
It contains 10 filters
- Suction Filter ……………. 1 unit
Ref. 0821830
- Module Cable …………. 1 unit
Ref. 0010207
- Manual ……………………. 1 unit
Ref. 0026123
Features and Connections


Adjustable Stand
Adjust the tool stand to suit your work position.
Cable Collector (Ref. CC1001)
The Cable Collector keeps the cable away from the work area and prevents that the weight of the cable from disturbing the operator while soldering.
- Insert the cable into the clip and then insert into the Cable Collector. Do not leave the cable longer than necessary to reach the work area freely.

- The Cable Collector is flexible. It accompanies and adapts to the movements during the soldering process.

Tip Cleaner
Select the option to suit your needs and improve the thermal transfer of the tip.
- Splashguard
Ref. 0017576
It prevents splashing of solder particles when using the brass wool. - Antisplash Membrane
Ref. 0017574
Prevents splashing to maintain the work area clean.
- Brass Wool
Ref. CL6210
Very effective cleaning method. Leaves a small layer of solder on the tip preventing oxidation between cleaning and rewetting
- Wiper
Ref. CL0160
A temperature resistant receptacle for removing excess solder by gently tapping or wiping.
Removing the Splashguard
- Unlock the splashguard.

- Lift off.

More cleaning options (not supplied):
- Inox Wool
Ref. CL6205
Stronger cleaning method than brass wool.
- Metal Brush
Ref. CL6220
When used carefully, it provides a more thorough cleaning.
- Wiper
Ref. CL0160- Tapping:
Tap gently to remove excess solder.
- Wiping:
Use the slots to remove remaining particles.
- Tapping:
- Sponge
Ref. S0354
The softest cleaning method. Keep the sponge damp with distilled water when working to avoid tip wear.
Tips Care
To prevent tip oxidation cover tip with solder tin when not in use.
Note: Do not press the vacuum pump button while tinning the desoldering tip, as the fumes given off by the flux would quickly block the ducts and the air filter.
Changing Tips
Note: This operation should be done while the tip is hot and at a minimum temperature of 250°C, so that any tin left inside is still molten.
- To remove the tip, use a pair of flat-nosed pliers, twist the tip and pull.

- To fasten the tip, do not hold it on the spring clamp. Place the pliers directly in front of the spring.

Cleaning Tips
The tip hole should be periodically cleaned.
Note: Let the tool cool down before performing this operation.
Choose the cleaning rod diameter according to the tip size. Put the rod at the tip, gently move it back and forth while turning it slightly.
Compatible Tips
This station works with C360 tips and DS360 iron. Find the model that best suits your needs in www.jbctools.com
Through-Hole Desoldering Tips
- C360-001
ØA= 1 mm (0.04 in)
ØB= 0,6 mm (0.02 in)
Ømax. pin= 0,4 mm (0.02 in)
- C360-002
ØA= 1,2 mm (0.05 in)
ØB= 0,8 mm (0.03 in)
Ømax. pin= 0,6 mm (0.02 in)
- C360-003
ØA= 1,4 mm (0.06 in)
ØB= 1 mm (0.04 in)
Ømax. pin= 0,8 mm (0.03 in)
- C360-004
ØA= 1,6 mm (0.06 in)
ØB= 1,2 mm (0.05 in)
Ømax. pin= 1 mm (0.04 in)
- C360-007
ØA= 1,9 mm (0.08 in)
ØB= 1,4 mm (0.06 in)
Ømax. pin= 1,2 mm (0.05 in)
- C360-006
ØA= 3 mm (0.12 in)
ØB= 1,5 mm (0.06 in)
Ømax. pin= 1,3 mm (0.05 in)
Pad Cleaning Tips
- C360-011
ØA= 1 mm (0.04 in)
ØB= 0,6 mm (0.02 in)
- C360-012
ØA= 1,3 mm (0.05 in)
ØB= 0,8 mm (0.03 in)
- C360-013
ØA= 1,4 mm (0.06 in)
ØB= 1 mm (0.04 in)
- C360-014
ØA= 1,6 mm (0.06 in)
ØB= 1,2 mm (0.05 in)
Desoldering Process
When desoldering, use a tip with a diameter larger than the pad being desoldered. This will achieve maximum suction and thermal efficiency.
- Apply the tip so that it fits over the component terminal.

- When the solder liquefies, gently rotate the tip so that the terminal can be lifted off.

- Then press the vacuum pump button long enough to suck up the solder.

The vacuum pump will continue to run for a few seconds. This makes sure that the vacuum circuit is completely empty. If there are any solder remains left on a terminal, just resolder it with fresh solder and repeat the desoldering operation.
Desoldering Iron Maintenance
Note: For the following operations, turn off the station or disconnect the tool and wait until the tool temperature drops to room temperature.
Changing Heating Element
- Remove the filter before changing the heating element.

- Remove the fixing screw and take out the heating element.

- Insert the new heating element into the tool.

- Tighten the fixing screw and insert the filter.

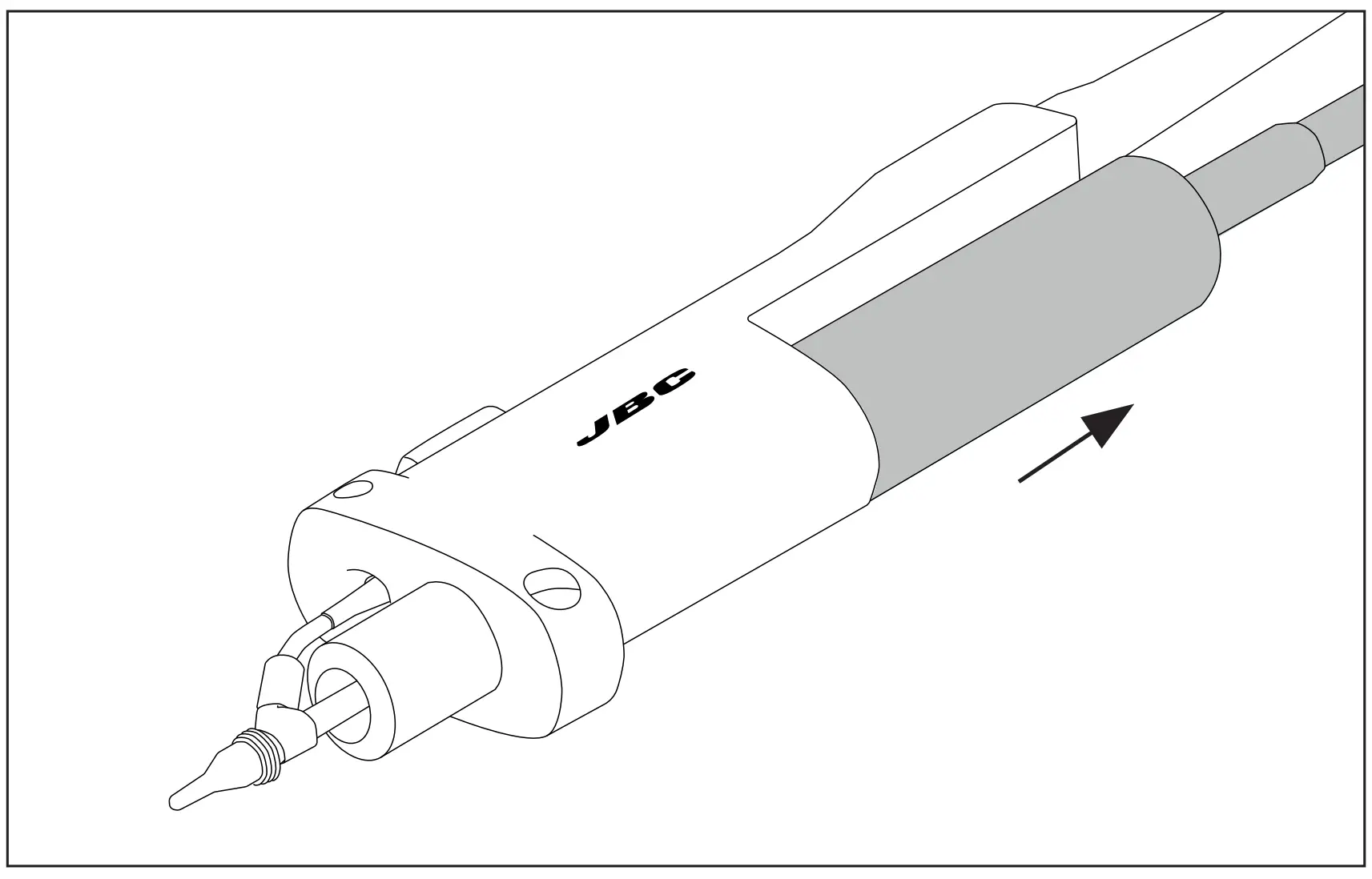
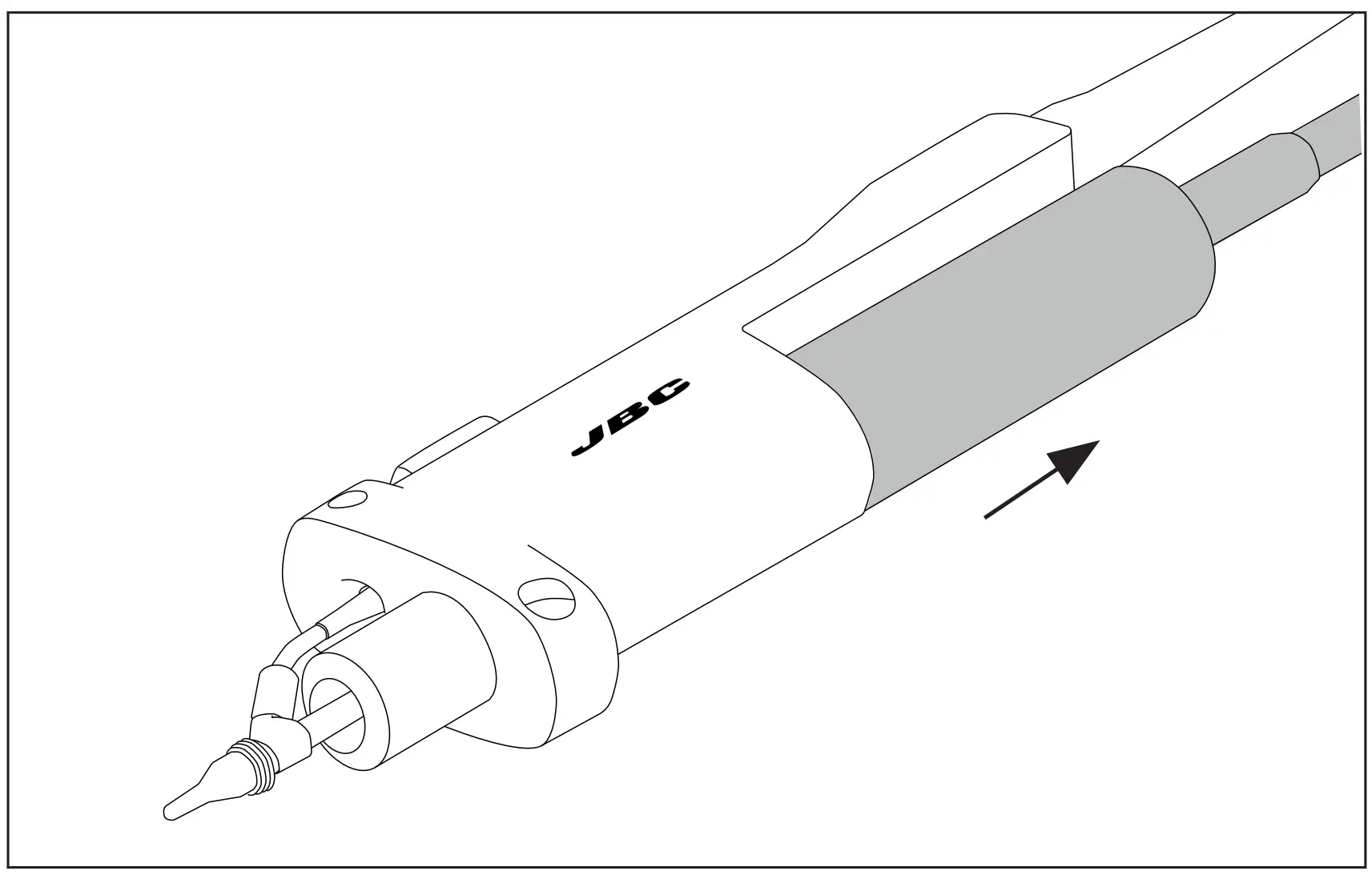
Changing Iron Filter
- Remove the tube from the filter.

- Remove the filter form the tool.

- Insert a new filter (ref. 0008473) into the tool and mount the tube onto the filter.

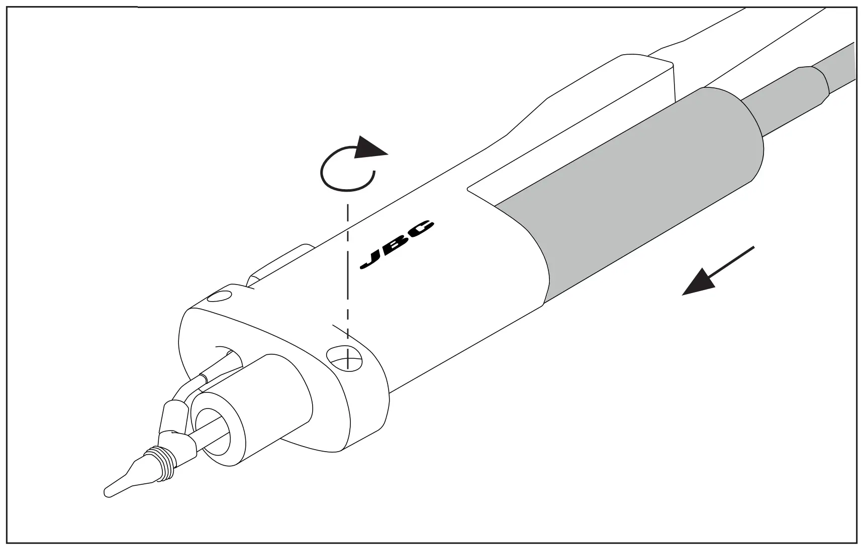
Cleaning Solder Collector
Note: For this operations, turn off the station or disconnect the tool and wait until the tool temperature drops to room temperature.
- Remove the filter before cleaning the solder collector.

- Take out the solder collector with the metal solder retention.

- Use the cleaning brush (ref. 0008297) to clean the solder collector inside or replace it for a new one.

- Insert the solder collector with the metal solder retention into the heating element.

- Mount the filter onto the tool.

Electric Desoldering Module
Note: Before carrying out maintenance, always unplug the equipment.
If there is loss of suction, check that there is no obstruction in the tool (tip, heating element, tool filter), tube or suction filters
Changing Pump Filters
Periodically check the filters and replace them if they are yellowish.
Note: Do not use sharp pointed objects to open the suction filter.
Operation
The JBC Most Efficient Soldering System
This revolutionary technology is able to recover tip temperature extremely quickly. This allows the user to work at a lower temperature. As a result, tip life increases up to 5.
- Work
When the tool is lifted from the stand the tip will heat up to the selected temperature.
Change temperature (from 90 to 450ºC)
Steps ± 5
Steps ± 50
Through menu settings:- Select temperature levels
- Fix one temperature

- Sleep
When the tool is in the stand, the temperature falls to the preset sleep temperature.
Through menu settings:- Change Sleep temperature
- Set Sleep delay (from 0 to 9 min or no Sleep)

- Hibernation
After longer periods of inactivity, the power is cut off and the tool cools down to room temperature.
Through menu settings:- Change Hibernation delay (from 0 to 35 min)

- Change Hibernation delay (from 0 to 35 min)
Control Process
Work Screen

Menu Screen

Troubleshooting
Station troubleshooting available on the product page at www.jbctools.com
Parameters
Be careful when using these parameters as they may reduce the tip life if not used properly. Please follow the recommended guidelines:
Station Settings
| Parameter Description | Recommendations | Warnings |
| Temperature Unit Celsius (ºC) or Fahrenheit (ºF) | N/a | |
| Maximum Temperature Set the maximum temperature to work with. Max. temp by default is 400°C (750°F). This is considered high enough to work with most lead-free applications. | The station temperature range is 90-450ºC (190-840ºF). Change the temperature limits when working with less common applications such as low / high melting point soldering (HMP) or plastics (e. g. riveting). | |
Minimum Temperature Set the minimum temperature to work with. Min. temp. by default is 200ºC (392ºF). This is considered to be a proper starting point for leaded applications. | ||
Metronome This activates a beep sound. Frequencies vary from 1 to 50 seconds. | Useful for setting a work rate in repetitive jobs. The beep lets you know the length of time the tip must be in contact with the soldering joint. | N/a |
| Beep Enable/disable the beep sound of the keypad. | N/a | N/a |
QST Enable/disable QST. | N/a | N/a |
| Pin Enable/disable pin prompt. | N/a | N/a |
Change Pin Change the default security PIN number (0105). | The PIN must be entered every time a parameter is changed. | N/a |
| Fix One Temperature Fix a value within the temperature range of the station (90-450ºC/190-840ºF). | Ideal for soldering more than one component at a specific temperature. The station will reject any attempt to change the temperature. | N/a |
Temperature Levels Set Similar to “Fix one temp” parameter. In this case, the user can set up to 3 values for different power requirements. | This allows a quick change between 3 different temperatures. Set them according to the allowed values for your soldering applications. | N/a |
| Sleep Delay Set the time that the tool will remain at the selected temperature when in the stand before entering sleep mode. The tip temperature will then drop to the Sleep temperature. | Because our tools reach the working temperature from the deafult Sleep mode in only a few seconds, this parameter is preset to 0 min. Once the tool is returned to the stand the temperature will automatically drop to the sleep temperature, extending tip life and avoiding oxidation. Retinning the tip before placing the tool in the stand will protect the tip and extend its life. | |
| Sleep Temperature This is the set temperature the tip reaches when returned to the stand. | The sleep temperatures are set to achieve a balance between preventing oxidation and reaching the working temperature in a few seconds. | |
Hibernation Delay Set the time the tool will remain at Sleep temperature before entering the Hibernation mode. At this time, the power supply is cut off and the tip remains at room temperature. | This function completely protects the tip from oxidation during long periods of inactivity while the tool is in the stand. Retinning the tip before placing the tool in the stand also helps prevent oxidation and extends the life of the tip. | |
| Temp Adjustment It provides a more precise adjustment between the selected temperature and the actual one. | Set values within ±50°C (± 90°F) to achieve zero error. JBC strongly recommends the use of TID-A or TIA-A Thermometers to obtain precise readings. | |
USB Connector
Download the latest software from our website to improve your soldering station.
JBC Updater
www.jbctools.com/software.html
Update the station software via USB connection:
JBC Web Manager
www.jbctools.com/manager.html
Manage and monitor as many stations as your PC can handle by using the JBC Web Manager. You can export data to another PC.
- Manager Settings
Change settings for a group of JBC stations at the same time. - Register Settings
Create graphs of the soldering process in real time with power and temperature data.
Maintenance
Before carrying out maintenance, always switch the device off and disconnect it from the mains. Allow the equipment to cool down.
- Clean the station screen with a glass cleaner or a damp cloth.
- Use a damp cloth to clean the casing and the tool. Alcohol can only be used to clean the metal parts.
- Periodically check that the metal parts of the tool and stand are clean so that the station can detect the tool status.
- Maintain tip surface clean and tinned prior to storage in order to avoid tip oxidation. Rusty and dirty surfaces reduce heat transfer to the solder joint.

- Periodically check all cables and tubes.
- Replace any defective or damaged pieces. Only use original JBC spare parts.

- Replace a blown fuse as follows:
- Pull off the fuse holder and remove the fuse. If necessary use a tool to lever it off.
- Insert the new fuse into the fuse holder and return it to the station.
When this warning appears on the main screen Earthing Fuse must be replaced- Repairs should only be performed by a JBC authorized technical service.

Safety
- It is imperative to follow safety guidelines to prevent electric shock, injury, fire or explosion.
- Do not use the units for any purpose other than soldering or rework. Incorrect use may cause fire.
- The power cord must be plugged into approved bases. Be sure that it is properly grounded
- before use. When unplugging it, hold the plug, not the wire.
- Do not work on electrically live parts.
- The tool should be placed in the stand when not in use in order to activate the sleep mode. The soldering tip, the metal part of the tool and the stand may still be hot even when the station is turned off. Handle with care, including when adjusting the stand position.
- Do not leave the appliance unattended when it is on.
- Do not cover the ventilation grills. Heat can cause inflamable products to ignite.
- Avoid flux coming into contact with skin or eyes to prevent irritation.
- Be careful with the fumes produced when soldering.
- Keep your workplace clean and tidy. Wear appropriate protection glasses and gloves when working to avoid personal harm.
- Utmost care must be taken with liquid tin waste which can cause burns.
- This appliance can be used by children over the age of eight and also persons with reduced physical, sensory or mental capabilities or lack of experience provided that they have been given adequate supervision or instruction concerning use of the appliance and understand the hazards involved. Children must not play with the appliance.
- Maintenance must not be carried out by children unless supervised.
Specifications
CS-1F 120V 50/60Hz. Input fuse: 2A. Output: 23.5V. Control Unit model: CSV-1F
CS-2F 230V 50/60Hz. Input fuse: 1A. Output: 23.5V. Control Unit model: CSV-2F
CS-9F 100V 50/60Hz. Input fuse: 2A. Output: 23.5V. Control Unit model: CSV-9F
- Output Peak Power CS-F: 40W
- Temperature Range: 180 – 450 °C / 360 – 840 °F
- Idle Temp. Stability (still air): ±1.5ºC / ±3ºF (Meets and exceed IPC J-STD-001)
- Temp accuracy: ±3% (using reference cartridge)
- Temp adjustment: ±50ºC / ±90ºF Through station menu setting
- Tip to ground voltage/resistance: Meets and exceed ANSI/ESD S20.20-2014 IPC J-STD-001F
- Earthing Fuse: F 1.25A
- Connections: USB connector station-PC RJ12 Connector
- Ambient operating temp: 10 – 50 ºC / 50 – 122 ºF
- Control Unit Dimensions / Weight: 170 x 176 x 145 mm / 2.8 Kg (L x W x H) 6.7 x 6.9 x 5.7 in / 6.17 lb
MS-A
- Dimensions / Weight: 145 x 55 x 225 mm / 1.2 kg (L x W x H) 5.7 x 2.2 x 8.9 in / 2.6 lb
- Vacuum: 75% / 570 mmHg / 22.4 inHg
- Flow rate: 9 SLPM
- Total Package Dimensions / Weight: 495 x 295 x 255 mm / 5.47 kg (L x W x H) 19.5 x 11.6 x 10 in / 12.06 lb
Complies with CE standards. ESD protected housing.
Warranty
JBC’s 2 year warranty covers this equipment against all manufacturing defects, including the replacement of defective parts and labour. Warranty does not cover product wear or misuse. In order for the warranty to be valid, equipment must be returned, postage paid, to the dealer where it was purchased
Get 1 extra year JBC warranty by registering here: https://www.jbctools.com/productregistration/ within 30 days of purchase.

This product should not be thrown in the garbage. In accordance with the European directive 2012/19/EU, electronic equipment at the end of its life must be collected and returned to an authorized recycling facility



















































































