MaxLite WallMax Compact Open Face Wall Pack – 80W & 120W

General Safety Information
- To reduce the risk of death, personal injury or property damage from fire, electric shock, falling parts, cuts/abrasions, and other hazards read all warnings and instructions included with and on the fixture box and all fixture labels.
- Before installing, servicing, or performing routine maintenance upon this equipment, follow these general precautions.
- Commercial installation, service and maintenance of luminaires should be performed by a qualified licensed electrician.
- For Residential installation: If you are unsure about the installation or maintenance of the luminaires, consult a qualified licensed electrician and check your local electrical code.
- DO NOT INSTALL DAMAGED PRODUCTS!
- This fixture is intended to be connected to a properly installed and grounded UL-listed junction box.
WARNING:
RISK OF ELECTRICAL SHOCK
- Turn off electrical power at fuse or circuit breaker box before wiring fixture to the power supply.
- Turn off the power when you perform any maintenance.
- Verify that the supply voltage is correct by comparing it with the luminaire label information.
- Make all electrical and grounded connections in accordance with the National Electrical Code and any applicable local code requirements.
- All wiring connections should be capped with UL-approved wire connectors.
- Do not handle energized fixtures when hands are wet when standing on wet or damp surfaces, or in water.
CAUTION:
RISK OF INJURY
- Wear gloves and safety glasses at all times when removing luminaire from carton, installing, servicing or performing maintenance.
- Avoid direct eye exposure to the light source while it is on.
- Account for small parts and destroy packing material, as these may be hazardous to children.
CAUTION:
RISK OF FIRE
- Keep combustible and other materials that can burn away from luminaire and lamp/lens
- MIN 90°C SUPPLY CONDUCTORS.
Models:
WCOP80 and WCOP120
Operating Instructions
Setting Wattage, Color Temperature (CCT), and Photo Control
Use the CCT switch to adjust color temperature (3000K, 4000K or 5000K)

Use the internal wattage select dial to choose the desired wattage (80W, 100W, or 120W). (120W WCS models only).
The Photocontrol is located on a side conduit hole behind the translucent ½” threaded conduit plug. The translucent plug needs to be tight for a secure seal. The plug allows light through so that the PC can respond to dusk and dawn. The PC is automatically turned on standard and needs to be disconnected at the terminal connection to be turned off.
General Wiring Diagram
CAUTION:
Turn off electrical power at fuse or circuit breaker box before wiring fixture to the power supply.
Connecting panels to AC source supply: All units must be individually connected to the AC supply. Black = Line, White = Common, Green = Ground.
Note:
Add a bead of exterior grade silicone sealant around the perimeter of the wall pack on the wall to inhibit any moisture from attachment bolts.
Installation & Operation – Wall Mount with J-Box
- Turn off the power.

- Use a screwdriver to remove the screws on both sides.

- Open the fixture, disconnect the connection terminals between the LEDs and CCT controller, and remove the front cover of the fixture.

- Use a screwdriver to remove the ½ KO plug from the center of the back plate.

- Drill through the mounting holes on the j-box template according to the requirements of the application.

- Attach the included EVA foam gasket onto the back plate.

- Dr ill through the four (4) corner mounting holes on the back plate.

- Dr ill four (4) holes in the wall that match the locations of the holes drilled in step 7 when mounted.

- Pull the supply conductors through the ½ KO center hole on the back plate.

- Using four (4) anchor bolts (not included), secure the back plate to the wall. Note: These bolts provide the structural support, anchoring the fixture to the wall.

- Secure the back plate to the j-box with screws in the holes drilled in step 5. Note: These screws are not intended to provide structural support. They are intended to create compression on the back gasket, which creates a seal protecting the wire conduit.

- Connect the Line, Neutral and Ground wires from the driver to the supply conductors.

- Reinstall the front cover and reconnect the terminals between the LEDs and CCT controller.

- Close the fixture and secure it with the two (2) screws removed in step 2.

- Make sure the installation is complete before turning the power on.

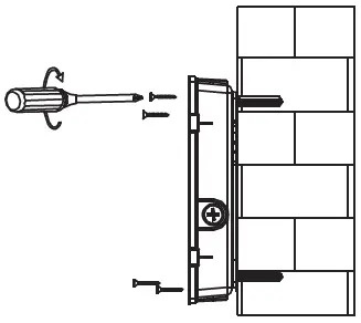
Installation & Operation – Wall Mount with Conduit
- Turn off the power.

- Use a screwdriver to remove the screws on both sides.

- Open the fixture, disconnect the connection terminals between the LEDs and CCT controller, and remove the front cover of the fixture.

- Dr ill through the four (4) corner mounting holes on the back plate.

- Drill four (4) holes in the wall that match the locations of the holes drilled in step 7 when mounted.

- Using four (4) anchor bolts (not included), secure the back plate to the wall. Note: These bolts provide the structural support, anchoring the fixture to the wall.

- Use a screwdriver to remove one of the side ½ KO plugs that will be used to feed the supply conductors into the fixture.

- Pull the supply conductors through the side KO hole. Connect the line, neutral, and ground wires from the driver to the supply conductors.
Note: Make sure to use a water-tight gland to seal the KO hole.
- Reinstall the front cover and reconnect the terminals between the LEDs and CCT controller.

- Close the fixture and secure it with the two (2) screws removed in step 2.

- Make sure the installation is complete before turning the power on.

Warranty Information
MaxLite Inc. warrants its products for a minimum period of FIVE (5) years from the date of original purchase from MaxLite or its authorized distributor/dealer (the “Warranty Period”), as follows: If a Product fails to operate during the Warranty Period as a result of defects in materials or workmanship, MaxLite will, at its option, repair it, replace it with the same or like Product.
Please refer to Maxlite’s website (at http://maxlite.com/resources/warranties) for the complete terms and conditions of our warranty.
Limitation of Liability
THE FOREGOING WARRANTY IS EXCLUSIVE, AND IS THE SOLE REMEDY FOR ANY AND ALL CLAIMS, WHETHER IN CONTRACT, IN TORT, OR OTHERWISE ARISING FROM THE FAILURE OF THE PRODUCT AND IS IN LIEU OF ALL OTHER WARRANTIES, EXPRESS OR IMPLIED, INCLUDING ALL WARRANTIES OF MERCHANTABILITY OR FITNESS FOR A PARTICULAR PURPOSE, WHICH WARRANTIES ARE HEREBY EXPRESSLY DISCLAIMED TO THE EXTENT PERMITTED BY LAW AND, IN ANY EVENT, SHALL BE LIMITED TO THE WARRANTY PERIOD SPECIFIED ABOVE. THE LIABILITY OF MAXLITE SHALL BE LIMITED TO THE TERMS OF THE EXPRESS WARRANTY SET FORTH HEREIN. IN NO EVENT WILL MAX LITE BE LIABLE FOR ANY SPECIAL, INCIDENTAL, OR CONSEQUENTIAL DAMAGES INCLUDING, WITHOUT LIMITATION, DAMAGES RESULTING FROM LOSS OF USE, PROFITS, BUSINESS OR GOODWILL, LABOR COSTS, REMOVAL OR INSTALLATION COSTS, DECREASE IN THE LIGHT OUTPUT OF THE LAMP, AND/OR DETERIORATION IN THE LAMP’S PERFORMANCE, WHETHER OR NOT MAXLITE HAS BEEN ADVISED OF THE POSSIBILITY THEREOF. UNDER NO CIRCUMSTANCES SHALL MAXLITE’S ENTIRE LIABILITY FOR A DEFECTIVE PRODUCT EXCEED THE PURCHASE PRICE OF THAT PRODUCT. WARRANTY SERVICES PROVIDED UNDER THESE TERMS AND CONDITIONS DO NOT ENSURE THE UNINTERRUPTED OPERATION OF PRODUCTS; MAXLITE SHALL NOT BE LIABLE FOR DAMAGES CAUSED BY ANY DELAYS INVOLVING WARRANTY SERVICE.
This Limited Warranty gives you specific legal rights and you may also have other rights that may vary from state to state. Because some states or jurisdictions do not allow the exclusion or limitation of liability for consequential or incidental damages, this limitation may not apply to you.












































