SOLTECH SUNLIKE Solar LED Lights Installation Guide
Introduction
Thank you for purchasing SUNLIKE Urban Lighting Products.
Introduction
Outdoor solar lighting systems use solar cells which convert sunlight into electricity. Electricity is stored in batteries for use at night. SUNLIKE solar lights are easy to install and virtually maintenance free. Using them won’t increase your electric bill.
Important
In order to avoid deep discharge of the battery during storage, please fully recharge your battery every 4 months. Please make sure that the light is installed in an area with sufficient sunlight irradiance. A strict minimum of 3.5 hours/day of sunshine on average is recommended. Select the right operating mode according to the local legislation needs and the local sunshine conditions. Keep it away from shadows. Self-cleaning available when the light fixture have minimum angle of 15 degrees.
Please save these instructions. Read all of the instructions carefully before attempting to carry out any installation or wiring Do not open or attempt to repair the product on your own, as it many cause serious damage and would void the product warranty. Contact your local distributor for any questions concerning the installation.
Range of the light module on the lighting fixture is 20–26 feet (6–8 meters). The ideal installation spacing is >16 feet(5 meters). When installing two or more lighting fixtures on one pole, select desired operating mode before installation. Interference can cause delay or malfunction when using the remote control to change operating modes after installation.
Precautions when working with solar panels
When the solar panel is exposed to sunlight, a voltage appears at the output terminals of the solar panel turning it into a source of electricity. To avoid a shock hazard, make sure the solar panel is covered with an opaque (dark) later such as paper or cloth during the installation. Do not make contact with the terminals when the panel is exposed to sunlight or any other light source.






Battery Notes
- The LiFePO4 -battery-powered Sunlike lights are visibly brighter than other outdoor solar lights, and their performance overall is more reliable.
- To charge the battery fully may take up 6 to 12 hours.
- The rechargeable battery can work continuously for 10 hours at full power.
- Output will be reduced to 40% when the battery is below 40% of its capacity.
- Battery will stop charging when the ambient temperature is below 32°F or above 149°F.
Battery Status is indicated by the red/green indicator on the lighting fixture as follows:
- Red indicator (Charging)
- Slow red light flashing = Charging
- Red light continuously on = fully charged
- Quick red flashing = charge fault
- Green indicator (not charging)
- Green light continuously on = more than 40% of the battery capacity remaining
- Slow green light flashing = battery capacity below 10%
- Quick green light flashing = battery below 0% mode—Protect battery does not over discharging
Storage
To avoid over discharge of the battery during storage, please recharge the lighting fixture every 3 months. Use the dedicated charger to charge, reset the switch when done.
Battery Replacement
- Loosen the screws of the battery pack.

- Disconnect the wire connectors.
- Take out the battery pack.
- Replace with a new one, connect the wire connectors.
- Tighten the screws.

Important
Release the safety rope after disconnecting the wire connectors.
Make sure the color of the wires match while connecting
(IAP) Intelligent Adaptive Program Battery Control Technology
In order to extend the off-grid autonomy of the SUNLIKE under shady trees, heavy rain, and thick clouds, our controllers now integrate an adaptive smart control feature to actively track battery capacity and adjust light output accordingly. Before integrating this feature, selecting a light output percentage on the remote would yield an accurate percentage of max LED brightness. Now with (IAP), the controller actively monitors the battery and regulates the electrical current to the LEDs. The controller makes light output of the selected percentage on the remote relative to battery capacity rather than max LED output. This smart-control feature can increase our off-grid performance by up to 40%.
Installation and Wiring Compliance
- Installation and wiring must comply with the State and National Electrical Codes.
- The SUNLIKE 8W/20W/30W model is intended for outdoor use only and should not be installed in an unventilated area, and shall be installed in an environment within the operational temperatures defined for the product.
- The average sunshine in the installation area should be above 3.5 hours/day in order to ensure full function of the lighting fixture. Avoid areas with shades.
- Before installation, if applicable, please ensure the light pole and its foundation are solid enough to withstand the lighting fixture(s).
- Before installation, please ensure that the battery is fully charged. Install during sunny days if possible.
- Before installation, please press the
ON/OFF key in the remote control and check whether it shows a red light on the indicator.
Please cover the panel and check if the light module turns on normally within 1 minute.
After Installation
The lighting fixture will automatically turn on at night and turn off during daylight.
Important
Always orient the solar panel facing the equator (e.g. facing south if in northern hemisphere).
Always have a tilt angle of at least 15° to avoid dust accumulation (0°=horizontal plane).
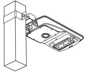
Mounting Accessories
A. TRUNNION—Wall Mount


A-a. TLSTC-WM-8W (for SUNLIKE 8W) ”
A-b. TLSTC-WM-20W/30W (for SUNLIKE 20W/30W)
B. TRUNNION—Round



B-a. TLSTC-TRR-8W (for SUNLIKE 8W) works with 2.0 inches to 4.3 inches poles.


B-b. TLSTC-TRR-20W/30W (for SUBLIKE 20W/30W) works with 2.0 inches to 4.7 inches poles.
C. TRUNNION—Square



C-a. TLSTC-TRS-8W (for SUNLIKE 8W) works with 2.0 inches to 3.5 inches poles.


C-b. TLSTC-TRS-20W/30W (for SUNLIKE 20W/30W) works with 2.0 inches to 4.0 inches poles.
D. SLIP FITTER—Rotative AND STRAIGHT ARM

Installation
Trunnion Mount


Slip Fitter and Straight Arm


Panel Angle
The solar charge in a battery pack won’t last forever. The off–grid system relies on stored solar energy for autonomy. Angling your solar panels properly can boost the power intake of your solar lighting system. You want to angle your solar panels at a tilt based on the area’s latitude.
Tip
You can increase the tilt 15° in the winter or decrease 15° in the summer. In this way you can get the maximum sunlight to recharge the battery.
Key

Best Facing Direction of Solar Panel

The area will dictate the installation of the fixtures and will sometimes prevent the lights from facing south. But that’s okay! Panels facing West & East won’t get as much light as Southern facing panels, but will still collect a good amount of sunlight. A North facing panel also works, but it will take longer to charge than any other direction. This would mean that the solar charge will be less optimal if installations are facing North.

Remote Control Guide

40%~100% Motion Sensor Mode
Constant 40% brightness (turns on at dusk, turns off at dawn); 100% brightness turns on for 2 minutes when motion is detected.
20%~80% Motion Sensor Mode (Default)
Constant 20% brightness (turns on at dusk, turns off at dawn); 80% brightness turns on for 2 minutes when motion is detected.
Night Owl Mode
Changes as natural light decreases/increases (turns on at dusk); 70% brightness for 0.5 hour, 100% brightness for 3.5 hours, 70% brightness for 1 hour, 50% brightness for 1 hour, 20% brightness for 5 hours (turns off at Dawn).
Early Bird Mode
Changes as natural light decreases/increases with increased brightness near dawn for early risers (turns on at dusk); 70% brightness for 0.5 hour, 100% brightness for 3.5 hours, 70% brightness for 1 hour, 50% brightness for 1 hour, 20% brightness for 4 hours, 100% brightness for 1 hour (turns off at Dawn).
The range of the remote control to the indicator is 16ft (Day time) to 33ft (Night time). Because the sunlight will impact the signal of the remote control, we suggest our users to setup the mode before they install the light.
- On/Off
When off is selected, the light will stop working. The solar panel will not charge the battery and the battery will not supply electricity to the light. - Connect/Test
Remote control device can be connected with any lighting fixture, one at a time. To connect, press the button once. It also functions as a test button. To test, press the “Test” button once, the red light will indicate the fixture is charging, green light indicates that the fixture is operating. Testing lasts for 10 seconds, and then it goes back to the mode previously in use
(IAP) Intelligent Adaptive Program Battery Control Technology
In order to extend the off-grid autonomy of the SUNLIKE under shady trees, heavy rain, and thick clouds, our controllers now integrate an adaptive smart control feature to actively track battery capacity and adjust light output accordingly. Before integrating this feature, selecting a light output percentage on the remote would yield an accurate percentage of max LED brightness. Now with (IAP), the controller actively monitors the battery and regulates the electrical current to the LEDs. The controller makes light output of the selected percentage on the remote relative to battery capacity rather than max LED output. This smart-control feature can increase our off-grid performance by up to 40%.
Important
Dusk and dawn time can vary for different locations and seasons. The sensors in our products will monitor the light levels where it is installed. The time period shown in the chart above is just an example to help you understand the different lighting modes.
Remote Control Guide
100% Constant Mode
100% brightness from dusk to dawn.
70% Constant Mode
70% brightness from dusk to dawn.
40% Constant Mode
40% brightness from dusk to dawn.
Timer Mode Disabled
Press this button to turn off Timer Mode; settings revert back to before Timer Mode was last activated.
Timer Mode 4 Hours
This is an additional mode which can work with any other modes. For example: press this button at any time after you turn on 70% Constant Mode. If the light turns on at 7pm at dusk, it will turn off at 11pm. It will repeat the same schedule hereafter until it is canceled by pressing Timer Mode Disabled.
Time Mode 8 Hours
This is an additional mode which can work with any other modes. For example: press this button at any time after you turn on 70% Constant Mode. If the light turns on at 7pm at dusk, it will turn off at 3am. It will repeat the same schedule hereafter until it is canceled by pressing Timer Mode Disabled.
Important
Dusk and dawn time can vary for different locations and seasons. The sensors in our products will monitor the light levels where it is installed. The time period shown in the chart above is just an example to help you understand the different lighting modes.
5 Year Warranty
SUNLIKE products are covered by a 5 year limited warranty.
SOLTECH urban light warrants to the original purchaser that this product is free from defects in materials and workmanship for the period of 5 years from date of purchase. To obtain warranty service please contact your local distributor or sales rep for further instruction.
1460 Park Avenue.
Emeryville, CA 94608 USA
www.soltechlighting.com
SOLTECH LLC reserves the right to update all product data sheets at any time. Consult SOLTECH marketing specialists for publication updates at [email protected]
Copyright©2022–2023 SOLTECH LLC, All Rights Reserved.





















