ARYLIC Amplifier Module WiFi Bluetooth Control

Introduction
Up2Stream AMP2.1 is a WiFi and Bluetooth 5.0 amplifier with subwoofer output board that can be applied into your existing regular audio system to make it wireless enabled, and it is also a all-in-one solution for DIYers to make their customized wireless audio system. After connecting the device to your home network, with our 4STREAM app, you can play music from your home NAS, USB pen drive, cell phone memory or from online streaming services like Spotify, Deezer, Tidal, Qobuz and so on. The wireless multiroom audio system can play the same music to each room in sync or play different music to different rooms.
What’s in the box

More accessories coming soon at www.arylic.com

Interface

Power Button: Short press to power off and on; When in WiFi mode, long press (press and hold the button for more than 5 seconds) to reset WiFi settings and enter the paring mode; When in Bluetooth mode, long press to terminate current connection.
Hold Power button then plug in the power can force the device to enter WiFi mode. If you have setup router connection before, the device will auto connect to that router.
Volume control knob: Short press to switch input mode: Wifi, BT, USB, Line in, USB.
Tone control knob: Short press to reset treble level to 0, long press 5sec to increase crossover frequency by 10Hz. (Crossover frequency range from 80-200Hz)
Bass control knob: Short press to reset bass level to 0, long press 5sec to decrease crossover frequency by 10Hz. (Crossover frequency range from 80-200Hz)
Further Notes:
PH2.0-4P: DGND, MICIN, AGND, MIC2IN: This is reserved for future use.
PH2.0-4P: LINE-INR, AGND, LINE-INL, DGND: For analog input to up2stream amp 2.1 board, it has the same signal as the 3.5mm Aux jack.
PH2.0-4P: GND, B1, B0, SPDIF: This is reserved for external SPDIF input.
B1, B0 is for testing.
PH2.0-2P: GND, VIN: This is for DC-IN.
PH2.0-2P: +5V, GND: This is a 5V output.
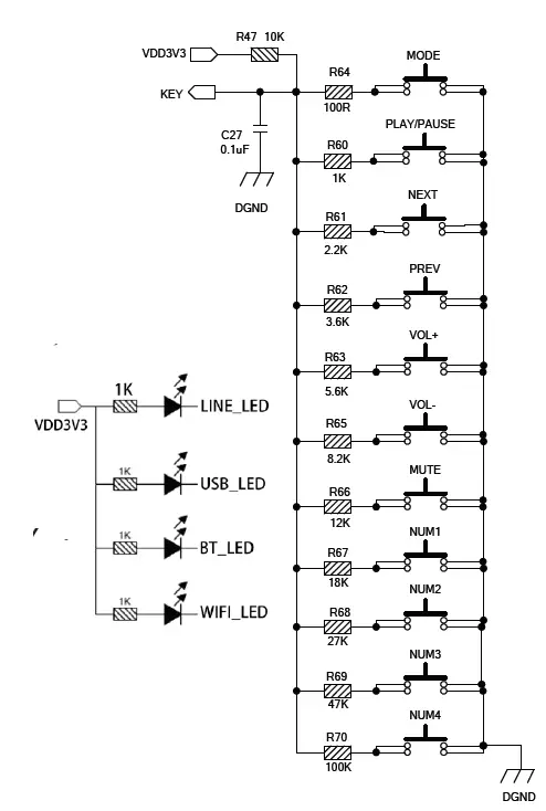
PH2.0-9P: D3.3V, GND, WPS, LINE-LED, USB-LED, BT-LED, WIFI-LED, ADC-KEY, IR: You should connect 3.3V to a current limit resister and then to LED and then to the pin.
The LED pins are used to extend the LED and are common-anode connected.
WPS is for wifi reset function.
ADC-KEY is used for external buttons, refer to the circuit on the right for key definitions.
IR is used for extend IR receiver.
PH2.0-4P: GPIO, STB, MUTE, GND: Reserved for debug.

Connection Diagram

How To Use
App download
Download the 4STREAM application from App Store for iOS based devices and Google Play Store for Android based devices.
The application supports English, Spanish, French, German, Italian, Portugese, Korean, Simplified Chinese, Traditional Chinese and Japanese
First time usage & WiFi Setup:
- Hold the POWER button then plug in the power cable.
- The LED light will start flashing, release the button and wait till the LED flash slowly.
- Go to your mobile WiFi settings and search for Sound System_ xxxx WiFi and connect.
If you cannot find Sound System connection, long press the POWER button for 5 secs and then refresh your mobile’s WiFi listing. - Open 4Stream APP and there will be 2 options: Direct Mode & Add Device.
- Direct Mode: If you don’t have router, please choose direct mode. After connected, you can play music store in your mobile.
- Add Device: After you choose add device, select the router SSID you want your Up2stream device connect to (enter password if required) and select continue.
- Once connected, you can change the name of the device. You can select a preset one or enter your own.
- After you define the name of the device, you will see it appears in the device list in 4stream app and now you can start streaming music.
If you change to another router, or the password of the connected router has been changed, please long press POWER button for 5 secs in WiFi mode to reset the connection.
Hold POWER button then plug in the power can force the device to enter WiFi mode. If you have setup router connection before, the device will auto connect to that router.

Attention for Android users
Different brand mobile phones may ask you to allow to use Sound System WiFi network, please choose yes, if not, you may not able to set up successfully .
It may also ask you to authorize other things, please choose yes or it may affect your use.

Connection via LAN
Plug in the wired cable to the RJ45 Ethernet, the device will show on the app in about 10 seconds. (Note: the cell phone and the device must be in the same network)
Bluetooth
To use bluetooth ,please swtich to bluetooth via app or by remote controller, then find bluetooth device SoundSystem_XXXX from your phone bluetooth setting and pair it .

USB audio
Power up and connect the Up2Stream AMP to your PC with USB cable (make sure it’s a data cable including the signal wires). The PC will automatically discover a USB sound card, and when you activated it as the system main output, the PC will send the audio output over Up2Stream AMP in digital (44.1KHz/16bits).
You can stream to other Up2Stream devices over multiroom connection.
NOTE: there’s about 3 seconds delay for multiroom slave devices.

Up2Stream DSP Audio Effects Tool (Sell Separately)
Connect the Up2Stream device to your PC with USB cable (make sure it’s a data cable including the signal wires). And open the program Up2Stream DSP Tool (only support Windows.), and you can tune audio effects conveniently, including Music Noise Suppressor, Virtual Bass, Stereo Widener, Exciter, 10 bands EQ, etc. After editing the audio effects, you can save the changes to the device so the tuned effects will remain. You can get more information from our website www.arylic.com,or from the Up2Stream DSP Tool manual.
Firmware update
The application will notify you in app when there is a new firmware version available. It’s recommended to update firmware whenever available as this might not only correct bugs or improve security, but also can add new features or services.

Specification
|
Connectivity | Wireless network | IEEE802.11 b/g/n 2.4G |
| Ethernet | Single 10/100M RJ45 | |
| Bluetooth | 5.0, SBS/AAC | |
| USB Host | Play USB music | |
| Bluetooth Distance | 10M | |
| Power Input | DC 12V – 24V | |
| Audio Input | Analog 3.5mm/4pin connector/Micro USB | |
| Audio output | Analog Speaker out with subwoofer out (PIN SPACE-5.0mm) | |
| Frequency response | 20Hz to 20kHz | |
| Volume Control | Volume Knob, Treble Knob, Bass Knob | |
| Speaker Power | 2x50W@4Ω + 100W@2Ω BTL load at 24V 2x30W@8Ω + 75W@4Ω BTL load at 24V 2x22W@8Ω + 48W@4Ω BTL load at 19V 2x15W@8Ω + 30W@4Ω m BLT load at 15V |
| THD+N | <0.03%, @1kHz/1W/24V/4Ω |
| Speaker Impedance | 4-8ohms |
| Music Format | FLAC/MP3/AAC/AAC+/ALAC/APE/WAV |
| Decoding | Up to 24bit/192kHz |
| Protocols | AirPlay, DLNA, UPnP, Spotify Connect, Qplay |
| Dimensions | 124*100*25mm |
| IR Remote Controller | Optional |

If you cannot find Sound System connection, long press the POWER button for 5 secs and then refresh your mobile’s WiFi listing.

















