John Lewis Tristan Pendant

Thank you for purchasing this Tristan light fitting. Please read the instructions carefully before use to ensure safe and satisfactory operation of this product. Please keep these instructions for future reference.
Warnings!
This is a Class 1 product and must be earthed.
- Please read these instructions carefully before commencing any work. It is recommended that this fitting is installed by a qualified electrician.
- Install in accordance with the IEE Wiring regulations and the Building Regulations.
- To prevent electrocution switch off at mains supply before installing or maintaining this fitting.
- Ensure other persons cannot restore the electrical supply without your knowledge.
- If you are in any doubt, please consult a qualified electrician.
- This light fitting should be connected to a 5 amp fused circuit.
- If replacing an existing fitting, make a note of the connections.
- Always use the correct type and wattage bulb. Never exceed the wattage stated.
- When changing a bulb or adjusting the heads, always switch off at the mains and allow to cool down.
- Dispose of used bulbs carefully.
- This product is suitable for indoor use only.
- This product is suitable for installation on surfaces with normal flammability e.g. wood, plasterboard, masonry.
- It is not suitable for use on highly flammable surfaces (e.g. polystyrene, textiles).
- For your safety, always switch off the supply before changing lightbulbs, cleaning or removing shades.
- Always take care when handling lightbulbs to avoid injury in case of breakage.
Parts List
| Light Fitting & Shade | ![]() | 1 | Screws | 2 | |
| Wall plugs | 2 | ||||
| Metal ring | 1 |
Installation Instructions
Refer to assembly diagrams. Carefully unpack the carton, making sure all the parts are present before assembly.
Attaching the glass shade and decorative metal band
Place the decorative metal band over the glass shade, then attach the shade to the product by removing the shade ring from the lampholder and fitting the shade to the lampholder. Re-fit the shade ring to secure the shade in place.
Adjusting the Drop
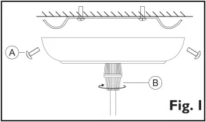
Please refer to Figure 1.The hanging height of this fitting can be adjusted by carefully loosening the lower section of the cable grip (B), situated below the ceiling cover, by unscrewing in an anti-clockwise direction. Once the lower section of the cable grip is loose, push or pull the cable through the ceiling cover and carefully re-tighten the cable grip when the desired height is achieved. Take care not to overtighten the cable grip.
Step 1
Existing ceiling roses must be completely removed before installation of a new product.
Before removing the existing fitting or ceiling rose, carefully note the position of each set of wires. Where a ring/loop circuit exists there will be a fourth set of wires (usually red) that are not connected to the L, N, or E. of the fitting. This circuit must be kept together in the 4th terminal of A the connection block, and insulated from the fitting and the other wires. The ring/loop will remain live unless isolated at the mains or circuit breaker regardless of the position of the wall switch.
Step 2
Remove the fixing strap from the fitting by removing side screws (A) (see Figure 1). Using the screws provided in the fixing pack, secure the strap to the ceiling, making sure that there is a joist at the point of fixing to support the weight of the product. Take care to avoid damaging any concealed wiring and pipes.
Step 3
Having identified the household wiring from your existing light fitting, connect to the connection block inside the product in the following way:
Check that…..
You have correctly identified the house wires.
The connections are tight.
No loose strands have been left out of the connection block.
Step 4
When completed, ensure that there are no bare or loose strands of wire exposed, and cover all exposed areas of the connection block with 2 layers of insulation tape.
Step 5
Re-fit the product to the fixing strap using side screws (A), tighten to secure. Take care to avoid damaging any concealed wiring and pipes. Do not overtighten.
Step 6
When fitting a bulb, always switch off at the mains and allow the bulb to cool before handling. Dispose of used bulbs carefully. Do not exceed the wattage stated or use a different shape bulb from that indicated on the fitting. Some Energy saver bulbs are not suitable for use with a dimmer switch. Replace fuse or circuit breaker and switch on. Your light is now ready for use.
For use
Finish – We recommend cleaning with a soft dry cloth. Do not use abrasive materials as these will damage the finish. Glass parts – Remove and wash in warm water or just use a damp cloth. Do not use abrasive materials as these will damage the finish.
Recommended bulb
1 x 6W
ES LED Energy Efficient Classic Clear
or 28W ES Eco Halogen Classic
or
1 x 40W
ES GLS
When changing a bulb, always switch off at the mains and allow the bulb to cool before handling. Dispose of used bulbs carefully. Do not exceed the wattage stated or use a different shape bulb from that indicated on the fitting.
Specification
- Maximum wattage: 40W

- Voltage: 240V, 50Hz
- IP Rating: 20
- Weight: 1.7kg
This symbol
indicates that this product should not be treated as normal household waste and it should be recycled. John Lewis do not operate instore take back, but as members of the Distributor Trade Back scheme have funded the development and upgrade of recycling facilities across the UK. Please take it to your nearest collection facility or for further details contact your local council or visit www.recycle-more.co.uk.
We have taken great care to ensure that this product reaches you in perfect condition. However, should any parts be damaged or missing please contact our Product Helpline on (01202) 690945.
John Lewis Partnership
171 Victoria Street
London SW1E 5NN
johnlewis.com





















