JOHN LEWIS REIGN Crystal Pendant

Introduction
Thank you for purchasing this Reign Crystal Pendant. Please read the instructions carefully before use to ensure safe and satisfactory operation of this product.
Warnings
This product is Class I and must be earthed. This fitting should be fitted in accordance with IEE Regulations and the Building Regulations. If in any doubt, or where required by law, consult a competent person who is registered with an electrical self-certification scheme. Further information is available online or from your Local Authority.
To prevent electric shock,switch off at the mains supply before installing or maintaining this fitting. Ensure otherpersons cannot restore the electricity supply without your knowledge. If you are in any doubt, please consult a qualified electrician. It is the installer’s responsibility to ensure that the fixings and plugs used are suitable for the surface you are fixing your product on. If replacing an existing fitting, make a note of the connections. Always use the correct type and power bulb. Never exceed the power stated. When changing a bulb, always switch off at the mains and allow the old bulb to cool down before handling. Dispose of used bulbs carefully. The flexible cable on this luminaire, if damaged, shall only be replaced by the manufacturer or his service agent or a similar qualified person.
Caution! The bulb and surrounding parts can become hot during use.
Parts list
Product assembly
Ensure the mains electricity supply switched off at the fuse board.
Step 1
If removing an existing fitting, note down all wiring connections. Put the centre rod into the top of lampholder base, and then secure with grub screw using Allen key (provided).
Step 2
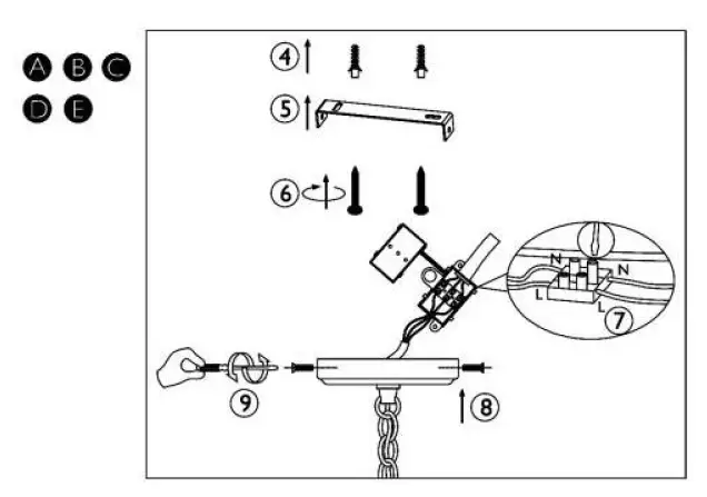
Ensure that the bracket (supplied) is fixed to a wooden joist in the ceiling using screws (supplied) or use a suitable fixing to the ceiling which will support the weight
of the fitting. The weight of the fitting must be supported by the suspension bracket and not the flexible cable. Adjust the chain to the required length, ensure the cable is longer than the chain, feed the flexible cable through the chain links and into the ceiling cup. Ensure that no strain is placed on the cable. Connect cables to terminals as shown below.
Check all wires are tight in the terminal block and no loose strands are left out. Cover with insulating tape (not included).
Step 3
Push up ceiling cup and secure with grub screws provided
Step 4
Attach the correct type and wattage bulb to the lamp holder (bulb not included). The maximum power indicated must not be exceeded. Insert the crystal rulers into the holes gently as per illustration. Switch on the electricity supply at the fuse board.
Caring for your product
We recommend cleaning with a soft dry cloth. Do not use abrasive materials as these will damage the finish. Indoors use only.
Aftercare and Troubleshooting
Why is the light not working when switched on? Check your power supply is switched on Turn off light and check that the bulb is inserted correctly Check the bulb is still in working order. Replace bulbs from John Lewis or established brand of the same type and compatibility If you experience any unresolvable technical issues with the product, contact your nearest John Lewis & Partners shop or John Lewis & Partner Technical Support on 03301 230106.
Specification
- Recommended bulb: G9 halogen or G9 LED
- Max. power: 3x28W
- Bulb not included
- Voltage: 220 –240V, 50Hz
- IP rating: 20
- Weight: 2.85kg
5 year guarantee:
At John Lewis & Partners we test every light to high quality standards so we are able to offer you a 5 year guarantee.
Recycling
This symbol indicates that this product should not be treated as normal household waste and it should be recycled. John Lewis & Partners do not operate instore take back, but as members of the Distributor Take Back scheme have funded the development and upgrade of recycling facilities across the UK. Please take it to your nearest collection facility or for further details contact your local council or visit www.recycle-more.co.uk.
Product assembly


















