PCE TDS 100 Ultrasonic flow Meter

Thank you for purchasing an ultrasonic flow meter from PCE Instruments.
Safety notes
Please read this manual carefully and completely before you use the device for the first time. The device may only be used by qualified personnel and repaired by PCE Instruments personnel. Damage or injuries caused by non-observance of the manual are excluded from our liability and not covered by our warranty.
- The device must only be used within the approved temperature range:
- Environmental humidity max. <80 % RH
- Environmental temperature 0 … +70 °C
- Do not expose the device to extreme temperatures, direct sunlight, extreme humidity, condensation or moisture.
- Never use the instrument when your hands are wet.
- Before taking a measurement, the device should be stabilised to the ambient temperature (important when carrying the device from cold to warm rooms and vice versa).
- Avoid strong shocks.
- Do not use the meter around corrosive or explosive gases.
- The case should only be opened by qualified PCE Instruments personnel.
- Repairs and maintenance work may only be carried out by qualified PCE Instruments personnel.
- Never place the front side of the device on a workbench or work surface to avoid damage to the operating elements.
- You must not make any technical changes to the device.
- Keep the flow meter clean and dry.
- The appliance should only be cleaned with a damp cloth. Use only pH-neutral cleaner, no abrasives or solvents.
- Non-observance of the safety notes can cause damage to the device and injuries to the user.
We do not assume liability for printing errors or any other mistakes in this manual. We expressly point to our general guarantee terms which can be found in our general terms of business.If you have any questions please contact PCE Instruments. The contact details can be found at the end of this manual.
Specifications
Technical specifications
Hand-held device
| Model | PCE-TDS 100 Series |
| Measurement range | -32 … +32 m/s |
| Resolution | 0.0001 m/s |
| Accuracy | for NPS ≥ 50 mm: ±1.5 % of reading for NPS < 50 mm: ±3.5 % of reading |
| Repeatability | ±1.0 % of reading |
| Media | All liquids with an impurity of <5 % and a flow of >0.03m³/h |
|
Flow units | Cubic metre [m³] Litre [l] Gallon (USA) [gal] Imperial Gallon (UK) [igl] Million USA Gallons [mgl] Cubic foot [cf] Barrel (USA) [bal] Imperial Barrel (UK) [ib] Oil Barrel [ob] The time can be per day [/d], per hour [/h], per minute [/m] and per second [/s] |
| Data logger | 60,000 measuring data sets |
| Interface | USB (for online measurement and to read out internal memory) |
| Protection class | IP 52 |
| Power supply | 3 x rechargeable AA NiMH batteries / 2100 mAh (operating hours 12 h when fully charged) 100 … 240 V AC 50/60 H |
| Dimensions | 214 x 104 x 40 mm |
| Weight | 450 g |
Sensors
| Type of sensor | S1 | M1 | HS | HM |
![]() | ![]() | ![]() | ![]() | |
| Order no. sensor | TDS-S1 | TDS-M1 | TDS-HS | TDS-HM |
| Order no. hand-held device + sensor | PCE-TDS 100HS | PCE-TDS 100H | ||
| Sensor cable length | 5m | 5m | 5m | 5m |
| Nominal diameter | DN 15 … DN 100 20 … 108 mm | DN 50 … DN 700 57 … 720 mm | DN 15 … DN 100 20 … 108 mm | DN 50 … DN 700 57 … 720 mm |
| Liquid temperature | -30 … 160 °C | -30 … 160 °C | -30 … 160 °C | -30 … 160 °C |
| Dimensions | 45 x 30 x 30 mm | 60 x 45 x 45 mm | 200 x 25 x 25 mm | 280 x 40 x 40 mm |
| Weight | 75 g | 260 g | 250 g | 1080 g |
Delivery contents
- 1 x ultrasonic flow meter
- 2 x sensors (depending on model)
- 2 x 5 m connection cable
- 2 x releasable cable tie
- 1 x mains adaptor
- 1 x contact gel
- 1 x PCE measuring tape
- 1 x carrying case
- 1 x user manual
Optional accessories
- TDS-S1 Sensor type S1 (loose)
- TDS-M1 Sensor type M1 (loose) TDS-HS Sensor type HS (on rail)
- TDS-HM Sensor type HM (on rail)
- TT-GEL Ultrasonic contact gel
- Sensor cable PCE-TDS 100 Series Set of sensor cables 2 x 5 m
- SOFT-PCE-TDS Data cable + software for data transfer
- CAL-PCE-TDS-ISO ISO calibration certificate
- CAL-PCE-TDS-DAkkS DAkkS calibration certificate
System description
Device
Top view

Front view

Bottom view

- Sensor connection (down)
- Sensor connection (up)
- Display
- LED charging lamp
- Membrane keypad
- Charging socket
- USB interface
Cable 5 m (2 x)

- Plug orange
- Plug blue
Mains adaptor

Function keys
The keypad consists of 18 keys. The keys from 0 to 9 and the decimal point are used to enter numbers.
| Key | Name | Function |
![]() | Up / + key | Press to select different window or enter numbers |
![]() | Down / – key | |
![]() | Back key | Press to go one step back or move cursor left |
![]() | ENTER key | Press to confirm or make a selection |
![]() | MENU key | Press to enter menu mode or press followed by two digits to enter a certain menu window |
![]() | ON / OFF key | Press to switch ON / OFF |
![]() | Reset key | Press to reset the device to the factory default settings |
Getting started
Internal battery
The device can be powered either by the internal rechargeable battery (more than 12 hours with continuous operation) or via the mains adaptor. During charging, the LED glows red. It will turn green as soon as the battery is fully charged. When the battery is fully charged, the voltage is approx. 4.25 V. The voltage is shown in window M07. The battery is nearly flat when the voltage falls below 3 V. The device also indicates the remaining battery life which is determined internally via the voltage. The indication of the remaining battery life is just a rough guide value.
Power on
The device can be switched on via the ON key and switched off using the OFF key. After switching on, the device runs a self-diagnostic programme. The hardware and the internal software are tested. If an error is detected, this will be shown in the display.
After the start-up, the device will show window M01. This is the most common window und shows the positive totaliser, the volume flow, the flow velocity, the signal strength, the signal quality and the operating status, based on the values last set for the pipe.
Menu windows
| M00 … M04 | Window for volume flow, velocity, date, time, totaliser, battery voltage, remaining battery life, etc. |
| M10 … M22 | Window for pipe parameters, etc. |
| M30 … M37 | Window for unit selection and totaliser |
| M40 … M45 | Window for response time, zero setting, calibration and PIN protection, etc. |
| M50 | Window for data logger |
| M60 … M77 | Window for date / time setup, display of software version and serial number, alarm, etc. |
| M85 … M94 | Further parameter setting and diagnostic window for better accuracy |
The device has approx. 50 menu windows. These windows are numbered from M00, M01, M02, M03…, through to M94.
There are two ways to select these windows:
- Directly, using the MENU key and the two digits
- Via the Up / Down keys; each keystroke changes to the next higher or previous window, whereas the window M00 is at the top, which means that the Down key will lead you to the next higher window.
The device has three different types of windows:
- Window to enter numbers, e. g. M11 to enter the pipe diameter
- Window to select options, e. g. M14 to select the pipe material
- Windows to view data, without being able to make a selection, e. g. M+1 to show the complete operating time of the device
About (1): When you are in a window for data entry, you can enter the data and confirm with ENTER.
For example, if you are in window M11, you can directly enter
the outer diameter of the pipe.
About (2): In a selection window, first press the ENTER key and then make a selection using the Up and Down keys or the number keys if a number needs to be selected. Finally, confirm your selection with the ENTER key.
Example M 14 (material selection):
Stainless steel, for instance, is assigned no. 1. To select a different material, press ENTER to be able to make your selection using the Up and Down keys. Confirm your selection with ENTER. You can also enter the numbers directly via the numeric keypad.
Operation
Principle of measurement
The ultrasonic flow meter has been developed to measure the flow velocity of liquids in pipes. The non-contact transducers/sensors are placed on the pipes and are thus not subject to any wear and tear.
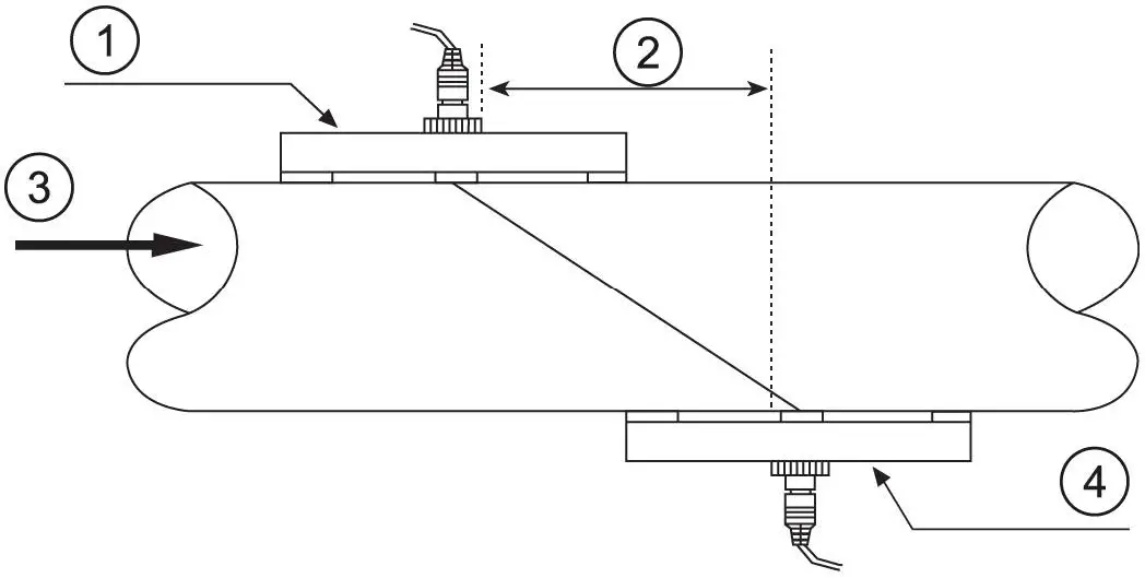
The PCE-TDS 100H/HS works with two signal transducers (sensors) which serve as ultrasonic transmitters and also as ultrasonic receivers. The sensors are installed on the outer wall of the pipe at a defined distance, one below the other. The sensors can be installed in a Z shape (Z method). In this case, the ultrasound will pass through the pipe once. If the sensors are installed in a W shape (W method), the ultrasound will pass through the pipe four times. When using the Z method, the sensors are placed opposite to each other. The sound passes through the pipe or liquid diagonally. The selection of the right method depends on the characteristics of the liquid.
- Downstream transducer
- Flow direction
- Upstream transducer
- Spacing
You can find more detailed information on how to place the sensors and how to select the right method of measurement in chapter 5.3.Sensors.
Configuration of parameters
| Menu | Function |
| M00 | View three totalisers (positive, negative, net), signal strength, signal quality and operating status |
| M01 | Indication as in M91, volume flow, velocity, signal strength, signal quality and operating status |
| M02 | View negative totaliser, volume flow, velocity, signal strength, signal quality and operating status |
| M03 | View net totaliser, volume flow, velocity, signal strength, signal quality and operating status |
| M04 | Indication of battery voltage and remaining battery life |
| M10 | Enter outer perimeter of pipe |
| M11 | Enter outer diameter of pipe, value between 0 and 6,000 mm can be selected |
| M12 | Enter wall thickness of pipe |
| M13 | Enter inner diameter of pipe |
| M14 | Select standard pipe material (if pipe material is included here, no pipe sound velocity is needed): 0. Carbon Steel, 1. Stainless Steel, 2. Cast Iron, 3. Ductile Iron, 4. Copper, 5. PVC, 6. Aluminium, 7. Asbestos, 8. Fiber Glass 9. Other |
| M15 | Enter pipe sound velocity; only necessary if material does not belong to standard materials |
| M16 | Select liner material; if the pipe used does not have a liner, select „0. No Liner“ 1. Tar Epoxy, 2. Rubber, 3. Mortar, 4. Polypropylen, 5. Polystyrol, 6. Polystyrene, 7. Polyester, 8. Polyethylene, 9. Ebonite, A. Teflon, B. Other |
| M17 | Enter liner sound velocity; only necessary if “B. Other” has been selected under M16 |
| M18 | Enter material thickness of liner; only necessary if “B. Other” has been selected under M16 |
| M19 | Enter absolute thickness of inner wall |
| M20 | Select standard liquid: 0. Water, 1. Sea Water, 2. Kerosene, 3. Gasoline, 4. Fuel Oil, 5.Crude Oil, 6. Propane, 7. Butane, 8. Other, 9. Diesel Oil, 10. Castor Oil, 11. Peanut Oil, 12. Gasoline ROZ 90, 13. Gasoline ROZ 93, 14. Alcohol, 15. Water (125 °C) |
| M21 | Enter fluid sound velocity; only necessary if liquid does not belong to standard liquids |
| M22 | Enter viscosity of liquid (only necessary if liquid does not belong to standard liquids) |
| M23 | Select sensors out of 16 types: 1. User Insert 2. Insert C11_45 3. Insert C11_60 4. Clamp-On M2 (TDS-M1) 5. Clamp-On S1 6. Clamp-On S2 (TDS-S1) 7. Clamp-On L2 (TDS-L1) 8. Clamp-On TS-2 9. Standard-HS (TDS-HS) 10. Standard-HM (TDS-HM) 11. Clamp-On TL-1 12. Clamp TM-1 13. Clamp-FS410 14. Insert C15_45 15. Insert C15_51 |
| 16. Insert C15_60 17. RW_HM Standard 18. Clamp RW_S1 19. Clamp RW_M1 20. Clamp RW_M2 21. Clamp RW_L1 22. Clamp RW_L2 23. Inner RW_TM_1 24. Clamp Dyna_S 25. Clamp Dyna_M 26. Clamp Dyna_L 27. Clamp KaYi-A 28. π-Type | |
| M24 | Select sensor installation: 0. Z method, 1. V method, 2. N method, 3. W method |
| M25 | View distance between sensors; should be stuck to as exactly as possible |
| M30 | Select unit system: metric or English |
| M31 | Select flow rate unit: Cubic Meters [m³] Liters [l] USA Gallons [gal] Imperial Gallons [igl] USA M Gallons [mgl] Cubic Feet [cf] USA Barrels [bal] Imperial Barrels [ib] Oil Barrels [ob] Time can be per day, per hour, per minute or per second, which means 36 different unit combinations are possible |
| M36 | Enable / disable negative totaliser |
| M37 | 1. Reset totaliser 2. Reset device to factory default settings by pressing Reset key, followed by Back key. Be careful with this function and note down your personal settings before using it Password: 20140820 |
| M39 | Select the language (English or Chinese) |
| M40 | Set damping which can be a value between 0 and 999 seconds; if “0“ is selected, damping is disabled |
| M41 | Set low cutoff value |
| M42 | Set zero point; make sure no liquid passes through the pipe |
| M43 | Delete zero point, reset to default zero point |
| M44 | Set flow value manually (offset value); this value should normally be “0“ |
| M45 | Set scale factor; this value is set to the delivered sensors by PCE before shipping and should only be changed after a calibration by PCE |
| M50 | Setting the memory interval 1 … 65535 s; 0 Logger is deactivated |
| M52 | Set Modbus RTU address 0 … 34463 |
| M57 | Number of pulses per litre |
| M60 | View date and time (calendar for 99 years); press ENTER to make changes; press Reset to go to the next digit |
| M61 | View software version and serial number (ESN) |
| M70 | Set display backlight; select how many seconds backlight will glow without keystroke 1 … 65535 s; 0 s means display is turned off |
| M71 | Display backlight brightness 0 … 100 % |
| M77 | Set duration of key sound 0 … 16959 ms |
| M85 | Maximum flow velocity of the liquid 0 … 6553.5 m/s |
| M86 | Number of ultrasonic waves 0 … 16959. When 0 is set, the meter selects the number of ultrasonic waves. |
| M87 | Set the noise threshold. -2 mV are recommended here |
| M88 | Shows the received signal |
| M89 | Shows the received signal |
| M90 | View signal strength, signal quality, time ratio in the upper right corner |
| M91 | View ratio between measured and calculated total transit time; if all pipe parameters have been entered correctly and the sensors have been installed correctly, the ratio should be around 100 % ±3 %; if not so, check all parameters and sensor installation |
| M92 | View estimated fluid sound velocity; if there is an apparent difference to the actual fluid sound velocity, check all parameters and the sensor installation |
| M93 | View total transit time and delta time (transit time difference) |
| M94 | View Reynolds number and pipe factor the device uses |
Sensors
Selection of sensor position
The first step before installation should be finding a suitable position to place the sensors. This is a requirement for accurate measurement results. Some basic knowledge about the pipes/the plumbing system is necessary.
The ideal location would be an infinitely long, straight pipe, whereas there must be no entrapped air (air bubbles) in the liquid. The pipes can either run vertically or horizontally. To avoid inaccuracies due to turbulence in the liquid, a straight flow-calming section before and behind the measuring point should be considered. In general, the section in front of the measuring point should be at least 10 x the pipe diameter, and after the measuring point, it should be 5 x the pipe diameter.
The following chart shows examples of good positions:
| Pipe routings and sensor position | Upstream | Downstream |
| Lup x ø | Ldn x ø | |
![]() | 10D | 5D |
![]() | 10D | 5D |
![]() | 10D | 5D |
![]() | 12D | 5D |
![]() | 20D | 5D |
![]() | 20D | 5D |
![]() | 30D | 5D |
The following should be considered when looking for a good measuring position:
- Install the sensors on a preferably long, straight pipe that is completely filled with the liquid and does not contain any air bubbles.
- Make sure that the liquid and thus the pipe is not too hot for the sensors. The temperature should be as similar to the room temperature as possible.
- Consider fouling of the pipes. If possible, choose a clean or new pipe for measurement. You can also clean the pipe. If this is not possible, consider the thickness of the fouling as part of the liner.
- Some pipes have a synthetic liner. There can be a boundary layer between the outer pipe and the liner. This boundary layer can divert or weaken the ultrasonic waves, which will make a measurement very difficult. If possible, these types of pipes should be avoided. If this is not possible, sensors can also be built into the pipe.
Sensor installation
The PCE-TDS 100H/HS has piezoelectric sensors which can transmit and also receive ultrasonic waves. The time the ultrasonic waves take to pass through the pipe walls and the liquid allows conclusions about the flow velocity. As the transit time of the ultrasonic pulses is very short, the sensors should be installed as precisely as possible to ensure the highest system accuracy.
Take the following steps to install the sensors:
- Some pipes have a plastic liner. There can be a boundary layer between the outer diameter of the pipe and the inner liner. This boundary layer can divert or weaken the ultrasonic waves. In this case, an accurate measurement will be very difficult. If possible, these types of pipes should be avoided.
- Find an ideal position in the piping system, i. e. a straight section with new and clean pipes, if possible.
- It is very important that the pipes are clean. Grind or polish the locations where you would like to place the sensors.
- If pollution cannot be removed, its thickness should be considered as part of the liner of the pipe.
- There must not be an air gap between the sensors and the surface of the pipe. Attach the sensors using sufficient contact gel.
- Moreover, you should make sure there is no dust or sand between the pipe and the sensor. To avoid air bubbles from causing measurement errors, place the sensors on the pipe laterally.
Spacing between the sensors
The distance between the upstream and the downstream sensor can be seen in window M25. The window states the inner distance between the two sensors which you should stick to as accurately as possible. The information in M25, however, must only be considered a coarse adjustment. The fine adjustment is carried out by arranging the spacing in a way that the time constant in M90 is exactly 100%.
To ensure accurate measurement values, the following data must be entered:
- Outer diameter of the pipe (M11)
- Material thickness of the pipe (M12)
- Material of the pipe (M14)
- Liner of the pipe (M16)
- Type of liquid (M20)
- Type of sensors connected (M23)
- The mounting method of sensors (M24)
- Check the spacing in window M25 and fix the sensors accordingly.
- During installation, make sure that the value of the time constant in M90 is 100 %, that the signal strength is >700 and that the signal quality is >60.
Selection of the measurement method
V method
The V method is the most commonly used method for everyday use. It is ideal for inner pipe diameters of 20 to 300 mm. It is also called the reflective method.
Top view of the pipe
- Upstream transducer
- Spacing
- Downstream transducer
- Flow direction
Z method
The Z method is recommended for pipe diameters of 300 to 500 mm.
Top view of the pipe
- Upstream transducer
- Spacing
- Flow direction
- Downstream transducer
W method
The W method is suitable for measurements of plastic pipes with diameters of 20 to 100 mm.
Top view of the pipe
- Upstream transducer
- Spacing
- Downstream transducer
- Flow direction
Data logger
The internal memory of the device can save up to 60,000 values. To set or start the logger, set the memory interval in M50. In M52, you can select the Modbus address. To transfer data to a computer, you will need the software SOFT-PCE-TDS. Via this software, you can also clear the memory.
Calibration
There is a (calibration) factor between the real flow velocity and the flow velocity displayed by the device. This calibration factor can be determined by carrying out a calibration. However, you will need flow calibration equipment to do so. Please send the device to PCE Instruments for calibration. Our contact details can be found at the end of this manual.
Maintenance
Troubleshooting
Error messages after switching on
The device runs a self-diagnostic programme when switched on. This diagnostic programme is supposed to find hardware errors. The following chart shows possible error messages.
| Error message | Reason | Countermeasure |
| „ROM Testing Error” „Segment Test Error” | Software problem | (1) Restart the device (2) Contact PCE Instruments |
| „Stored Data Error“ | The parameters entered by the user are not integrated | Press the ENTER key. All values are reset to default. |
| „Timer Slow Error” „Timer Fast Error” | Problems with the timekeeper | (1) Restart the device (2) Contact PCE Instruments |
| „Date Time Error” | Number error in the calendar | Initialise the calendar via window M61 |
| Repeated reboot | Hardware problem | Contact PCE Instruments |
Error codes and countermeasures
Error codes are indicated by a single letter in the lower right corner of the display. However, these only occur in the menus M00, M01, M02, M03, M90, and M08. The following chart shows the error codes and countermeasures.
| Error code | Message in window M08 | Reason | Countermeasure |
| R | System Normal | No error | – – – |
|
I | Detect No Signal | (1) No signal (2) Sensors installed improperly (3) Too much fouling (4) Liner too thick (5) Sensor cable not properly connected | (1) Change measuring location (2) Clean measuring location (3) Check the cables |
| J | Hardware Error | Hardware problem | Contact PCE Instruments |
|
H | PoorSig Detected | (1) Poor signal (2) Sensors installed improperly (3) Too much fouling or contamination (4) Liner too thick (5) Sensor cable not properly connected | (1) Change measuring location (2) Clean measuring location (3) Check the cables (4) Check the contact gel |
| Q | Frequ OutputOver | The output frequency is outside the permitted range | Check the values in windows M67, M68, and M69. Enter higher values in window M69. |
|
F | System RAM Error Date Time Error CPU or IRQ Error ROM Parity Error | (1) Temporary Problems with the RAM or RTC (2) Permanent Problems with the hardware | (1) Restart the device (2) Contact PCE Instruments |
| 1 2 3 | Adjusting Gain | The device is currently re-setting the signal gain; the number indicates the current work progress | – – – |
| K | Empty pipe | No liquid in the pipeline | Choose a pipe that contains liquid |
Further errors and countermeasures
- When the device indicates 0.0000 even though there is a volume flow and an “R“ glows in the display and the signal quality Q is ok, there must be a different error. In many cases, this means that the zero point has been set incorrectly. Go to menu M432 and reset the zero point.
- The displayed volume flow is obviously too low or too high:
- Probably, the volume flow in window M44 has been entered manually. Set this value to “0“.
- Problems with the sensor installation
- Possibly, the display was set to “0“ via M42 despite an existing volume flow. Repeat the zero point setting and make sure that there is no flow in the pipe.
- The real battery life is shorter than the value stated in M07.
- The battery has exceeded its life cycle.
- The battery has not been charged completely or the charging procedure has been interrupted too frequently. Charge the battery again. If the problem persists, contact PCE Instruments.
- When the battery voltage is between 3.70 and 3.90 V, discrepancies between the estimated and the actual transit time can occur.
Warranty
You can read our warranty terms in our General Business Terms which you can find here: https://www.pce-instruments.com/english/agb.
Disposal
For the disposal of batteries in the EU, the 2006/66/EC directive of the European Parliament applies. Due to the contained pollutants, batteries must not be disposed of as household waste. They must be given to collection points designed for that purpose. In order to comply with the EU directive 2012/19/EU we take our devices back. We either re-use them or give them to a recycling company that disposes of the devices in line with the law.
For countries outside the EU, batteries, and devices should be disposed of in accordance with your local waste regulations. If you have any questions, please contact PCE Instruments.
PCE Instruments’ contact information
Germany
PCE Deutschland GmbH
Im Langel 4 D-59872 Meschede Deutschland
Tel.: +49 (0) 2903 976 99 0
Fax: +49 (0) 2903 976 99 29 [email protected]
www.pce-instruments.com/deutsch
United Kingdom
PCE Instruments UK Ltd
Unit 11 Southpoint Business Park Ensign Way, Southampton Hampshire
United Kingdom, SO31 4RF
Tel: +44 (0) 2380 98703 0
Fax: +44 (0) 2380 98703 9
[email protected] www.pce-instruments.com/english
The Netherlands
PCE Brookhuis B.V. Institutenweg 15 7521 PH Enschede Nederland
Telefoon: +31 (0)53 737 01 92 [email protected]
www.pce-instruments.com/dutch
France
PCE Instruments France EURL 23, rue de Strasbourg 67250 Soultz-Sous-Forets France
Téléphone: +33 (0) 972 3537 17 Numéro de fax: +33 (0) 972 3537 18 [email protected]
www.pce-instruments.com/french
Italy
PCE Italia s.r.l.
Via Pesciatina 878 / B-Interno 6 55010 Loc. Gragnano Capannori (Lucca) Italia
Telefono: +39 0583 975 114
Fax: +39 0583 974 824
[email protected]
www.pce-instruments.com/italiano
United States of America
PCE Americas Inc.
1201 Jupiter Park Drive, Suite 8 Jupiter / Palm Beach 33458 FL USA
Tel: +1 (561) 320-9162
Fax: +1 (561) 320-9176
[email protected]
Spain
PCE Ibérica S.L. Calle Mayor, 53 02500 Tobarra (Albacete) España
Tel. : +34 967 543 548
Fax: +34 967 543 542
[email protected]
www.pce-instruments.com/espanol
Turkey
PCE Teknik Cihazları Ltd.Şti. Halkalı Merkez Mah. Pehlivan Sok. No.6/C 34303 Küçükçekmece – İstanbul Türkiye
Tel: 0212 471 11 47
Faks: 0212 705 53 93
[email protected]
www.pce-instruments.com/turkish.
References
France.fr : Actualités, destinations et infos du tourisme en France
iberica.es
Make an offer on the domain instruments.co.uk - Domains.co.uk
Computer Instruments | Home
Discover Italy: Official Tourism Website - Italia.it
Industrial Measurement Products and Solutions | PCE Instruments
PCE Deutschland GmbH Prüfgeräte vom Hersteller | PCE Instruments
PCE Brookhuis B.V. | PCE Instruments
PCE Americas Inc. : Test Instruments | PCE Instruments
PCE Iberica S.L. Instrumentación | PCE Instruments
PCE Instruments France | PCE Instruments
PCE Italia s.r.l. / Strumenti di Misura | PCE Instruments
PCE Teknik Cihazlar Paz. Tic. Ltd.Şti. | PCE Instruments
PCE Deutschland GmbH Prüfgeräte vom Hersteller | PCE Instruments
PCE Americas Inc. : Test Instruments | PCE Instruments































