Chongqing L1-A series Label Printer
User Manual
L1-A SERIES LABEL PRINTER
USER MANUAL
PACKING LIST
| Printer | 1 set |
| Consumables | 1 coil |
| USB cable | 1 cable |
| User guide | 1 copy |
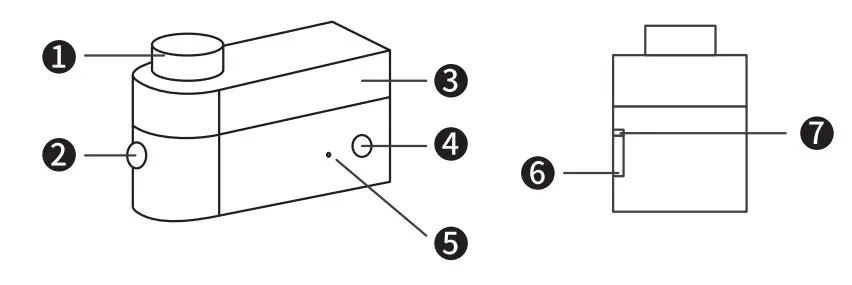
MAJOR PARTS

| 1. Cutter button | 5. indicator light |
| 2. Unlock key | 6. USB interface |
| 3. Top cover | 7. strap hole |
| 4. Power key |
KEY FUNCTION
Power key: turn on/off the printer (long press for 2s)
Unlock key: unlock the cover
Cutter button: Press to cut
INDICATOR STATUS
Greenlight always on: charge complete/printing/paper feeding/stand by/ready
Yellow light always on: charging
Red light flickering: the printer has an alarm, the upper over open/label abnormal (not put in)
CHARGE
Micro USB input interface;
5A
2A input charger. The product offers no power adapter, so users may charge the product by standard
USB charger plug;
Battery: 7.4V/500mAh;3.7V/1000mAh
If the product is idled for a long time, please charge it every 3 months, in case that the lithium battery cannot be charged for the prolonged normal loss.
INSTALLATION OF LABEL AND REPLACEMENT
Installation
Replace
PRINTER OPERATION
Turn on the printer
Press down the power button for two seconds. The printer is ready after the green lighting is normally on.
Turn off the printer
When the printer is turned on, press down the power button for two seconds. After the indicator is extinguish es, release it, then the printer will be turned off.
Print
When the printer is turned on, users can edit the contents on the APP and then print it out.
APP DOWNLOAD AND CONNECT
Model:
Scan the QR code below to download as instructed.
https://www.jingjingfun.com/app-international/
Mode 2:
Search and download “MAKEID-Life” from Google Play or App Store;
CONNECT
- Confirm mobile Bluetooth function is available;
- Open the APP and click the “Connect” in the upper right corner of the APP;
- Search for the printer;
- Connect to the printer as instructed;
FAILURE TREATMENT
Failure Indication
Normally, when the printer is out-of-order or unusual, a prompt message will show on the panel, meanwhile, the communica tion between printer and host and printing will stop.
| Icon | Description | and Cause | Solution |
| The battery is running out | the battery is low, and unclear printing occurs | Connect the power to charge | |
| No label tape detected | Out of label tape/label tape not put in | Change label tape/put in label tape | |
| Open the cover | The print head is not locked | Close the cover | |
| The printing is sluggish | The paper is stuck in the machine | Contact the customer service |
Minor Failures
Failure of the print head
If there are fixed vertical white lines on the print file, the print head may be dirty or damaged (as shown in the following figure).

Clean the print head first. If the failure cannot be solved, replace the print head.
Method of Clean the print head:
Method of Clean the print head:
Please shut down the printer before unlocking the cover and removing the scroll;
Mildly scrub the print head with a cotton cloth or swab dipped in medical alcohol;
After cleaning the print head, please wait for 1-2 min for full volatilization of alcohol.
Please avoid direct contact with the print head in case of damage. After printing in particular, please do not immediately touch the print head in case of overheating and burning.
Shutdown of printer
- Is the power turned on?
- Is there any piece of paper?
- Is the print head locked?
If the printer doesn’t work, please contact customer service.
The printing quality is not good
If the printing quality is not good, please solve it as required below:
- Clean the related parts in line with the maintenance instructions herein;
- The label may not be standard. Replace the label;
The printer cannot be turned off
If the printer cannot be turned off by pressing down the power button for a long time, press down “reset” on the side of the printer with a sharp point to turn it off.
Failure due to other unknown causes For failure due to other unknown causes, Please go to http://www.makeid.com for help.
PRODUCT WARRANTY CLAUSE
Principle of warranty service
- During the period and range of warranty, our company will be responsible for giving free maintenance.
- Need to show the warranty card when you request warranty service.
- Out of the period and range for warranty, we charge for parts and maintenance according to standards.
- Disassemble or assemble the product privately by a non-our-company authorized maintainer, the warranty will be invalid.
- The equipment sent for repair must be packaged using the original packaging or the packaging be considered to have protection ability. The damage caused by improper packaging or transporta tion shall not be covered by the warranty. Our company has the right to charge customers for additional maintenance costs incurred.
- Our company will provide warranty service for corresponding products according to this clause, but shall not be responsible for any direct or indirect loss caused by product failure.
Warranty range and period
- Warranty is limited to the failure caused by materials or process technology.
- The warranty period is from the date of purchase
- Whole machine warranty
A. printer (except for the print head): The warranty period is one year.
B. print head: The warranty period is four months or the cumulative printing length is 10km, which comes first, that will be.
Attention:
When the print head is in normal use, it will compress the consumables and causes friction with them, which will wear and tear naturally.
The quality of consumables and the use environment directly affect the life of the print head, and even damage the print head
The print head needs to be cleaned and maintained regularly.
Improper maintenance may also cause physical damage, and any physical damage to the print head (including but not limited to scratches, cracks, fractures, discoloration, etc.) is not covered by the warranty.
The following conditions are out of warranty
- No warranty card
- Failure or damage caused by negligence or improper operation
- Damage caused by water or foreign matter in the printer
- Print head damage caused by poor consumables.
- Damage caused by improper use environment (including but not limited to power supply, temperature, humidity, etc.)
- Damage caused by force majeure or accident (including but not limited to earthquake, fire, flood, etc.)
- Use Printer for other purposes beyond its range
- Machine damage caused by noncertified engineer maintenance
- Wear in the normal range.
Under the environment with Electrostatic Discharge Test Results the sample may be disconnected, but it can be resumed to normal operation by user after test.
This device complies with part 15 of the FCC Rules.
Operation is subject to the following two conditions:
- This device may not cause harmful interference, and
- this device must accept any interference received, including interference that may cause undesired operation.
NOTE: This equipment has been tested and found to comply with the limits for a Class B digital device, pursuant to part 15 of the FCC Rules. These limits are designed to provide reasonable protection against harmful interference in a residential installation. This equipment generates, uses and can radiate radio frequency energy and, if not installed and used in accordance with the instructions, may cause harmful interference to radio communications.
However, there is no guarantee that interference will not occur in a particular installation.
If this equipment does cause harmful interference to radio or television reception, which can be determined by turning the equipment off and on, the user is encouraged to try to correct the interference by one or more of the following measures:
- Reorient or relocate the receiving antenna.
- Increase the separation between the equipment and receiver.
- Connect the equipment into an outlet on a circuit different from that to which
the receiver is connected. - Consult the dealer or an experienced radio/ TV technician for help.
FCC Radiation Exposure Statement
The device has been evaluated to meet general RF exposure requirements.
The device can be used in portable exposure conditions without restriction.
Warning: Changes or modifications to this unit not expressly approved by the party responsible for compliance could void the user’s authority to operate the equipment.

















