HALCYON R941 1.05W Mini Square Glow Light

Introduction
RISK OF FIRE- Required clearance from structural members and building elements Side Clearance to building element (eg timber, joist or Batten) (SCB): 0mm Height Clearance to building element (eg timber, joist or Batten) (HCB): 0mm Minimum Insulation Clearance to building element (MIC): 0mm
Approved clearances
Note: 0mm is required but 25mm is always recommended for optimum product lifespan through effective heat dissipation.
DO NOT INSTALL THROUGH JOIST, BEAM, RAFTER, OR CEILING BATTEN
Note: Side/Height Clearance is measured from the heat sink.
- Recessed Luminaire Classification:

- IC-F – building insulation that can safely be continuously exposed to 90°C allowed to abut and cover the luminaire.
For indoor use
- Luminaire must be installed by a Registered Electrician.
CONSTANT CURRENT WIRE IN SERIES.
- CHECK THE MINIMUM LOAD OF THE DRIVER.
Installation
- Switch off mains power supply

Cut out 035mm.
- Cutting of holes prior to receiving goods is entirely at the risk of the installer.

- Connect the driver to the mains voltage cable (L, N). Do not connect the light to the driver if the driver is live. Inrush current from live driver will cause instant light failure. Do not switch the secondary side.
- Halcyon UID drivers can be utilized and are able to be installed under insulation if using a standard driver install above insulation.
NOTE: if using one driver per R941 we do have a range of mini drivers available that are designed to fit through the cutout. Their codes begin with DRMACC or DRDMACC, please refer to our website for options.
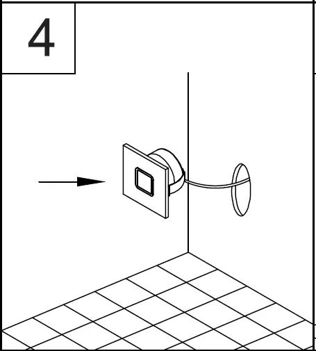
- Carefully install the light into a pre-cut 035mm hole.


- Turn on the mains power and switch on the lighting circuit.

CLASSIFICATION SHEET / IC-F
- Manufacturer/ Supplier: Halcyon Lighting Ltd
- Product Code: R941
- Product Type: LED Recessed Luminaire
- Secondary Voltage: 350mA Constant Current
- Wattage: 1.05W
- Ingress Protection Rating: IP40
Classification

IC-F – building insulation that can safely be continuously exposed to 90°C allowed to abut I and covers the luminaire.
In the vicinity of the recessed luminaire, use an insulation product that:
- Maintains its dimensions and structural integrity when exposed to a temperature of 90°C; and
- Withstands a 30-second needle flame test carried out in accordance with AS/NZS 60695.11.5 with the flame applied to all surfaces of the sample.
Rear of fitting may abut structural members and building elements.
Do not install through or directly into joist, beam, rafter or ceiling batten.

- Recessed luminaires and their associated equipment may pose a risk of fire or damage to property if not installed and maintained correctly. Halcyon recommends a clearance of 25mm to building elements for optimum lifespan.
Halcyon IC-rated luminaires are completely safe to install in sarked timber ceiling linings
- Halcyon accepts no responsibility if the timber used is not treated correctly and dries out, cracks,s or warps over time due to the constant low heat from the aforementioned “IC Rated” LED recessed lighting.
- This data sheet contains the information necessary to ensure compliance with the New Zealand Electrical Code of Practice for Installation and Maintenance of Recessed Luminaires and Associated Equipment AS/NZS 60598.2.2:2001
10 Basalt Place, East Tamaki, Auckland, PO Box 58-501, Botany, Manukau 2163, Auckland, New Zealand Ph (0064 9) 273-9177 Fax (0064 9) 273 9155 Email: [email protected] Web: www.halcyonlights.co.nz




















