R950 Installation
RISK OF FIRE — Required clearance from structural members and building elements
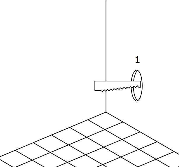
Side Clearance to building element (eg timber, joist or Batten) (SCB): 0mm
Height Clearance to building element (eg timber, joist or Batten) (HCB): 0mm
Minimum Insulation Clearance to building element (MIC): 0mm
Approved clearances
Note. 0mm required but 25mm always recommended for optimum product lifespan through effective heat dissipation.
DO NOT INSTALL THROUGH JOIST, BEAM, RAFTER OR CEILING BATTEN
Note: Side/Height Clearance is measured from heat sink.
Recessed Luminaire Classification: 
IC-F — building insulation that can safely be continuously exposed to 90°C allowed to abut and cover the luminaire.
For indoor use.
Luminaire must be installed by a Registered Electrician.
CONSTANT CURRENT WIRE IN SERIES.
CHECK MINIMUM LOAD OF DRIVER.
1 Switch off mains power supply

2 Cut out ∅35mm
Cutting of holes prior to receiving goods is entirely at the risk of the installer.

- ∅35mm
cut out
3 Connect driver to mains voltage cable (L, N). Do not connect light to driver if driver is live. Inrush current from live driver will cause instant light failure. Do not switch secondary side.
Halcyon UID driver can be utilised and are able to be installed under insulation, if using a standard driver install above insulation.
NOTE: if using one driver per R950 we do have a range of mini drivers available that are designed to fit through the cut out. Their codes begin with DRMACC or DRDMACC, please refer to our website for options.

- Driver Primary feed 240V and Secondary feed 350mA.
- Input
- Output
4 Carefully install light into pre-cut ∅35mm hole.

5

6 Turn on mains power and switch on lighting circuit.

10 Basalt Place, East Tamaki, Auckland, PO Box 58-501, Botany, Manukau 2163, Auckland, New Zealand Ph (0064 9) 273-9177 Fax (0064 9) 273 9155 Email: [email protected] Web: www.halcyonlights.co.nz
![]()
CLASSIFICATION SHEET / IC-F
| Manufacturer / Supplier | Halcyon Lighting Ltd |
| Product Code | R950 |
| Product Type | LED Recessed Luminaire |
| Secondary Voltage | 350mA Constant Current |
| Wattage | 1.05W |
| Ingress Protection Rating | IP40 |
| Classification | ![]() | IC-F — building insulation that can safely be continuously exposed to 90°C allowed to abut and cover the luminaire. |
In the vicinity of the recessed luminaire, use an insulation product that:
(a) Maintains its dimensions and structural integrity when exposed to a temperature of 90°C; and
(b) Withstands a 30-second needle flame test carried out in accordance with AS/NZS 60695.11.5 with the flame applied to all surfaces of the sample.
Rear of fitting may abut structural members and building elements.
Do not install through or directly into joist, beam, rafter or ceiling batten.
| Side Clearance from heatsink to building element (e.g. timber, joist or batten) | SCB: 0mm |
| Height Clearance from heatsink to building element (e.g. timber, joist or batten) | HCB: 0mm |
| Minimum insulation clearance to building element | MIC: 0mm |
Recessed luminaires and their associated equipment may pose a risk of fire or damage to property if not installed and maintained correctly. Halcyon recommends a clearance of 25mm to building elements for optimum lifespan.
Halcyon IC rated luminaires are completely safe to install in sarked timber ceiling linings.
Halcyon accepts no responsibility if the timber used is not treated correctly and dries out, crack or warps over time due to the constant low heat from the aforementioned “IC Rated” LED recessed lighting.
This data sheet contains information necessary to ensure compliance with the New Zealand Electrical Code of Practice for Installation and Maintenance of Recessed Luminaires and Associated Equipment AS/NZS 60598.2.2:2001


















