Magnetic Wireless Charging Dash and Windshield Mount
User Manual

Index
For optimal mounting and charging, please follow the detailed instructions within this manual when using the Velox Magnetic Wireless Charging Dash & Windshield Mount.
Product Information
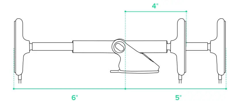
At a Glance

Device Compatibility
Velox products are designed for use with Mag Safe compatible iPhones and cases. Compatible devices include the iPhone 13, iPhone 13 mini, iPhone 13 Pro, iPhone 13 Pro
Max, and the iPhone 12 series.

*iOttie is not liable for possible damages due to product misuse.
Product Specifications
| Item | Specification |
| Total Input | DC 9.0V-1.67A DC 5.0V-2.0A |
| Wireless Charger Output | 7.5 W |
| Cable Length | 5′ |
| Mount Length | 3.58″ |
| Width | 2.6″ |
| Height | 4.7″ |
| Weight | 8.05 oz |
Installing the Velox Dash Mount
Attaching the Dash Mount
Choose an installation method: dashboard/flat surface (A) or windshield (B).
Option A
Dashboard or Flat Surface Installation Choose a flat area on the vehicle’s dashboard and wipe any dust or debris from the surface.
*If your vehicle has a leather dashboard we recommend windshield mounting to avoid damaging your dash.
- Peel off the film on the dashboard pad & attach to the desired installation location.

- Peel off the protective film on the suction cup and press firmly onto the dashboard pad.

- Push down the locking lever to engage suction.

- The dashboard pad is mounted with a semi-permanent adhesive tape. Once removed, it cannot be re-mounted.
- When mounting, it is recommended that the surface and product be above 40°F.
- When removing the dashboard pad, please use caution. We recommend removing slowly from the edge to avoid damage.
Option B
Windshield Installation
Choose a location on the windshield and wipe any dust or debris from the surface.
*The dashboard pad is not recommended for windshield mounting.
- Peel off the protective film on the suction cup and press firmly onto the windshield.

- Push down the locking lever to engage suction.

Additional Information

To reuse the suction cup, simply rinse under warm water and let air dry to restore tacky suction.
*Telescopic arm extends from 4 inches to 6 inches.

Connecting to Power
Connect the attached USB-C cable to the included 12V adapter and plug the adapter into your vehicle’s auxiliary power outlet.

*The Velox Dash Mount does not have an on/off switch. Once the cable is plugged in and the vehicle is turned on, the mount will stay on.
Mounting Your Phone
Simply tap your phone against the mount and he magnets will hold it in place. Charging will begin automatically. You are now ready to start driving.
Operation Warnings
NOTE: This equipment has been tested and found to comply with the limits for a Class B digital device, pursuant to part 15 of the FCC Rules. These limits are designed to provide reasonable protection against harmful interference in a residential installation. This equipment generates uses and can radiate radio frequency energy and, if not installed and used in accordance with the instructions, may cause harmful interference to radio communications. However, there is no guarantee that interference will not occur in a particular installation. If this equipment does cause harmful interference to radio or television reception, which can be determined by turning the equipment off and on, the user is encouraged to try to correct the interference by one or more of the following measures:
- Reorient or relocate the receiving antenna.
- Increase the separation between the equipment and receiver.
- Connect the equipment into an outlet on a circuit different from that to which the receiver is connected.
- Consult the dealer or an experienced radio/TV technician for help
Changes or modifications not expressly approved by the party responsible for compliance could void the user’s authority to operate the equipment.
This device complies with Part 15 of the FCC Rules. Operation is subject to the following two conditions:
(1) this device may not cause harmful interference, and (2) this device must accept any interference received, including interference that may cause undesired operation.
RF Exposure Warning Statements:
This equipment complies with FCC radiation exposure limits set forth for an uncontrolled environment. This equipment shall be installed and operated with minimum distance 20cm between the radiator & body.
This device contains licence-exempt transmitter(s)/receiver(s) that comply with Innovation, Science and Economic
Development Canada’s licence-exempt RSS(s). Operation is subject to the following two conditions:
(1) This device may not cause interference.
(2) This device must accept any interference, including interference that may cause undesired operation of the device.
Important Safety Information
This manual contains important safety and operating instructions for the Velox™ Magnetic Wireless Charging Dash & Windshield Mount (MGSFIO103).
Please read all instructions and safety information before using this product. If damage occurs as a result of failure to follow the instructions, the warranty will be voided.
- Do not expose to rain, moisture, or snow.
- Using an attachment made or sold by anyone other than the manufacturer is not recommended, doing so may result in an increased risk of fire, electric shock, or injury.
- Do not operate this magnetic wireless charging mount if it has received a sharp blow, been dropped, or otherwise damaged in any way; take it to a qualified service person.
- Do not disassemble this magnetic wireless charging mount; take it to a qualified service person when service or repair is required. Incorrect reassembly may result in electric shock or fire.
- To reduce the risk of electric shock, unplug this car charger before attempting any maintenance or cleaning. Turning off the vehicle controls will not reduce this risk.
- Avoid extended exposure to direct sunlight, which may damage the device.
- Exposing this product to open flames may cause it to explode
- Do not expose this product to strong magnetic fields.
- Use a dry, soft lint-free cloth to clean. Do not use any corrosive cleaner or oil to clean.
*Always obey traffic laws and pay attention to the road. Do not attempt to use this device while driving.
This product complies with the radio interference requirements of the European Community.
This product is designed and manufactured with high quality materials and components, which can be recycled and reused.
The product must not be discarded as household waste, and should be delivered to an appropriate collection facility for recycling. Proper disposal and recycling helps protect natural resources, human health and the environment. For more information on disposal and recycling of this product, contact your local municipality, disposal service, or the shop you bought this product.
Designed in New York City. 20 W 37th St, New York, NY 10018. Made in China. U.S. Patent Pending ©2021 iOttie. All rights reserved. iOttie and Velox are registered trademarks owned by iOttie, Inc. John 3:16
Apple, the Apple logo, iPhone, iPod, iPod touch, Mac, macOS, Magsafe and Siri are trademarks of Apple Inc., registered in the U.S. and other countries.
The Velox Magnetic Wireless Charging Dashboard & Windshield Mount is backed by a 2 year warranty.
MagSafe Compatible
Only compatible with MagSafe iPhone series and cases.




















