
Wall mounted range hood
Model: AVN-308CS2 – NEVADA
INSTALLATION GUIDE / USE AND CARE MANUAL
AVN-308CS2-NEVADA Wall Mounted Range Hood
IMPORTANT: Lire et conserver ces instructions. Read and save these instructions.
Installer: Leave this manual with the homeowner. Homeowner: Keep this guide for future reference.
R18082021MC
09062022MC![]()
APPROVED FOR RESIDENTIAL TYPE DEVICES FOR RESIDENTIAL USE ONLY.
READ AND SAVE THESE INSTRUCTIONS.
PLEASE READ THE ENTIRE INSTRUCTIONS BEFORE YOU BEGIN.
INSTALLATION OF THE UNIT MUST RESPECT ALL CODES.
IMPORTANT: Keep these instructions in order to provide them to the electrical inspector in your area.
INSTALLER: Please leave these instructions with the owner of the unit.
OWNER: Keep these instructions for future reference.
Security warning: Turn off the power circuit in the electrical panel and lock the front panel before connecting the wires of this unit.
Requirements: 120V c.a., 60Hz branch circuit of 15V c.a., 20Hz, of 15 or 20A.
IMPORTANT SAFETY PRECAUTIONS
READ AND SAVE THESE INSTRUCTIONS
CAUTION
For residential use only. Do not use to exhaust hazardous or explosive materials and/or vapors.
CAUTION
Range hood may have very sharp edges; please wear protective gloves when installing, cleaning or servicing the unit.
This appliance must be installed by a qualified technician. The manufacturer declines all responsibility in case of failure to adhere to safety standards. Install this hood in accordance with all the specified requirements.
WARNING
To reduce the risk of fire, electric shock or injury to persons, observe the following:
- Use this unit only in the manner intended by the manufacturer. If you have any questions, contact the manufacturer.
- Before servicing or cleaning the unit, switch power off at the service panel and lock the service disconnecting means to prevent power from being switched on accidentally. If the service disconnecting means cannot be locked, securely fasten a noticeable warning device, such as a tag, to the service panel.
- Installation work and electrical wiring must be done by a qualified person in accordance with all applicable codes & standards, including Fire-rated construction.
- Sufficient air is needed for proper combustion and exhausting of gases through the chimney (chimney) of fuel burning equipment to prevent back-drafting.
- Follow the heating equipment manufacturer’s guideline and safety standards such as those published by the National Fire Protection Association (NFPA) and the local code authorities.
- When cutting or drilling into wall or ceiling, do not damage electrical wiring and other hidden utilities.
- Ducted fans must always be vented to the outdoors.
- Do not make alterations to the original wiring.
- Do not attempt to repair or replace any part of your hood unless it is specifically recommended in this manual.
- All other servicing should be referred to a qualified technician.
CAUTION:
To reduce risk of fire and to properly exhaust air, be sure to duct air outside – do not vent exhaust air into spaces within walls, ceilings, attics, crawl spaces, or garages.
Automatically operated device – to reduce risk of injury disconnect from power supply before servicing.
WARNING
TO REDUCE THE RISK OF FIRE, USE ONLY METAL DUCTWORK.
WARNING
TO REDUCE THE RISK OF A RANGE TOP GREASE FIRE, OBSERVE THE FOLLOWING:
- Never leave a range unattended.
- Boil-overs cause smoking and greasy spillovers that may ignite. Heat oils slowly on low or medium setting.
- Always turn hood ON when cooking at high heat or when flambéing food .
- Clean the unit’s surfaces and fan wheels frequently. Grease can accumulate on fan or filters.
- Use proper pan size. Always use cookware appropriate for the size of the surface element.
WARNING: TO REDUCE THE RISK OF INJURY TO PERSONS, IN THE EVENT OF A COOKTOP GREASE FIRE, OBSERVE THE FOLLOWING:
- Smother flames with a close-fitting lid, cookie sheet, or metal tray, and then turn off the burner.
- If the flames do not go out immediately, EVACUATE AND CALL THE FIRE DEPARTMENT.
- Never pick up a flaming pan – you may BURN YOURSELF.
- DO NOT USE WATER, including wet dishcloths or towels -a violent steam explosion will result.
- Use an extinguisher ONLY if:
a) You know you have a class ABC extinguisher, and you already know how to operate it.
b) The fire is small and contained in the area where it started.
c) The fire department has been called.
d) You can fight the fire with your back to an exit.
Dimensions

INSTALLATION

| A | Floor to ceiling height | VARIABLE |
| B | Floor to counter top height (standard) | 36″ |
| C | Recommended height between cooking surface and bottom of the hood | 28″ to 30″ |
| D | Hood height | 7 1/3″ |
| E | Chimney height | 13 3/4″ to 327/8″ |

The information contained herein is based on sources that we believe to be reliable, but is not guaranteed by us, may be incomplete and/or may change without notice.
INSTALLATION INSTRUCTIONS
TOOLS NEEDED TO INSTALL THE RANGE HOOD
- Safety gloves and goggles
- Electrical drill
- Phillips screwdriver
- Flathead screwdriver
- Hammer
- Adjustable wrench
- Sheet metal sheers
- Needle nose pliers
- Scissors (to cut duct tape)
- Duct tape
- Marker or pencil
- Level
- Measuring tape
PARTS INCLUDED
BEFORE INSTALLING THE HOOD
- For the most efficient airflow exhaust use a straight run or as few elbows as possible.
- Vent unit to the outside only.
- At least two (2) people are required for installation.
- Remove the range hood from the carton packaging and place on a flat surface for assembly.
ELECTRICAL REQUIREMENTS
CAUTION: THIS APPLIANCE SHOULD BE PROPERLY GROUNDED.
- This hood must be power supplied 120 V, 60 Hz, and connected to an individual, properly grounded circuit (3-prong outlet).
- If the electrical supply does not meet above requirements, call a licensed electrician before proceeding.
- Route house wiring as close as possible to the installation location, in the ceiling or back wall.
- The hood must be connected to the house wiring in accordance with the local codes and norms.
WALL FRAMING FOR ADEQUATE SUPPORT
This vent hood is heavy. Adequate structure and support must be provided in all types of installations. If mounting on dry wall, the hood must be secured to vertical studs in the wall or to a horizontal support.
PREPARING THE INSTALLATION
- The exhaust air must not be discharged into a chimney which is used for exhausting fumes from other appliances burning gas or other fuels.
- Determine the exact location of the vent hood. Mark the location. Find the centerline of the cooktop.
Use a level to draw a vertical straight pencil line on the wall. - Plan the route for venting exhaust to the outdoors. Use the shortest and straightest duct route possible. Long duct runs, elbows and transitions will reduce the performance of the hood. Use as few of them as possible. Larger ducting may be required for longer duct runs.
- Install a wall cap with damper or roof cap at the exterior opening/wall. Join the wall or roof cap to the ductwork.
- Connect round metal ductwork to cap and work back towards the hood location. Use 2″ metal foil duct tape to seal the joints.

INSTALLATION DRAWINGS
- The minimum hood distance above cooktop must not be less than 26” for an electric cooking surface and no less than 30″
* for a gas cooking surface.
* Distances over 30″ are at the installer’s and users’ discretion, providing that ceiling height permits.
ELECTRICAL INSTALLATION
WARNING
THIS RANGE HOOD MUST BE PROPERLY GROUNDED. TURN OFF ELECTRICAL POWER AT SERVICE ENTRANCE BEFORE WIRING. CHECK TO MAKE SURE THAT THE ELECTRIC CHORD IS NOT IN CONTACT WITH THEE SHARP EDGES OF THE APPLIANCE.
IMPROPER GROUNDING CAN RESULT IN A RISK OF ELECTRIC SHOCK. CONSULT A QUALIFIED ELECTRICIAN IF TGROUNDING INSTRUCTIONS ARE NOT COMPLETELY UNDERSTOOD OR IF THERE IS DOUBT AS TO WHETHER TAPPLIANCE IS PROPERLY GROUNDED. DO NOT USE AN EXTENSION CORD. IF THE POWER SUPPLY CORD IS TOOSHORT, HAVE A QUALIFIED ELECTRICIAN INSTALL AN OUTLET NEAR THE APPLIANCE.
- This appliance must be plugged into an outlet that is properly installed and grounded. In the event of an electrical short circuit, grounding reduces the risk of electric shock by providing an escape wire for the electric current. This appliance is equipped with a cord having a grounding wire with a grounding plug.
- Set the electrical power supply within the space covered by the decorative chimney.
- Position the outlet offset so that the power cord will not interfere with the round duct.
- Make sure this does not interfere with a mounting bracket fastening area or with the decorative chimney (where the chimney touches the wall).

PREPARATION BEFORE HOOD INSTALLATION
You may Choose between 1 or the 3 venting proposed options ; TOP 6″ ROUND , TOP 3 1/4″ X 1REAR 3 1/4″ X 10″. Due to the weight and size of the hood, at least two (2) people are required toand install the hood safely.
OPTION 1 : 6” ROUND/TOP EXHAUST
As shown on figure 1 the 6” round/top exhaust is already pre-installed for venting.
OPTION 2 : 3-1/4” X 10” TOP-RECTANGULAR INSTALLATION :
- Remove the pre-installed Round Exhaust (Refer to Figure 1). Keep 6 screws aside as you ill ned them to install the Rectangular Exhaust.
- Place the rectangular 3-1/4” X 10” Exhaust Plate over the opening and secure using the previously mentioned screws (Refer to Figure 2).

OPTION # 3 : 3-1/4″ X 10″ REAR – RECTANGULAR INSTALLATION
- Remove the pre-installed Round Exhaust (Refer to Figure 1).

- Remove the Rear Vent Cover (image 3). Keep cover and screws as they will be needed later in the process.
- Remove the 4 screws that secure the blower/motor. Hold the blower and try and keep it from dropping as you remove screws. Keep screws to re-attach blower afterwards. Slowly rotate blower (1/4 turn) and align it with mounting plate (image 4) located at the rear exhaust hole. Using the rectangular plate (image 4) securely screw the blower into its new position facing the rear exhaust opening (Refer to Figure 4).

- Place Rectangular Exhaust (image 5) over vent rear and Lock it into place using 4 screws (Refer to Figure 5).

- Finally Using screws , install the vent cover plate removed (image3) from the rear on the top of the hood (Refer to Figure 3).

DUCTWORK INSTALLATION :
- Determine and make all necessary cuts in the wall or ceiling for the ductwork. NOTE: Install the ductwork before installing the insert.
- Use steel pipe to connect the exhaust to the hood and the ductwork above. Seal with duct tape to render all joints secure and air tight. Please refer to local and National codes for the usage of a damper (included).
INSTALLING THE HOOD MOUNTING BRACKET
WARNING:
WHEN CUTTING OR DRILLING INTO WALL, DO NOT DAMAGE ELECTRICAL WIRING AND OTHER HIDDEN UTILITIES. WHEN BUILDING FRAMEWORK, ALWAYS FOLLOW ALL APPLICABLE CONSTRUCTION CODES AND STANDARDS.
- To construct wood wall framing that is flush with surface of wall studs, ensure that:
a) The framing is centered over installation location and is sturdy enough to support the weight of the hood.
b) The height of the framing will allow the mounting bracket to be secured to the framing within the dimensions shown. - After wall surface is finished, carefully center and level the hood mounting bracket, secure it to wall framing with three 4 x 16 mm mounting screws (that are provided). Tighten the screws completely.
IMPORTANT: Make sure that holes locations are leveled and correctly centered by the vertical centerline (this installation instruction applies for concrete wall).
WARNING: TWO PEOPLE ARE REQUIRED TO LIFT AND POSITION THE HOOD ONTO THE MOUNTING SCREWS.
INSTALL UPPER CHIMNEY MOUNTING BRACKET
- Center the bracket over the hood location and place it flush with the wall.
- Make sure that the slots of the upper chimney are installed horizontally and level.
- Use the upper chimney mounting bracket as a template to mark the position of its screws.
- Drill both screw holes using a 5/16″ drill bit. Insert the drywall anchors (included) into the drilled holes (one per hole).
- Secure the upper chimney bracket to the wall using two 4 x 16 mm mounting screws. Make sure that the bracket is tight against the wall.

WARNING: BE CAREFUL WHEN INSTALLING THE DECORATIVE CHIMNEY AND HOOD, THEY MAY HAVE SHARP EDGES.
CAUTION: DO NOT REMOVE THE PROTECTIVE PLASTIC FILM COVERING THE DECORATIVE CHIMNEY AT THIS STAGE.
INSTALLING THE UNIT

Step 1: Mark the leveling point of the hood. Position two mounting screws on the wall, leaving 1/8″ off the wall.
Step 2: Measure the width of the chimney then attach the chimney mounting brackets to the wall at the desired height, taking into account the minimum clearance between the hood and the cooking surface (see installation drawing on page 20).
Step 3: Align hood-mounting holes to the screws on the wall and hook the hood into place. Tighten screws to secure hood to the wall. CAUTION: Make certain the range hood is secure before releasing!
Step 4: Slide a 6″ round metal venting tube over the adapter / plug (see Figures 3a or 3b). Seal the joints with metal tape. 
Step 5: Plug the power cord into the socket (see Figure 4). 
Step 6: Install both chimneys and tighten screws to secure the lower chimney to the range hood as shown in Figure 5.
Step 7: To avoid scratching the chimney, extend the upper chimney slowly and carefully to the chimney-mounting bracket and tighten screws as shown in Figure 6.
NOTE: Remove the protective plastic film covering the top chimney cover and the hood.
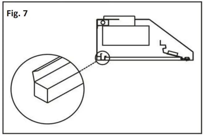
Step 8: Insert the oil tunnel (see figure 7).
Step 9: To install the filters, refer to Figure 8 by following the steps below:
- Point the filter toward the rear of the hood.
- Push the filter until it is level.
- Slide forward in the check mark on the front of the hood.
- Lower the filters.
- Slide back until it snaps into place.
Step 10: Turn power ON in control panel. Check all lights and fan functions.
OPERATING THE HOOD

Button functions:
| Power: Power ON/OFF the range hood and activate power‐off delay timer. | |
| Decrease: To decrease Blower (motor) speed, to decrease timer and to enter timer mode. | |
| Increase: To increase Blower speed, to increase timer and to reset cumulative timer. | |
| Blower Speed Indicator: Shows current blower speed (1‐3). | |
| Light: To turn ON/OFF and to dim halogen lights. | |
| Power‐Off Delay Digital Timer: Indicates the length of time left for the ‘delay off’ function. |
Controls:
- Automatic cleaning reminder:
This range hood is equipped with a cleaning reminder that will activate after 30 hours of use. Whenblower (motor) starts to rotate, cumulative running time will be shown in Power‐On Elapsed Digital
Timer. This timer icon flashes “C” when 30 hours of usage is up and reminds user to clean the aluminum filters.
After cleaning the filters and when the motor is not in use, press and hold the Increase (+) buttonover three (3) seconds to reset the timer. Please note that turning off the system will not reset thePower‐On Elapsed Digital Timer. - Adjusting the blower (motor) speed:
Press Power button once to turn on the system. The Blower Power Indicator icon flashes, showingthat the blower is ready. Decrease (‐) button will decrease the speed of the blower from 3 to 1(strongest to quietest). Increase (+) button will increase the speed of the blower from 1 to 3 (quietestto strongest).
Press Power button once to turn off the system. - Adjusting the timer function:
While the blower is not running, press and hold Decrease (‐) button over three (3) seconds to enter
timer mode. Adjust to desired time by pressing the Increase (+) or the Decrease (‐) button (for
minimum of 1 minute to a maximum of 9 minutes). This setting will be saved immediately. - Activating the timer function:
While the blower is running, press and hold the Power button for over three (3) seconds to activate
Power‐off Delay Digital Timer. The Power‐off Delay indicator will light up and Power‐off Delay Digital
Timer will begin to countdown; when it reaches zero, the blower will shut down. - Adjusting the light:
Press Light button once to turn lights on and once again to turn lights off.
While the lights are off, press and hold Light button for over three (3) seconds to adjust the intensity
of the lights. The level of brightness will be stored in system’s memory.
CAUTION: DO NOT touch the lights until switched OFF and cooled.
Note: Light settings are independent from other settings (including power‐off delay) and lights have to be manually turned on or off.
Note: The system saves user configurations. Settings such as light, timer and blower speed will remain the same the next time it is turned on.
MAINTENANCE
SAFETY WARNING: NEVER PUT YOUR HAND INTO AREA HOUSING THE FAN
For optimal operation, clean range hood and filters regularly. Regular care will help preserve the appearance of the range hood.
CLEANING THE SURFACES
Clean periodically with hot soapy water and clean cotton cloth. Do not use corrosive or abrasive detergent or steel wool pads, which will scratch and damage the stainless steel finish. For heavier soil, use a liquid degreasing cleaner. Use a stainless steel cleaner to clean the surfaces of the hood. Avoid getting cleaning solution onto or into the
control panel. Follow directions of the stainless steel cleaner.
CAUTION
USE SOFT TOWEL TO WIPE OFF THE CLEANING SOLUTION, GENTLY RUB OFF ANY STUBBORN SPOTS. USE DRY SOFT TOWEL TO DRY THE HOOD. ALWAYS SCRUB LIGHTLY WITH CLEAN COTTON CLOTH AND IN THE DIRECTION OF THE GRAIN.
DO NOT ALLOW DEPOSITS TO ACCUMULATE OR REMAIN ON THE HOOD. DO NOT USE ORDINARY STEEL WOOL OR STEEL BRUSHES.
DO NOT ALLOW SALT SOLUTIONS, DISINFECTANTS, BLEACHES OR CLEANING COMPOUNDS TO REMAIN IN CONTACT WITH STAINLESS STEEL FOR EXTENDED PERIODS. MANY OF THESE COMPOUNDS CONTAIN CHEMICALS, WHICH MAY BE HARMFUL. RINSE WITH WATER AND WIPE DRY WITH A CLEAN CLOTH.
CLEANING THE GREASE FILTER
The filters are intended to filter out residue and grease from cooking and are required to be kept clean. Filters should be cleaned after every 30 hours of use (or once a month, depending on use). Remove and clean by hand in soapy water. Dry filters and re‐install. If cleaning the filters in the dishwasher (NOT RECOMMENDED), use a non‐ phosphate detergent. The use of detergent with phosphate may cause discoloration of the filters, but will not affect their performance. This discoloration is not covered by the warranty.
REPLACING THE FILTERS
If filters wear out due to prolonged use, please contact your service/parts provider for replacement filters.
NOTE: ALSO REPLACE DAMAGED FILTER THAT HAS PUNCTURED OR BROKEN MESH, BENT OR BROKEN FRAME.
CLEANING THE STAINLESS STEEL SURFACES
Regularly wash surfaces with dry cloth or clean cloth soaked in warm water and mild soap or liquid dish detergent.
Always clean following the grain. Always rinse thoroughly with clear water (2‐3 times) and wipe dry completely.
Specially designed stainless steel cleaners can also be used.
REPLACING THE LED LIGHT BULBS
Cut the power supply by turning the hood off. Wait for the LED lamps to cool. To prevent damage or to avoid reducing the life of the new bulb, do not touch the bulb with your bare fingers. Replace the bulb by manipulating with a tissue paper or cotton gloves.
If the new lights do not work, ensure that each lamp is properly inserted into its socket before requesting the intervention of a service agent.
CAUTION: LED lamps can only be replaced with a new LED lamp. The lamp rating must be equal to the one already used. Make sure all the control switches are off and the hood is unplugged or that the breaker is OFF.
STEPS:
- This range hood uses LED light fixture: 3W Max 12V LED
- Make sure the range hood is unplugged or turn OFF the breaker. Make sure the lights are cool to touch.
- Placea flat‐headscrewdriver between the light housing and the hood body, gently pry up the light housing and search for the metal clip.
- Apply force to the metal clip and pull out the light fixture. Disconnect the power cable and discard the used light fixture.
- Reverse the steps to install a new LED light fixture. Turn the breaker or hood ON to test for operation.

SERVICE AND WARRANTY
We warrant our hood against defects in materials and workmanship under ordinary residential use for one
- full year from the date of original retail purchase. This limited warranty applies to any repair and /or replacement parts.
This limited warranty is not subject to improper installation, accident, misuse, neglect, fire or other external causes, alterations, repair or commercial use.
You can contact our After Sales/Service Department from: Monday through Friday, 8h30 to 16h30 (Eastern STD Time)
AGI SERVICE
Tel: 450.963.1303
Toll free: 1.888.651.2534
Fax: 450.963.1416
Web/E‐mail: www.agiservice.ca / [email protected]





















