APC-790 and APC-890 Heavy Duty 24V System Aiticulated Arm

Preliminary Checks
To ensure safety and efficient automation make sure the following requirements are met:
- The gate structure must be suitable for automation.
- Make sure that the gate leafs move properly and uniformly without any irregular friction during their entire travel.
- The gates hinges must be in good condition with no bitting, no rust and must be well greased.
- The gates should be able to be freely opened and closed before installing the gates automation system.
- It is strongly suggested to have a gate stop installed for the closed position.
Important Safety Information
Installer and owners should observe the following:
- Make sure that there is sufficient space for the gate(s) to swing open fully to the desired opening angle.
- The control Panel Box must be installed in the area within 9 meters maximum cable distance from motor and cannot be damaged.
- Do not change with parts or components not supplied by the manufacturer, this includes sensors, buttons, solar panels, transformers and any component not listed in the compatibility list.
- Make sure all wiring works are correct and in good condition before connecting the battery, solar panel or transformer to the control panel.
- Turn off the power and disconnect the battery when doing any maintenance.
- Ensure the control panel box is free from water leakage to avoid short circuiting of the control panel.
- Do not supply mains power directly to the motor, control box or any accessories.
- Do not install the operating system if in doubt. Contact the manufacturer.
- Do not cross the gate while it is operating, Safety sensors are only to prevent accidents or injuries.
- Keep the remote controls in safe place and away from children.
Before beginning installation, the manual should be read thoroughly concerning all aspects of the installation including all precautions and safety information. The system is fitted with an over-current sensing feature to assist in preventing damages, injuries and death. All precautions must be taken by the installer that adjustments are set correct based on the gates weight, height and length. The system sensitivity should be set to allow consistent operation of the gates under normal operating conditions. This does not include operating against wind. The system may not detect (Over current sense) against light loads such as small object, young children and animals. It is the operators duty to ensure that the area is clear prior to operation. Photo sensors or Reflective sensors should always be installed to assist in accident or death prevention. Rubber edging should be installed onto the gates to assist in dampening any accidents or damages. You agree to install this product following any and all safety requirements listed in this manual or required under local, state or national regulations. APC Australia, its distributors, stockist or sellers are not liable for any direct, indirect, incidental, special or consequentional damages or loss of profit wether based in contract or any other legal theory during the course of warranty or afterwards. If you do not feel capable of properly installing the operator based on the above information or otherwise do not proceed.
Tools Required

Motor Layout Explained
- DC Motor
- Manual Override Cam
- Limit Switch Cams
- Internal Gearing
- Limit Switch
- Motor Output Spline
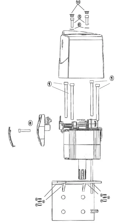
Assembly Overview



IMPORTANT
Part #6 (O Ring) must be installed to prevent water leakage into the motor.
Rural Gate Installation methods
Round Post
Cut to allow square fixing Coach Bolt Fixing (Not Included) 200x100mm Plate may be required (Not Included)
Tube Gate
Drill Holes to allow secure fixing Nut and Bolt Fixing (Not Included)
Handy Dimensions

Gate Stop Installation
Before beginning the installation of the gate motors a physical gate stop must be installed at the closed position. For Single gate systems the gate stop can be installed in two different methods.
- On the driveway itself at the furthest point from the hinge as illustrated in the diagram below (Fig 1).
- On the post that the gate will close too (Fig 2).
- Double gate systems the gate stop must be installed in the center of the driveway stopping both gates (Fig 3).
When installing on the driveway itself it is recommended to use a rubber floor stop to prevent damage to vehicle entering and exiting. When installing on the post for single gate installations a 90° angle can be used with a rubber padding to dampen or soften the close and prevent damage to the gate.
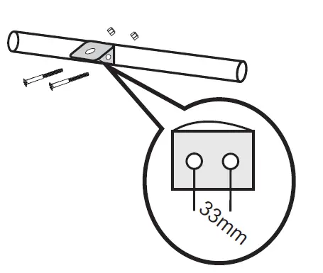
Marking The Installation Levels for the post and gate
- Using a Spirit Level/Bubble Level Draw a horizontal line across the desired gate rail, this line should continue across the gate post as shown in Fig2.
This red line here is a guideline for:
- At the post end the line is the base measurement required for the post bracket.
- At the gate end the line is the top of the gate mounting bracket
Note: The post mounting brackets can be installed as illustrated in Fig 2, Standard or Reversed. Please choose the method that suits your installation requirement and proceed with the below.
Using the line drawn in Step 1A mark another horizontal line 40mm (4cm) above the original line. This line will be the mounting height for the centre of the 90⁰ bend on the post bracket.
Post Bracket Installation
- Position the motor mounting bracket on the post or pier using the mark line created in the previous step (the corner of the 90° bend on the line). Remember to use a spirit level/bubble level on top of the bracket.
- Mark the fixing holes whilst holding the bracket in position.
- Drill the required fixing holes.
- Use the appropriate fixing hardware to fix the bracket to the post or pier.
Installing the motor(s)
Mount the motor onto the post bracket and install using the 4x Nuts and Bolts provided.
NOTE: The motor(s) are identical and can be installed on either side.
Manual Override
Insert the manual override assembly onto the override spline and turn the assembly by 45° towards the front of the motor, this will disengage the motor and allow the motors spline shaft to be turned once the primary arm has been connected.
Installing the Primary Arm
Attach the Primary arm to the motor spline shaft and tighten the grub screw on the primary arm into the dowel on the motor spline shaft (as illustrated below) so that the units are locked together. The bottom of the arm should be lower than the bottom of the spline by 1mm when installed correctly. Please note the arm will drop down if not completed correctly
Installation Examples
Choose the installation configuration to suit the APC-790/890 model purchased.
Pull To Open
Opening towards the gate motor

Push To Open
Opening away from the gate motor
Arm and Gate Bracket Assembly and fitting
Below is example installation dimension based on motor installation bracket and Arm length, each installation is different and it is suggested to Clamp the arm connection to the gate before fixing to test the operation.
Never install the arms with an inversion of the primary arm towards the gate as per fig 1 and 2. The primary arm should always flow into the secondary arm as per fig 3 and 4.

Suggested Formula to obtain your “B” Distance
- Take the “B” FLUSH dimension for your installation bracket and arm.
- Subtract YOUR gate mounting depth from the “B” dimension obtained in Step 1. eg. “B” FLUSH dimension MINUS YOUR “A” Dimension = xxx mm.
- The final dimension is where the centre of the gate bracket will be installed from the centre of the motors output axis, this is your “B” dimension
For Push to open the arm is installed in the Open Position For Pull to Open the arm is installed in the Closed Position
PULL TO OPEN Limit Switch Adjustment
Push to Open installations please see next page
The limit switches are used to set the switch off point for each direction of the travel of the motor. It is crucial that the limit switches are set correctly as per the diagrams below and tested using the batteries to ensure they stop at the open and closed positions.
Adjusting the Opening limit switch
Starting from a closed position release the manual override using the supplied override assembly, turn the lever 90° then open the gate fully to the desired opening position, loosen the cams, then turn the cam until the limit switch clicks, now gently re-tighten the cam screw.
Adjusting the Closing limit switch
Manually close the gate to the desired position, adjust the specified cam as described above and when all done gently re-tighten the screw.
NOTE: You should hold the open position cam whilst adjusting to ensure its position is not changed.
Re-engage the manual override
PUSH TO OPEN Limit Switch Adjustment
Pull to Open installations please see the previous page
The limit switches are used to set the switch-off point for each direction of the travel of the motor. It is crucial that the limit switches are set correctly as per the diagrams below and tested using the batteries to ensure they stop at the open and closed positions.
Adjusting the Opening limit switch
Starting from a closed position release the manual override using the supplied override assembly, turn the lever 90° then open the gate fully to the desired opening position, loosen the specified cam, then turn the cam until the limit switch clicks, now gently tighten the cam screw.
Adjusting the Closing limit switch
Manually close the gate to the desired position, adjust the specified cam as described above and when all done gently re-tighten the screws evenly.
NOTE: You should hold the open position cam whilst adjusting to ensure its position is not changed.
Re-engage the manual override

Wiring
Pull-To-Open
Motor will be pulling the gate towards it for OPENING. Gates (Left and Right) are based on observation of the gates from the same side the motors will be installed on.
- Pull-To-Open

- Configuration 1
- Left gate opens FIRST (Motor 1)
- The right gate opens SECOND (Motor 2)
- Pull-To-Open

- Configuration 2
- Right gate opens FIRST (Motor 1)
- Left gate opens SECOND (Motor 2)
Push-To-Open
Motor will be pulling the gate towards it for CLOSING. Gates (Left and Right) are based on observation of the gates from the same side the motors will be installed on.
- Push-To-Open

- Configuration 1
- Left gate opens FIRST (Motor 1)
- Right gate opens SECOND (Motor 2)
- Push-To-Open

- Configuration 2
- Right gate opens FIRST (Motor 1)
- Left gate opens SECOND (Motor 2)
APC WARRANTY
APC warrants the original purchasers or the APC gate(s) opening system for a period of twelve months from the date of purchase (not installation), the product shall be free of defects in materials and workmanship under normal use. During the warranty period, APC shall, as its option, repair or replace any defective product upon return of the product to its factory, at no charge for labour and materials. Any replacement and/or repaired parts are warranted for the remainder of the original warranty, The original owner must promptly notify APC in writing that there is defect in material or workmanship, such written notice must be received in all events prior to expiration of the warranty.
International Warranty
APC shall not be responsible for any freight fees, taxes or customs fees.
Warranty Procedure
To obtain service under this warranty, AND AFTER CONTACTING APC, please return the item(s) in question to the point of purchase. All authorized distributors and dealers have a warranty program, anyone returning goods to APC must first obtain an authorization number. APC will not accept any shipment for which prior authorization has not been used.
Conditions to Void Warranty
This warranty applies only to defects in pairs and workmanship relating to normal use. It does not cover:
- Damage incurred in shipping or handling
- Damage caused by disaster such as fire, flood, wind, earthquake or lightning
- D amage due to causes beyond the control of APC such as excessive voltage, mechanical shock or water damage
- Damage caused by unauthorized attachment, alterations, modifications, or foreign objects.
- Damage caused by peripherals (unless such peripherals were supplied by APC)
- Defects caused by failure to provide a suitable installation environment for the products
- Damage caused by usage of the products for purpose other than those for which it was designed.
- Damage from improper maintenance
- Damage arising out of any other abuse, mishandling, and improper application of the products.
Under no circumstances shall APC be liable for any special, incidental, or consequential damages based upon breach of warranty, breach of contract, negligence, strict liability, or any other legal theory. Such damages include, loss of profits, loss of the product or any associated equipment, cost of capital, cost of substitute or replacement equipment, facilities or services, down time, purchaser’s time, the claims of third parties, including customers, and injury to property.
Disclaimer of Warranties
This warranty contains the entire warranty and shall be in lieu of any and all other warranties, whether expressed or implied (including all implied warranties of merchantability or fitness for a particular purpose). And of all other obligations or purporting to act on its behalf to modify or to change this warranty, nor to assume for it any other warranty or liability concerning this product.
Warranty Repairs
APC will at its option repair or replace out-of-warranty products which are returned to its factory according to the following conditions. Anyone returning goods to APC must first obtain an authorization number. APC will not accept any shipment whatsoever for which prior authorization has not been obtained. Products which APC determines to be repairable will be repaired and returned. A set fee that APC has been predetermined and which may be revised from time to time will be charged for each unit repaired. Products that APC determines are not repairable will be replaced by the nearest equivalent product available at that time. The current market price for the replacement product will be charged for each replacement unit.
























