DOMUS Lighting MIRROR-10 Wall Vanity Picture Light Installation Guide
MIRROR-10
| Variant | Item No | Description |
| 12001 | MIRROR-10-BLK | 10W Vanity light, black finish. Trio colour technology. |
| 12003 | MIRROR-10-CHR | 10W Vanity light, chrome finish. Trio colour technology. |
| 12005 | MIRROR-10-SCHR | 10W Vanity light, satin chrome finish. Trio colour technology. |
| 12007 | MIRROR-10-WHT | 10W Vanity light, white finish. Trio colour technology. |
Thank you for purchasing your new LED MIRROR-10, Please take the time to read and understand the instruction sheet below. Failure to do so may void warranty.
Specifications
| Voltage: | 240V AC | Lumen (±5%): | Warm White 3000K – 1040lm Neutral White 4000K – 1110lm White 5700K – 1180lm | Dimmable: | No |
| Power: | 10W | Beam Angle: | 120° | Operating Temp: | -20°C~45°C |
| IP Rating: | IP40 | CCT: | 3000K – 4000K – 5700K (Switchable) | ||
| CRI: | ≥80 | Lifespan: | 50,000hrs |
Assembly Instructions
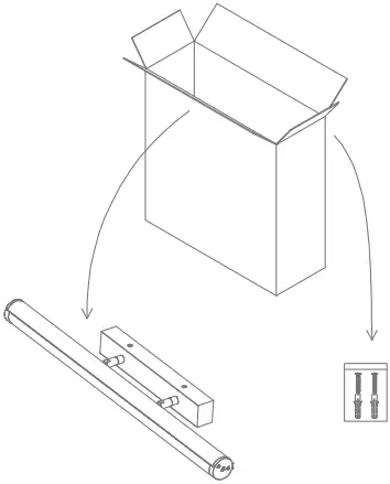
- Remove from box

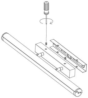
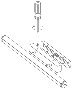
- Press the hasp to take out the bracket

- Knock-in the plastic anchor into the wall. Fix bracket with screw into the wall

- Remove the link pressing clip, connect the wires correspondingly

- Fix the lamp to the bracket

- Slide the preferred CCT before turning on the lamp.

- Switch on

Note:
- -The lamp must be installed by professional electrician
- Ensure the power supply is switched off before fitting this product
- Do not touch the lamp when in use
- Keep away from hot steam and corrosive gas
![]()




















