RAZER Key Light Chroma Professional Studio Light with RGB User Guide

1. WHAT’S INSIDE/ WHAT’S NEEDED
WHAT’S INSIDE
- Razer Key Light Chroma


A. Mount sockets
B. LED panel Powered by Razer Chroma™ RGB
C. Power switch
D. Power port
E. Reset button
- Extendable support column

F. Ball-head mount groove
G. Height extension locks
H. Support column thread
- Ball-head mount

I. Ball-head screw
J. Ball-head adjustment knob
K. Support column socket
- Table clamp

L. Support column screw
M. Rubber-padded clamp
N. Clamp adjustment lever
- Power adapter with interchangeable adapter plugs*

- Power adapter extension cable

- 2 x Cable clips in 2 sizes (S, L)

- Important Product Information Guide
WHAT’S NEEDED
Product requirements
- 2.4 GHz WiFi network (WPA/WPA2 encryption)
- WiFi-enabled PC/ Laptop (WindowsG: 10 64-bit or higher) or iOS / Android device”
Razer Synapse requirements
- Windows·:!> 10 64-bit (or higher)
- Internet connection for software ins ta I lation
Razer Streaming app requirements
- iOS 13 /Android 81 Oreo (or higher) device with Bl uetooth connectivity”
- Internet connection for app installation
2. LET’S GET YOU COVERED
You’ve got a great device in your hands, complete with a 1-year limited warranty coverage. Now maximize its potential and score exclusive Razer benefits by registering at razerid.razer.com
Got a question? Ask the Razer Support Team at support.razer.com
3. TECHNICAL SPECIFICATIONS
- Razer Key Light Chroma
- Light Source: White LED, RGB LED
- Brightness: 2800 Lumens, adjustable from 0-100%
- Colors: White 3000K – 7000K adjustable, RGB
- CRI: 90
Power and controls
- Controls: On/Off Switch; Reset button
- Power Source: 52.5W power supply
Mechanical specifications
- Mounting Options: Ball adapter with %” threaded screw
- Material: Aluminum
- Dimensions: 360 mm x 260 mm
- Weight: -1600 g
Mount
- Pole+ Adapter+ Table clamp dimensions: Min 553 mm/ Max 1350 mm
- Pole+ Adapter+ Table clamp weight: – 760 g
- Clamp range: 2.5 mm to 75 mm
4. SETTING IT UP
- Loosen the adjustment knob until you fully disassemble the ball-head mount. With the support column’s mount groove positioned inside the ball-head mount, tighten the adjustment knob to lock it in place.

- Securely fasten the extendable column onto the table clamp.

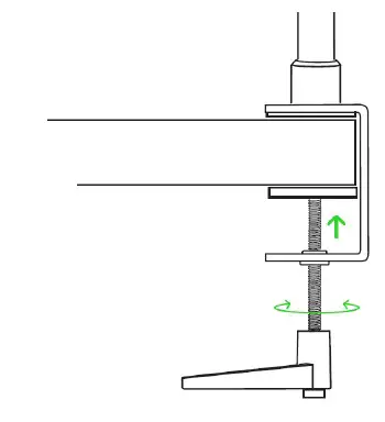
- Loosen the clamp adjustment lever until you can slide the table clamp opening towards the edge of your table, and then tighten until it’s secured in place.

Make sure the table clamp is flush against the edge of vour table. If the table clamp has been installed in an area where full lever rotation is limited, pull and rotate the clamp adjustment
lever to reposition its starting point. - Securely fasten the Razer Key Light Chroma onto the ball-head screw.

- With the correct AC plug for your region attached to the power adapter, connect it to the Razer Key Light Chroma and plug it into a power outlet.

(Optional) For a longer reach, attach the extension cable to the power adapter.
- Switch on the Razer Key Light Chroma

The Razer Key Light Chroma is now ready for use.
5. CUSTOMIZING THE RAZER KEY LIGHT CHROMA
O You need to connect the Razer Key Light Chroma to a 2.4 GHz WiFi network before you’re able to customize its lighting. You can do the WiFi network setup from any WiFi-enabled PC OR Android I
iOS device. When prompted to connect the Razer Key Light Chroma to a WiFi network, make sure to select the same network used by your PC or mobile device.
VIA PC/ LAPTOP USING THE RAZER SYNAPSE APP
- Go to razer.com/synapse to download and launch Razer Synapse. For existing users, make sure to update Razer Synapse to its latest version.
- Sign up for a Razer ID or log in with an existing account.
- Switch on the Razer Key Light Chroma.

- While switched on, press and hold the Reset button for 3 seconds to activate pairing mode.
The Razer Key Light Chroma will flash in blue to indicate that pairing mode is active.
- On Razer Synapse, click on your avatar, select Add Other WiFi Device, and follow the onscreen instructions.

- Update when prompted, and wait for Razer Synapse to set up the Razer Key Light Chroma.
The Razer Synapse Dashboard will now show the Razer Key Light Chroma on the Devices list.
When customizing the Razer Kev Light Chroma, make sure vour PC is in the some 2.4 GHz
WiFi network selected during the setup.
You can now customize the Razer Key Light Chroma using Razer Synapse. FOR
VIA MOBILE DEVICE USING THE RAZER STREAMING APP
- Download the Razer Streaming app on vour mobile device .

- While switched on, press and hold the Reset button for 3 seconds to activate pairing mode.
The Razer Key Light Chroma will flash in blue to indicate that pairing mode is active.
- Launch the app and follow the onscreen instructions. The Razer Key Light Chroma will light up in solid white to indicate that it’s now connected to your network.

When customizing the Razer Key Light Chroma, make sure your mobile device is in the same 2.4 GHz WiFi network selected during the setup.
You can now customize the Razer Key Light Chroma using the Razer Streaming app.
6. USING THE RAZER KEY LIGHT CHROMA
RESETTING TO FACTORY SETTINGS
Resetting the Razer Key Light Chroma to its default factory settings will allow you to remove all settings made on the device.
- While switched on, press and hold the Reset button for 10 seconds. The Razer Key Light Chroma will briefly flash in white and change to flashing blue to indicate that the device has
been reset and pairing mode is active.
- Use the Razer Synapse app (PC) or the Razer Streaming app (mobile device) to connect the Razer Key Light Chroma to a new device.
ADJUSTING THE HEIGHT
Loosen any of the height extension locks to adjust the column height as needed. Fasten the loosened lock(s) again to lock the desired height in place.

INSTALLING THE CABLE CLIPS
With the support column extended, push the cable clips onto the correct segments of the support column and insert the power adapter’s cable in each clip to guide your cables.
CHANGING THE ANGLE
Loosen the ball-head adjustment knob to adjust the angle of the Razer Key Light Chroma as needed. Fasten the knob again to lock the preferred angle in place.

7. CONFIGURING THE RAZER KEY LIGHT CHROMA VIA RAZER SYNAPSE
Internet connection is required for installation, updates, and cloud-based features.
Registering for a Razer ID account is recommended but optional. All listed features are subject to change based on the current software version, connected device(s), and supported apps and software.
SYNAPSE TAB
The Synapse tab is your default tab when you first launch Razer Synapse. This tab allows you to navigate the Dashboard subtab.
Dashboard
The Dashboard subtab is an overview of your Razer Synapse where you can access all your Razer devices, modules, and online services.
Modules
The Modules subtab displays all installed and available modules for installation.

Global Shortcuts
Bind operations or Razer Synapse functions to custom key-combinations from any Razer Synapseenabled
device inputs which apply across all device profiles. Learn more about Profiles
Onlv Razer Svnapse-enabled device inputs will be recognized.
STREAMING TAB
Use the Streaming tab to adjust the warmth and brightness of your Razer device and even apply a
Chroma effect that best suits the mood of your stream.
Lighting
The Lighting subtab enables you to customize your Razer device’s lighting.
Profile
A Profile is a data storage for keeping all your Razer device’s settings. By default, the profile name is based on your system’s name. To add, rename, duplicate, or delete a profile, simply press the
Miscellaneous button ( • • • ).
Panel light
Customize the brightness and warmth of the panel’s white light. You can turn off your Razer device’s white light by toggling the Panel Light option or adjust its luminance and warmth using
your preferred values or their corresponding sliders.
When Chroma Brightness is enabled, the panel light’s brightness is automaticallv limited to 15% to guarantee the optimal visibilitv of anv Chroma effect.
Effects
A number of effects can be selected and applied to your device’s lighting, as listed here:

If you have other supported Razer Chroma-enabled devices, you can synchronize their quick effects with your Razer device by clicking the Chroma Sync button ( ). You can also set Razer
Synapse to override other Chroma Connect apps and games from taking control of your selected Effect by enabling the provided option.
Onlv devices that support the selected lighting effect will svnchronize.
FOR GAMERS. BY GAMERS.
Advanced Effects
The Advanced Effects option allows you to choose a Chroma Effect you want to use on your Razer
Chroma-enabled device. To start making your own Chroma Effect, simply press the Chroma Studio button ( I M ).
C, The Chroma Studio module is required to use this function.
PROFILES TAB
The Profiles tab is a convenient way of managing all your profiles and linking them to your games and applications.
Devices
View which games are linked to each device’s profiles or which Chroma Effect is linked to specific games using the Devices subtab.
You can import Profiles from your computer or from the cloud through the import button ( c!J ) or create new profiles within the selected device using the add button ( + ).To rename, duplicate,
export, or delete a profile, simply press the Miscellaneous button ( ••• ).Each profile can be set to automatically activate when you run an application using the Linked Games option.
Linked Games
The Linked Games subtab gives you the flexibility to add games, view devices that are linked to games, or search for added games. You can also sort games based on alphabetical order, last
played, or most played. Added games will still be listed here even if it is not linked to a Razer device.
To link games to connected Razer devices or Chroma Effects, simply click on any game from the list, and then click Select a device and its profile to launch automaticallv during gameplay to select the Razer device or Chroma Effect it will link with. Once linked, you may click on the Miscellaneous button ( ••• )of the corresponding Chroma Effect or device to select a specific Chroma Effect or profile.
SETTINGS WINDOW
The Settings window, accessible by clicking the ( -¢- ) button on Razer Synapse, enables you to configure the startup behavior and display language of Razer Synapse, view the master guides of
each connected Razer device, or perform factory reset on any connected Razer device.

General tab
The default tab of the Settings window. The General tab enables you to change the software’s display language, start-up behavior, display theme, and on-screen notifications display. You may
also manually sync your profiles to the cloud ( C ) or view the master guide of all connected Razer devices and installed modules.
Reset tab
The Reset tab allows you to perform a factory reset on all connected Razer devices with on-board memory and/or reset Razer Synapse tutorials to acquaint yourself again with Razer Synapse’s new
eatures on its next launch. By resetting a Razer device, all profiles stored on the selected device’s on-board memory will be erased.
About tab
The About tab displays brief software information, copyright statement and provides relevant links for its terms of use. You may also use this tab to check for software updates, or as a quick access
to Razer’s social communities.
8. SAFETY AND MAINTENANCE
SAFETY GUIDELINES
In order to achieve maximum safety while using the Razer Key Light Chroma, we suggest that you adopt the following guidelines:
Should you have trouble operating the device properly and troubleshooting does not work, unplug the device and contact the Razer hotline or go to support.razer.com for support.
Do not take apart the device and do not attempt to operate it under abnormal current loads. Doing so will void your warranty.
Always attach the table clamp to a flat and stable surface to avoid injuries and/or damaging the device.
Do not use or install the device and its components near water, moisture, solvents, or other wet surfaces, nor expose the device to high temperatures or direct sunlight for an extended period of time.
Do not replace the light source of this device. This should only be replaced by the manufacturer or his service agent or a similar qualified person.
Keep the device and its components away from liquid, humidity or moisture. Operate the device and its components only within the specific temperature range of 0 ° C (32 ° F) to 35 ° C (95 ° F).
Should the temperature exceed this range, unplug the device in order to let the temperature stabilize to an optimal level.
MAINTENANCE AND USE
The Razer Key Light Chroma requires minimum maintenance to keep it in optimum condition. Once a month we recommend you clean it using a soft cloth or cotton to prevent dirt buildup. Do not use
soap or harsh cleaning agents.
9. LEGALESE
COPYRIGHT AND INTELLECTUAL PROPERTY INFORMATION
©2022 Razer Inc. All rights reserved. Razer, the triple-headed snake logo, Razer logo, “For Gamers. By Gamers.” and “Razer Chroma” are trademarks or registered trademarks of Razer Inc. and/or affiliated companies in the United States and other countries. Actual product may differ from pictures. All other trademarks are the property of their respective owners. Warranty not valid outside of product’s intended region.
Android, Google, Google Logo, Google Play, and the Google Play logo are registered trademarks of Google LLC. Apple, the Apple logo, and iPhone are trademarks of Apple Inc., registered in the U.S. and other countries. App Store is a service mark of Apple Inc. iOS is a trademark or registered trademark of Cisco in the U.S. and other countries and is used under license.
The Bluetooth® word mark and logos are registered trademarks owned by Bluetooth SIG, Inc., and any use of such marks by Razer is under license.
Windows and the Windows logo are trademarks of the Microsoft group of companies. Razer Inc. (“Razer”) may have copyright, trademarks, trade secrets, patents, patent applications, or other intellectual property rights (whether registered or unregistered) concerning the product in this guide. Furnishing of this guide does not give you a license to any such copyright, trademark, patent or other intellectual property right. The Razer Key Light Chroma (the “Product”) may differ from pictures whether on packaging or otherwise. Razer assumes no responsibility for such differences or for any errors that may appear. Information contained herein is subject to change without notice.
LIMITED PRODUCT WARRANTY
For the latest and current terms of the Limited Product Warranty, please visit razer.com/warranty.
LIMITATION OF LIABILITY
Razer shall in no event be liable for any lost profits, loss of information or data, special, incidental, indirect, punitive or consequential or incidental damages, arising in any way out of distribution of,
sale of, resale of, use of, or inability to use the Product. In no event shall Razer’s liability exceed the retail purchase price of the Product.
GENERAL
These terms shall be governed by and construed under the laws of the jurisdiction in which the Product was purchased. If any term herein is held to be invalid or unenforceable, then such term (in so far as it is invalid or unenforceable} shall be given no effect and deemed to be excluded without invalidating any of the remaining terms. Razer reserves the right to amend any term at any time without notice.










































