This article shows step-by-step instructions on how to set up the Razer Chroma Addressable RGB Controller, follow the steps below:
Warning: Please turn off your PC before proceeding to avoid electric shocks. For safety purposes, please wear an anti-static wrist strap (not included) to avoid damaging the internal components of your PC.
- Plug your ARGB LED strips or devices into any of the 3-pin 5V ports of the ARGB controller.Note: The LED strips are not included in the package.

- Connect the ARGB controller to the Molex socket of your PC’s power supply unit using the Molex to DC cable.

- Connect the ARGB controller to the internal USB header on the motherboard using the included Micro-USB to USB pin header cable.
Note: You may use the included double-sided adhesive tapes to fasten the ARGB controller on any clean, dry and flat surface inside the chassis.
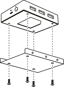
The ARGB controller also comes with mounting points at the bottom which allows you to mount it into any of your PC’s empty SSD mounting plates using M3 screws (not included).

- Use the Razer Synapse app to access in-depth lighting customization options and integrate games and applications across your ARGB and Razer Chroma-enabled devices for a truly immersive experience. Find out more at razer.com/chroma.


Note: You may use the included double-sided adhesive tapes to fasten the ARGB controller on any clean, dry and flat surface inside the chassis.




















