
MANUAL
MODEL : CleanPro
VERSION / DATE : l. / 10. 5. 2022

Vacuum cleaner components

Figure 1
| 1) LED display 2) speed control button 3) battery lock 4) switch 5) hanging port | 6) dust container 7) dust container locker 8) metal tube locker 9) vacuum pipe 10) power brush locker | 11) electric brush 12) wall bracket assembly 13) crevice brush 14) 2 in 1 crevice 15) adapter |
Using the vacuum cleaner
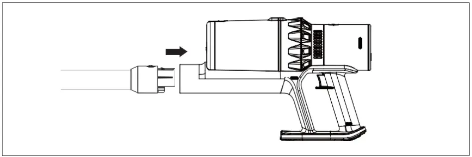
Use as a stick vacuum cleaner
a) Connect the battery to the body of the vacuum cleaner until you hear a click.
b) Attach the vacuum tube to the body as shown below until you hear a click.
c) Attach the rotary brush to the tube head as shown in the picture.
Use as a handheld vacuum cleaner
Operation of the vacuum cleaner
Press the main switch (4) – Fig. 1 to switch on the vacuum cleaner.
Three-stage suction power control:
a) First stage – one LED (1) lit – fig. 2: When the vacuum cleaner is switched on, the suction power is automatically set to low.
b) Second stage – two LEDs lit: Press the suction power control button (4) – Fig. 2 to set the medium suction power.
c) Third stage – three LEDs lit: Press the suction power control button again to set the highest suction power.
Press the suction power control button again to return to low suction power. After pressing the main switch a second time, the vacuum cleaner switches off.

Figure 2
| 1) Suction power level indicator 2) battery charge indicator | 3) Suction power level indicator 4) regulation of suction power |
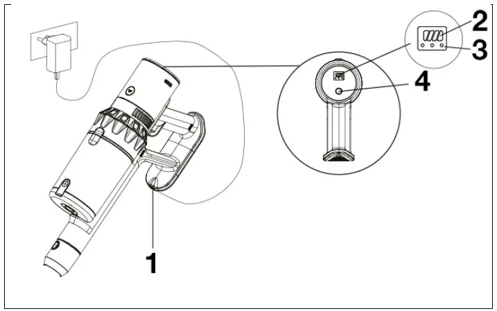
Charging the battery
Remark: Do not forget to switch off the vacuum cleaner before charging!
If the last LED of the display (2) – Fig. 3 flashes green, this means that the power supply is insufficient and the vacuum cleaner needs to be charged. Connect the charger to the power supply and to the charging port (1) Fig. 3. It charges while the four indicator lights flash green. If the four indicator lights (2) – Fig. 3 – are still green, the battery is fully charged.

Figure 3
| 1) charging port 2) battery charge indicator | 3) Suction power level indicator 4) regulation of suction power |
Warning: To avoid possible safety incidents, use only the adapter supplied by the manufacturer.
Battery power indicator
In operation:

Charge the battery when the charge level is below 25%.
Storage and charging
a) Attach the adapter to the wall bracket according to the instructions below.
b) Attach the wall bracket to the wall using the screws provided and hang the vacuum cleaner and accessories.
How to clean a vacuum cleaner
Clean the dust container
Stop working before cleaning. Press the lock of the dust container and remove it from the vacuum cleaner. Do not use the vacuum cleaner if the dust container is not fitted.
a) Press the dust container lock (7) – Fig. 1
b) Empty the dust container
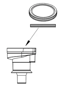
Clean the filter system
Before cleaning, first stop working.
Use only water or neutral detergent for cleaning. Water must not get inside the electrical part of the vacuum cleaner.
![]() | ![]() |
| 1) Press the dust container lock to remove the container from the vacuum cleaner body. | 2) Remove the filter housing from the dust container. |
![]() | ![]() |
| 3) Remove the foam filter and MIF filter from the housing. | 4) Wash the housing, foam filter and MIF filter. |
![]() | ![]() |
| 5) Dry the housing, foam and MIF filter. | 6) Put the foam filter and MIF filter back into the housing. |
![]() | ![]() |
| 7) Return the filter housing to the dust container. | 8) Attach the dust container to the main body of the vacuum cleaner. |

Important! The filter element and strainer cannot be washed in a washing machine and cannot be blown with a hairdryer.
Attention! Do not use a brush when washing the filter cartridge.
Wash so as not to damage the filter element.
Make sure all washed components are dry before putting them in the vacuum cleaner.
Troubleshooting
Attention! If you find that the vacuum cleaner is not working properly, turn off the power to the vacuum cleaner before carrying out the check.
| The Problem | Solving the problem |
| Suction power is weak | Empty the dirt container. |
| Clean the foam filter and MIF filter | |
| Check that the dirt container is installed correctly. | |
| The rotary brush has stopped rotating or makes a strange sound | Check that the brush is not jammed hair. Clean the brush. |
| Clean the dust container and check that it is installed in the right place | |
| Mount the dust container correctly. | |
| Disconnect the tube, use only the hand part. If it doesn’t work, contact your dealer for help. | |
| The battery cannot be charged | Check that the charger and charging base are properly connected. |
| Check that the battery has been correctly fitted to the vacuum cleaner body. | |
| Odour from the air outlet of the vacuum cleaner | Wash the filter, it can be cleaned with detergent and a toothbrush. Dry it before using it to prevent bacteria from breeding in it. Buy a new filter |
| The vacuum cleaner smells of plastic | The smell of plastic disappears after a while of use |
Warnings and precautions
Please read all safety instructions below before use and observe all general safety precautions, any failure to do so may cause damage to the product.
- Do not use the appliance for vacuuming high temperature objects, (matches, cigarette butts, hot ashes or anything hot), micro dust, (lime, cement, pieces of wood, plaster, ashes, carbon dust) large sharp objects, (broken glass, nails, pins) dangerous goods, chemicals, flammable liquids.
- Keep the air outlet of the appliance away from hair, loose clothing, fingers or other parts. Do not use the suction tube, tube extension handle or any other tool near the eyes, ears or mouth.
- Remove large pieces of rubbish, paper or sharp objects and anything thicker than the straw beforehand in case the suction tube becomes blocked, affecting the use of the product.
- If you detect an electric leakage or high motor temperature and abnormal sound during use, such as high body part temperature, abnormal sound and smell, weak suction, etc., stop using the instrument immediately.
- Regularly check the dust container, if the dust container is full, clean it in time, keep the air outlet clean to avoid loss of suction power and motor heating, which can lead to a shortened life of the vacuum cleaner.
- Regularly check the vacuum tube for obstructions and clean it in time to avoid reducing suction and affecting the performance of the appliance.
- When cleaning the appliance, do not use lubricants, detergents, polishes to clean any parts, if the appliance breaks down, call our customer service department, do not repair it yourself.
Before cleaning or servicing the appliance, the plug must be removed from the socket.
The appliance can only be used with the power supply supplied with the appliance.
- The battery must be removed from the appliance before scrapping;
- The appliance must be disconnected from the mains when the battery is removed;
- The battery must be disposed of safely.
To remove the battery, hold the vacuum cleaner handle with your right hand, press the battery release button with your left hand and pull the battery out.
Disposal: The crossed-out container symbol on the product, in literature or on the packaging means that in the European Union, all electrical and electronic products, batteries and accumulators must be sent for separate collection at the end of their useful life. Do not dispose of these products in unsorted municipal waste
Information about the source
| Published information | Value and accuracy | Unit | Notes |
| Manufacture r’s name or trade mark, registration number and address | Shenzhen CHANZEHO Technology Co., Liminted | – | – |
| Model identifier | CZH01326 5050EUWH | – | – |
| Input voltage | 230 | V | Specified by the manufacturer. It must be a value or a range. |
| AC input frequency | 50 | Hz | Specified by the manufacturer. It must be a value or a range. |
| Output voltage | DC:26.5 | V | Rated output voltage. Indicates whether it is AC or DC. |
| In cases where more than one physical output or more than one output voltage is measured at load condition 1, the sets of available values Output Voltage – Output Current – Output Power shall be published. | |||
| Output current | DC:0.5 | A | Rated output current. |
| In cases where more than one physical output or more than one output voltage is measured at load condition 1, the sets of available values Output Voltage – Output Current – Output Power shall be published. | |||
| Output power | 13,25 | W | Rated output power. |
| In cases where more than one physical output or more than one output voltage is measured at load condition 1, the sets of available values Output Voltage – Output Current – Output Power shall be published. | |||
| Average active efficiency | 83,49 | % | Declared by the manufacturer based on a value calculated as the arithmetic average of the efficiency at loads 1-4. |
| Where multiple average active efficiencies are declared for multiple output voltages available at load condition 1, the published value shall be the average active efficiency declared for the lowest output voltage. | |||
| Low load efficiency (10%) | 82,59 | % | Declared by the manufacturer based on the value calculated at load condition S. |
| This requirement does not apply to external power supplies with a nameplate output power of 10 W or less. | |||
| Where multiple average active efficiencies are declared for multiple output voltages available at load condition 1, the published value shall be the value declared for the lowest output voltage. | |||
| No-load power consumption | 0,1 | W | Declared by the manufacturer based on the value measured for load condition 6. |
DECLARATION OF CONFORMITY
Abacus Electric, s.r.o. hereby declares that SALENTE CleanPro complies with the requirements of the standards and regulations that apply to the type of equipment. The full text of the Declaration of Conformity can be found at ftp://ftp.salente.cz/ce
Importer
Abacus Electric, s.r.o.
Planá 2, Ceské Budjovice, 370 01, Czech Republic
Producer
Naxya Limited No.5, 17/F, Strand 50, 50 Bonham Strand, Sheung Wan, Hongkong
Made in China
Copyright © Abacus Electric, s.r.o.
www.salente.eu
All rights reserved.
Design and specifications are subject to change without notice.



























