
Shadow 105T All Weather Loudspeakers

IP55 WEATHER RESISTANT
CODE 37938 # 27/04/2022 – rev 02
WARNING
Wherever this symbol appears it warns of the presence of important instructions for use and maintenance in the attached documents. Please consult the manual.
ATTENTION
To avoid the risk of electric shocks and fires, do not expose the speaker to rain or moisture unless expressly designed and built with an adequate IP protective degree.
IMPORTANT SAFETY WARNINGS
– The speaker line can have sufficiently high voltage (e.g. 100V) constituting an electrocution risk for individuals; never connect the speaker when the line is powered.
– Make sure that all the connections are correct and that the input voltage (in a constant voltage system) or the speaker impedance is compatible with the output features of the amplifier. – Should smoke come out of the speaker, immediately shut off power from the line and disconnect the speaker.
– Use only the optional devices/accessories specified by the manufacturer.
– FBT Elettronica SpA will not be held liable for damage or injuries caused by supports or structures which are not sufficiently sturdy or by incorrect installation.
– To prevent inductive phenomena causing humming or disturbances, the speaker lines must not be channelled together with electric power lines, microphone cables or low level signal lines (amplifiers).
– Seek qualified personnel for technical assistance. Technical assistance is necessary should the unit be damaged, for example liquid spilling or objects falling inside the appliance, operating faults or dropping of the appliance.
TECHNICAL SPECIFICATIONS

– 2 way configuration with 5″ cone and 1″ dome
– 100V line transformer with selectable power tapping
– Recommended amplifier 120W RMS
– System long term power 60W
– Dispersion 100°
– 7 wires cable to select the desired power tapping
– IP55 weather resistant
– Die-cast wall bracket with ball/socket
– Standard grey finish RAL 7011
| CONFIGURATION | 2 way |
| RECOMMENDED AMPLIFIER | 120W RMS |
| LONG TERM POWER OF SYSTEM | 60W |
| SHORT TERM POWER OF SYSTEM | 240W |
| TRANSFORMER | 100V / 50W |
| NOMINAL IMPEDANCE | 8 Ohm |
| FREQUENCY RESPONSE | 90Hz – 20kHz |
| LOW FREQUENCY WOOFER AES POWER | 5″ – coil 1″ 50W |
| HIGH FREQUENCY DRIVER AES POWER | 1″ 10W |
| SENSITIVITY (01W/ 1 M) | 89dB |
| MAX SPLcont/ peak | 109 / 112dB |
| DISPERSION | 100° |
| CROSSOVER FREQUENCY | 3kHz |
| RECOMMENDED HP FILTER | 70Hz – 24dBoct. |
| INPUT CONNECTORS | 7 wires cable |
| DIMENSIONS (Wx H x D) | 6.61×8.74×7.87inch |
| WEIGHT | 7.71Ib |
AES LONG TERM APPLICABLE POWER denotes the thermal power that can be dissipated by the loudspeaker or by the individual drivers when operated in bi-amp mode. This value is measured in accordance with the AES standard, which involves a 2 hour test with pink noise signal, crest factor of 2.
IEC 268-5 SHORT TERM APPLICABLE POWER corresponds to the power that the loudspeaker can withstand for a very short time interval; it is calculated on the basis of the maximum peak voltage that the recommended amplifier can supply to the loudspeaker.
THE RECOMMENDED AMPLIFIER is not measured; it takes account of the dynamic capacities of the speakers to withstand short duration power peaks.
INSTALLATION
SHADOW sound speakers must be installed using the flying accessories described in this manual and following the special assembly instructions by qualified staff only, strictly complying with the current regulations and safety standards in force in the country of installation. FBT flying accessories are manufactured for their exclusive use with SHADOW systems and have not been designed for being used with any other speaker or device. Any possible elements of the ceiling, floor or further supports where SHADOW systems are to be installed shall be able to safely bear the load. The flying accessories in use are to be coupled and secured safely to both the sound speaker and the ceiling (or the other support). When components are fitted to ceilings, floors or beams, always make sure that all couplers and fixing elements are properly sized and have an adequate load capacity. Besides the main suspension system, all flying speakers in theatres, indoor stadiums or in several other work and/or leisure facilities shall be provided with an additional independent safety system with the adequate load capacity. Only steel cables and chains with certified load capacity can be used as an additional safety device.
O Hang SHADOW speakers using only original accessories
O When choosing the place of installation, the suspension cable and the mounting supports make sure they are able to bear speaker and flying accessories’ weight with the proper safety factor
0 As for fixed installations, always schedule and carry out special inspections on a regular basis in order to check all the parts that have to guarantee system safety over time – Do not hang the system by the handles: handles have been designed for speaker transport, and are not suitable for its suspension
O Never lean on/hang from the flying speaker
Carefully choose the area to install the speakers and make sure the structure is adequate to support the weight of the box.
When the speaker is installed on the wall, the system must be equipped with the safety cable (provided) in order to avoid damages to people or property.
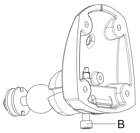
N.B. To obtain the IP55 protective degree, the rotation angle of the speaker must be less than 15° downwards (see fig. 1)

- Remove the wall support from the speaker through the threaded insert “B”

- Insert the cable in the hole “C” and fix the protection cable “D”

- Secure the wall support through the 4 holes(fig.2)

- Put the wall support onto the speaker and secure the other end of the safety cable “E”.
DIMENSIONS

CONNECTIONS
ATTENTION
>Seek qualified personnel to connect the speaker.
>Do not connect the speaker with the amplifier on to avoid the risk of electrical shock.
>Check all connections several times before switching the system on, making sure there are no short-circuits
<Implement the system in compliance with standards in force concerning electric installations. >lf the speaker is installed outdoors, therefore with an IP55 protective degree, wiring must be done inside watertight protective boxes.
>Use cables with conductors having an appropriate cross-section considering their length and the power of the speakers.
>To prevent humming or disturbances which could cause the system to malfunction, do not channel electric lines together with the speaker cables.
>DO NOT CONNECT LOW IMPEDANCE SPEAKER INPUTS (e.g. 8 Ohm) TO A CONSTANT 100V VOLTAGE LINE.
CONSTANT VOLTAGE SPEAKER SYSTEMS
This connection system entails each speaker being equipped with its own line transformer. The amplifier must be supplied with 100V or 70V constant voltage outputs. The loudspeakers, connected in parallel to the amplifier output, will make it easy to amplify the system deriving from any of the speakers installed previously, if necessary; in the same manner loudspeakers which are no longer necessary can be eliminated. In the connections, the «phase» both of the individual speaker to its transformer and the in-parallel connection of speakers must be respected. The input voltage of the speaker must correspond to the output voltage of the amplifier; the sum total of the rated power outputs of all the speakers connected to the line must not exceed that of the amplifier.

CONSTANT IMPEDANCE SPEAKER SYSTEMS
Constant impedance outputs are generally used for lines with a reduced number of speakers of a certain power output placed at a short distance from the amplifier. Connection between speakers is a mixture between in series/parallel, in order to re-conduct the overall impedance of the loudspeakers to a value which is not critical for the amplifier. Constant impedance connections require that the total impedance of the speakers is the same or greater than that of the amplifier. The sum total of speaker power outputs must be appropriate to the maximum power output of the amplifier.

CONSTANT VOLTAGE LINE
- Connect the speaker’s BLACK conductor (com) to the 100V line on the amplifier terminal marked with “-” / “0” / “com”.
- Choose a conductor among the YELLOW / GREEN / BLUE /BROWN ones according to the desired power, and connect it to the 100V line on the amplifier terminal marked with “100V” / “+”.
- ORANGE AND RED CONDUCTORS ARE TO BE JOINED TOGETHER.

CONSTANT IMPEDANCE CONNECTION
- NOT ALLOWED ON 100V LINES.
- Connect the speaker’s BLACK conductor (com) to the amplifier terminal marked with “-“.
- Connect the speaker’s ORANGE conductor (8 Ohm) to the amplifier terminal marked with “+”.

WARNING: where affixed on the equipment or package, the barred waste bin sign indicates that the product must be separated from other waste at the end of its working life for disposal. At the end of use, the user must deliver the product to a suitable recycling centre or return it to the dealer when purchasing a new product. Adequate disposal of the decommissioned equipment for recycling, treatment and environmentally compatible disposal contributes in preventing potentially negative effects on the environment and health and promotes the reuse and/or recycling of equipment materials. Abusive product disposal by the user is punishable by law with administrative sanctions.
All informations included in this operating manual have been scrupulously controlled; however FBT is not responsible for eventual mistakes. FBT Elettronica SpA has the right to amend products and specifications without notice. FBT elettronica SpA can not be considered responsible for damages which may be caused to people and things when using this product






















