POTTER FFT-FPJ Fireman’s Phone Jack Instruction Manual

INSTALLATION MANUAL: FFT-FPJ FIREMAN’S PHONE JACK
NOTICE TO THE INSTALLER
This manual provides an overview and the installation instructions for the FFT-FPJ module. All terminals are power limited and should be wired in accordance with the requirements of NFPA 70 (NEC) and NFPA 72 (National Fire Alarm Code).
Failure to follow the wiring diagrams in the following pages will cause the system to not operate as intended. For further information, refer to the control panel installation instructions. The module shall only be installed with listed control panels.
Refer to the control panel installation manual for proper system operation.
1. DESCRIPTION
The FFT-FPJ is fireman’s phone jack to be located at strategic areas in a building for two-way communication to the FFT1000. In operation, an FFT-RFH (Remote Fireman’s Handset) is plugged into an FFT-FPJ (Fireman’s Phone Jack) which
will ring at the FFT-1000. The operator can then pick up the master handset at the FFT-1000, select the corresponding switch and establish 2-way communication with the remote handset.
2. TECHNICAL SPECIFICATIONS
| Operating Temperature Range | 32° to 120° F (0° to 49°C) |
| Operating Humidity Range | 10% to 93% (non-condensing) |
3. INSTALLATION
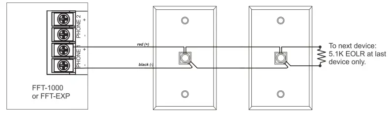
Figure 1. FFT-FPJ CLASS B CONNECTION
FIGURE 2. FFT-FPJ CLASS A CONNECTION






















