

ttem/Model Number: £24211
Stillo 1-Light LED Pendant
Lamping | Ampoule: 1 x 1.5W G4 LED(Included)
Please consulf a qualified electrician prior to Install
LED LOW-VOLTAGE INSTRUCTIONS
Before Getting Started
Read the instructions carefully prior to assembling the product.
When you open the package with a sharp tool like a box knife, be careful not to damage the components inside.
Carefully remove all packaging materials and retain for future use.
Keep ail hardware parts and packaging out of reach or small children.
Choose a clean, level, spacious assembly area. Avoid hard surfaces that may damage the product. Ensure that you have all required contents for complete assembly.
Take care when lifting. Assemble the product in close proximity to where you intend to install it.
Do not over tighten the screws and bolts as this may damage the threads.
Do not let children play with this product.
Risk of suffocation!
Keep packaging materials away from children.
Lamp Care Instructions
Carefully read through the instruction sheet before assembly and using the product.
Caution there is a risk of shock!
Disconnect from power source before assembling or cleaning.
Switch off, unplug and allow bulb to cool before replacing bulb or cleaning.
Only use the recommended bulb type and do not exceed the maximum wattage as it could cause fire.
Check the product cord to be sure is free torn or frayed.
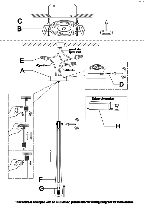
WARNING: Wires must to be connected to low £2. yoltage driver and should not be connected directly to live wire or a short may occur.
Cleaning & Maintenance
On polished finishes, often using talc powder can reduce the appearance of fingerprints and other smudges.
For respective shade surfaces, use the appropriate cleansers, i.e. glass cleaner, stone polish, & wood polish.
Clean with soft cloth and a mild detergent. Do not use abrasive or harsh cleaners.
Periodically (every 90-180 days) make sure that the screws are fully tightened.
Prolonged exposure to heat sourcesmay cause glazing, meltingand scorching, or even cause color to fade.






















