ET2 E11020 Diaphane LED 1 Light Pendant User Manual

Light Source: LED Integrated 1x 5W Made in China
Before Getting Started
Read the instructions carefully prior to assembling the product.
When you open the package with a sharp tool like a cutter knife, be careful not to damage the components inside.
Carefully remove all packaging materials and retain for future use.
Keep all hardware parts and packaging out of reach of small children.
Choose a clean, level, spacious assembly area. Avoid hard surfaces that may damage the product.
Ensure that you have all required contents for complete assembly.
Take care when lifting. Assemble the product in close proximity to where you intend to position the item. Do not over tighten the screws and bolts as this may damage the threads.
Do not let children play with this product.
⚠ Risk of suffocation! Keep any packaging materials away from children.
Lamp Care Instructions
Carefully read through the instruction sheet before assembly and using the product.
Caution there is a risk of shock. Disconnect from power source before assembling or cleaning.
⚠ CAUTION: Xenon bulbs get very hot and may burn you. Always make sure bulbs are off for a minimum of 10 minutes before handling. Fixture may be dimmed using an electronic low voltage dimmer.
Only use the recommended bulb type and do not exceed the maximum wattage as it could cause fire.
Do not plug the product in if cord is torn or frayed.
Cleaning & Maintenance
On polished finishes, often using talc powder reduces the appearance of fingerprints and other smudges. For respective shade surfaces, use the appropriate cleansers, i.e. glass cleaner, acrylic polish, and wood polish.
Clean with soft cloth and a mild detergent. DO not use abrasive cleaner.
Periodically (every 90 days) make sure that the screws are fully tightened. Prolonged exposure to heat sources may cause glazing, melting and scorching, or even cause color to fade.
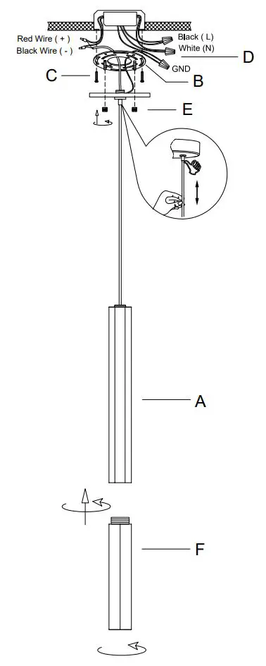
Before getting, started, ensure the package contains the following components:


This fixture must be installed with compatible dimmer types only.

SCHEMATIC FOR GENERAL REFERENCE ONLY
If fixture does not light, reverse polarity.
FOR OPTIMAL USE
Traic
For example:
Lutron DVCL-150P/DVCL-153P
DO NOT USE
0-10V or magnetic dimmer
IMPORTANT
Make sure that your dimmable LED fixture is paired with the correct dimmer type
Must be installed by a licensed electrician with knowledge of electronic lighting systems.



















