ET2 Contemporary Lighting E25134 Telstar Medium LED Pendant

Please consult a qualified electrician for hanging fixture and wiring.
Before Getting Started
- Read the instructions carefully prior to assembling the product.
- When you open the package with a sharp tool like a cutter knife, be careful not to damage the components inside.
- Carefully remove all packaging materials and retain for future use.
- Keep all hardware parts and packaging out of reach of small children.
- Choose a clean, level, spacious assembly area. Avoid hard surfaces that may damage the product.
- Ensure that you have all required contents for complete assembly.
- Take care when lifting. Assemble the product in close proximity to where you intend to position the item
- Do not over tighten the screws and bolts as this may damage the threads.
- Do not let children play with this product.
Risk of suffocation!
Keep any packaging materials away from children.
Lamp Care Instructions
- Carefully read through the instruction sheet before assembly and using the product.
- Caution there is a risk of shock. Disconnect from power source before assembling or cleaning.
CAUTION: Xenon bulbs get very hot and may burn you. Always make sure bulbs are off for a minimum of 10 minutes before handling. Fixture may be dimmed using an electronic low voltage dimmer. - Only use the recommended bulb type and do not exceed the maximum wattage as it could cause fire.
- Do not plug the product in if cord is torn or frayed.
Cleaning & Maintenance
- On polished finishes, often using talc powder reduces the appearance of fingerprints and other smudges.
- For respective shade surfaces, use the appropriate cleansers, i.e. glass cleaner, acrylic polish, and wood polish.
- Clean with soft cloth and a mild detergent. DO not use abrasive cleaner.
- Periodically (every 90 days) make sure that the screws are fully tightened.
- Prolonged exposure to heat sources may cause glazing, melting and scorching, or even cause color to fade.
Contents
Before getting. started,ensure the package contains the following components:



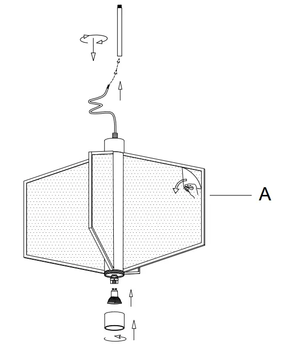
INSTALLATION


This fixture must be installed with compatible dimmer types only. Improper wiring of fixture and/or use of incorrect dimmers will cause catastrophlc fallure and void the warranty.
SCHEMATIC FOR GENERAL REFERENCE ONLY
If fxture does not light, reverse polarity.
FOR OPTIMAL USE
Traic
For example:
Lutron DVCL-150P/DVCL-153P
DO NOT USE
0-10V or magnetic dimmer
IMPORTANT
Make sure that your dimmable LED fixture is paired with the corect dimmer type
Must be installed by a licensed electrician with knowledge of electronic lighting systems




















