ET2 Contemporary Lighting E20114-24 Starburst 7 Light Pendant

Light Source: 7 x G4 20W Bulbs(Included)
Before Getting Started
- Read the instructions carefully prior to assembling the product.
- like a cutter knife, be careful not to damage the components inside.
- Carefully remove all packaging materials and retain for future use.
- Keep all hardware parts and packaging out of reach of small children.
- Choose a clean, level, spacious assembly area. Avoid hard surfaces that may damage the product.
- Ensure that you have all required contents for complete assembly.
- Take care when lifting. Assemble the product in close proximity to where you intend to position the item.
- Do not over tighten the screws and bolts as this may damage the threads.
- Do not let children playwith this product.
Risk of suffocation!
Keep anypackaging materials away from children.
Lamp Care Instructions
- Carefully read through the instruction sheet before assembly and using the product.
- Caution there is a risk of shock. Disconnect from power source before assembling or cleaning.
- WARNING: Wires need to be connected to driver found in canopy and should not be connected directly to power source or a short may occur.
- Only use the recommended bulb type and do not exceed the maximum wattage as it could cause fire.
- Do not plug the product in if cord is torn or frayed.
Cleaning & Maintenance
- On polished finishes, often using talc powder reduces the appearance of fingerprints and other smudges.
- For respective shade surfaces, use the appropriate cleansers, i.e. glass cleaner, acrylic polish, and wood polish.
- Clean with soft cloth and a mild detergent. DO not use abrasive cleaner.
- Periodically (every 90 days) make sure that the screws are fully tightened.
- Prolonged exposure to heat sourcesmay cause glazing, melting and scorching, or even cause color to fade.
Contents
Before getting, started, ensure the package contains the following components.

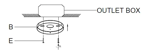
INSTALLATION



WIRING
This fixture must be installed with compatible dimmer types only. Improper wiring of fixture and/or use of incorrect dimmers will cause catastrophic failure and void the warranty.

FOR OPTIMAL USE
Triac Dimmers: For example
- Lutron: Leviton:
- TGCL-153PR: 6672(184605)
- TGCL-153PH: 6631 (1 D4505)
- CTCL-153PDH: REL06-WW
- CTCL-153PR: IPL06
- SCL-153PR: DSL06-1LZ
- DVWCL-153PH: 6674-POW
- DVCL-153PR: DSM10-1LZ
- MACL-153MH: Cooper: SAL06P
- DV-600P: ML06-C2
- SELV-300P: Eaton: SAL06P-W-2K-L
IMPORTANT Make sure that your dimmable LED fixture is paired with the correct dimmer type
Must be installed by a licensed electrician with knowledge of electronic lighting systems




















