
JUMP ‘N GAMES
ACTIVITY BOUNCER™
The product should be periodically examined for conditions that may result in the risk of fire, electric shock or injury to persons and that, in an event such conditions, the product should not be used until properly repaired.
IMPORTANT SAFETY INSTRUCTIONS. PLEASE READ AND SAVE THESE INSTRUCTIONS CAREFULLY BEFORE USING THIS PRODUCT.
WARNING!
To reduce the risk of fire or electric shock, do not use this blower motor with any solid-state speed control device. Warn the user to unplug or disconnect the appliance from the power supply before servicing.
DANGER
To prevent electric shock, do not immerse the blower motor in water; wipe clean with damp cloth.
Do not operate any blower motor with a damaged cord or plug. Discard blower motor or return to an authorized service facility for examination and/or repair. Do not run cord under carpeting. Do not cover cord with throw rugs, runners or similar coverings. Do not route cord under furniture or appliances. Arrange cord away from traffic area and where it will not be tripped over.
CAUTION – ELECTRICALLY OPERATED PRODUCT
Operation of Blower Motor not recommended for children under 14 years of age. As with all electric products, precautions should be observed during handling and use to prevent electric shock.
AGES 3-12
WARNING:
CHOKING HAZARD – Toy contains a small ball.
Not for children under 3 yrs.
READ ALL INSTRUCTIONS BEFORE ASSEMBLING THIS INFLATABLE DEVICE AND KEEP INSTRUCTIONS FOR FUTURE USE.
FAILURE TO FOLLOW THESE WARNINGS AND INSTRUCTIONS CAN RESULT IN SERIOUS INJURY OR DEATH TO USERS, ESPECIALLY CHILDREN.
WARNING
Closely watch children who are in or near this constant air inflatable. Assign an adult to supervise the constant air inflatable.
Empty constant air inflatable or prevent access when not in use. Store the empty constant air inflatable in such a way that it does not collect water from rain or any other source.
Safety Section
Keep children in your direct sight, stay close, and actively supervise them when they are in or near this constant air inflatable.
When searching for a missing child, check the constant air inflatable first, even if child is thought to be in the house.
Electrocution Risk:
Keep all electrical lines, radios, speakers and other electrical appliances away from the constant air inflatable.
Do not place constant air inflatable near or under overhead electrical lines.
CAI
SAFETY PRECAUTIONS
WARNING! Failure to follow the installation and operating instructions present a risk of SERIOUS INJURY OR DEATH.
CHILDREN MUST HAVE ADULT SUPERVISION WHEN PLAYING WITH THIS PRODUCT.
NEVER LEAVE CHILDREN UNATTENDED.
- NOT FOR ADULT USE. NOT FOR CHILDREN OVER 12 OR UNDER 3 YEARS OF AGE.
- THIS PRODUCT IS NOT FOR USE BY ANYONE WEIGHING OVER 120 lb (54 kg).
- Individual user maximum weight limit: 120 lb (54 kg)
- Combined user maximum weight limit: 250 lb (114 kg)
- The maximum fall height is 16 in (41 cm).
- Total number of users: 3
- For outdoor use.
- Keep away from fire.
- To prevent electrical shock or damage to blower motor, do not pour water on it and never leave outsides overnight.
- Keep the blower motor away from water.
- Keep children away from blower motor.
- Remove shoes, eyeglasses and sharp objects before playing with the product.
- No flipping, piling, pushing or wrestling when playing with the product.
- No head-first sliding. Always slide feet-first.
- Only one child should enter or exit the bouncer at a time.
- Always dry the product thoroughly before storing. Can cause mildew if stored damp.
SET UP:
- Adult assembly required.
- NOT FOR COMMERCIAL USE. This product is intended for family domestic use only.
- Place and use on level ground.
- Do not set up or use in windy, snowy or rainy weather.
- Do not set up or use on concrete, asphalt or any other hard surfaces.
- Use on flat lawn only, not pavement or other hard surfaces. Lawn should be free of rocks, bumps, depressions, sticks, etc.
- Set up a safe distance from fences, garages, houses, walls, water, overhanging branches, laundry lines, overhanging electrical wires and other obstructions.
- To prevent product from becoming unstable and the possibility of serious injury or death, do not play on the product until it is completely filled with air and anchored properly.
- The design of the constant air inflatable requires a fair amount of air to emit from its porous fabric material. This ensures that the product remain inflated while allowing it to resist small tears and punctures.
- To anchor the product properly, ALWAYS anchor the product and blower motor with corresponding ground stakes before use.
- Keep the blower motor and power cord away from water.
- To extend the life of the product, do not leave the product in the sun when not in use.
BOUNCER INSTRUCTIONS:
- Enter the bouncer by using the specified entrance only.
- To avoid the risk of serious injury or death, make sure there are no other users near the entrance before entering the bouncer. Enter the bouncer by crawling on your hands and knees up the slide. Never enter head first. Use caution when entering.
- Bounce away from walls and other occupants, especially avoid bouncing near the openings.
- Do not enter or exit the product by jumping in or out of it.
- To avoid the risk of injury, never stand on, bounce into or jump from walls inside or outside of product.
- Never dive head first in the bouncer.
- Keep hands off the mesh walls.
REPAIR PATCH INSTRUCTIONS
For your convenience, a repair patch has been included to repair holes in the inflatable section. In the event of an accidental puncture, cut out a suitably sized patch. Make sure you round the corners of your repair patch to avoid peeling. Make sure area to be patched is clean. Press patch firmly over the puncture. Do not inflate for 30 minutes.
WARNING
While every attempt is made to embody the highest degree of protection in all equipment, we cannot guarantee freedom from injury. The user assumes all risk of injury due to use. All merchandise is sold on this condition, which no representative of the company can waiver or change.
INTRODUCTION
Bounce, slide and score all year long! Climb up the oversized slide, and jump and tumble into fun. Kick it up a notch with the built-in woven goal net and inflatable ball, or go for the highest score with the self-sticking dart board. All this fun inflates in 2 minutes with the included blower motor. So, what are you waiting for? Whether you challenge your friends or practice your aim, the JUMP ‘N GAMES ACTIVITY BOUNCERTM is sure to score big all year long!
SETUP INSTRUCTIONS
PLACEMENTS: Use on flat lawn only, not pavement or other hard surfaces. Lawn should be free of rocks, bumps, depressions, sticks, etc. The product should be set up in a location that has a minimum distance of 10 ft (305 cm) from any freestanding structures or obstructions, including houses, garages, fences, trees, playground equipment and large rocks.

SETUP
- Unfold the constant air inflatable and place in the desired position on a smooth and level surface.
- Attach the long intake tube of the inflatable to the mouth of the blower motor using the attached Velcro strap. To ensure a secure fit, wrap the strap around the mouth of the blower motor and tightly attach the self-sticking strap. (Fig A1-A3)
- Use the drawstrings to tie shut the short air release tube along the constant air inflatable.(Fig A4)
- Position the blower motor in a straight line, perpendicular and level to the back of the inflatable. The blower motor should be placed on a stable surface and remain upright after the inflatable is inflated. The blower motor is a high volume fan capable of moving a lot of air very quickly. Place the blower motor in an area where it will not suck in dirt or leaves. Keep blower motor away from children, water and moving vehicles. Set up the inflatable far away from any structures or obstructions. Once positioned, secure the blower motor with the blower motor ground stakes provided. (Fig A5)
- Do not set up over concrete, asphalt, packed earth, or any other hard surfaces. A fall onto a hard surface can result in serious injury.
- Locate the loops around the bottom of the inflatable and anchor them to the turf, sand soil or rock soil with the bouncer ground stakes provided. (Fig A6)
- Ground stakes must be completely inserted into the ground so that no part of the stake is protruding above the ground surface. This will help prevent tripping or injuries resulting from a fall.
- Plug the blower motor into a properly grounded outlet and turn it on. The inflatable should inflate in under 2 minutes. Do not allow children to use the inflatable until it is fully inflated.
- After inflation, the blower motor should run continuously while children are playing.
FOR INFLATABLE SOCCER: - Roll out the ball. Inspect for holes, tears or other damage. (Fig A7)
- Inflate this product with AIR. (Fig A8)
NOTE: For easy air inflation, use a manual air pump designed specifically for plastic inflatables.
BY MOUTH: Remove the air valve plug and squeeze the base of the valve causing the inner flap to open for inflation.
BY PUMP: Remove the air valve plug and insert air pump nozzle into the valve. The air pump nozzle should be inserted deep enough to open the inner valve flap. Do not over inflate the item. Once the item is completely inflated, then insert the air valve plug to seal it shut.
NOTE: Fill inflatable with air until it is firm and solid. If there is any straining at the seams, the item is over inflated. If any seam begins to strain, immediately stop inflation and release air to reduce the pressure until all signs of stress on the inflatable are gone. DO NOT use the inflatable if there is straining at the seams. Use of an over-inflated item may result in serious injury, paralysis or death. Inspect this product for rips, tears or punctures. Do not use if damaged.
WARNING:
Overfilling will cause damage to your ball. This product is intended to be used as a toy and not as a personal flotation device.

Inflate this product with AIR.
NOTE: For easy air inflation, use a manual air pump designed specifically for plastic inflatables.


Fig. A1 Fig. A2 Fig. A3

Fig. A4 Fig. A5 Fig. A6

Fig. A7 Fig. A8
JUMP ‘N GAMES ACTIVITY BOUNCER™ SETUP DIAGRAM
Blower Motor
Bouncer Ground Stakes
Blower Motor Ground Stakes

WARNING
Follow Anchoring Instructions
User must read and follow anchoring instructions to ensure the proper number of anchors used, soil conditions, and stake installation.
ANCHORING THE INFLATABLE
Stakes are to be driven straight down until the top of the stake is below ground level. Do not drive stakes at an angle. For best holding strength, drive stakes into hard, dry soil. In loose or wet soil, or both, stake holding strength will be reduced.
Yes 
No
Stake Angle
HOW TO USE
- Follow all setup instructions to ensure the product has been set up properly.
- Remove shoes, eyeglasses, and sharp objects before playing with the product.
- No flipping, piling, pushing or wrestling when playing with the product.
- Only one child should enter or exit the bouncer at a time.
- Enter the bouncer by using the specified entrance only.
- To avoid the risk of serious injury or death, make sure there are no other users near the entrance
before entering the bouncer. Enter the bouncer by crawling on your hands and knees up the slide. Never enter head first. Use caution when entering. - Bounce away from walls and other occupants; especially avoid bouncing near the opening.
- Do not enter or exit the product by jumping in or out of it.
- To avoid the risk of injury, never stand on, bounce into or jump from walls inside or outside of product.
- Never dive head first in the bouncer.
- Keep hands off the mesh walls.
- Never slide while facing direct sunlight.
- To avoid possible serious injury, the sliding path and landing area must be clear of all obstacles and other users before sliding.
- Adult supervision is required to ensure observation of all parts of the play area, all activity on the inflatable device and keeping the entrance free from obstruction at all times.
HOW TO PLAY
The Jump ‘N Games Activity Bouncer is made for year-round fun. Challenge your friends or practice your aim with the following activities–or just bounce and slide into fun!
BEFORE YOU BEGIN:

Target Toss:
The dart board is divided into sections that are worth different points. Give the balls a toss and aim for the highest points. Any time the ball lands and sticks on a section, you get that number of points. Take turns tossing the ball 3 times and add up the points. The person with the highest score wins the game.
Soccer:
The back woven mesh wall of the Slide `N Score Activity Bouncer is specially designed to serve as a soccer goal net. Challenge a friend to a game of soccer with the included inflatable soccer ball. One player tries to kick the ball into the goal for a score, while another tries to defend the goal. Take turns kicking the ball and see who scores the most.
AFTER BOUNCING
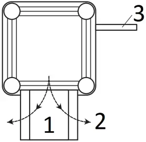
After you have finished bouncing, exit the bouncer and stand up on the grass.
To avoid danger of tripping over the air intake tube and causing potential injury, do not walk along the side of the inflatable that has the blower motor attached. Always walk around the inflatable as shown with the dotted line in the diagram below.
Never stand, walk, or run on the slides as you may slip and injure yourself.
There should be a clear and unobstructed path along the walking paths. Make sure that the blower motor does not interfere with the walking paths.

- Entrance/ EXIT
- Evacuative Paths
- Air Intake Tube
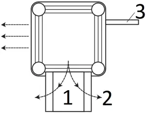
EMERGENCY EVACUATION
In an emergency, users should evacuate through the exit and walk to a safe location as shown with the dotted lines in the diagram below. To avoid danger of tripping over the air intake tube and causing potential injury, do not walk along the side of the inflatable that has the blower motor attached.

- Entrance/ EXIT
- Evacuative Paths
- Air Intake Tube
SAFETY CHECKLIST: READ BEFORE USING
SET UP:
- Before set up: Check under and around the inflatable for sharp objects, rocks, sticks, lawn sprinklers or
any other object that can cause injury or damage the inflatable. Set up on a flat lawn surface, free of depressions or high spots. - Use with manufacturer-supplied stakes ONLY.
- Areas immediately adjacent to all areas of access egress of the inflatable device 12 ft L x 9 ft W x 7 ft H (366 cm L x 274 cm W x 213 cm H) shall have use zones, which are free of obstacles and covered with impact attenuating surfacing for a minimum distance of at least 10 ft (305 cm).
- Do not use a damaged inflatable.
- Blower motor and electrical cords should not pass under the inflatable and interfere with its operations.
- Blower motors and electrical cords shall be positioned at least 4.3 ft (1.3 m) from a walled side of the inflatable device and 8.2 ft (2.5 m) from an open side.
- The product shall be inflated with the provided blower motor or with other manufacturer-specified replacement blower motor.
USE:
- Adult setup and supervision is required at all times. Adults should read instruction manual entirely and
instruct children on proper use of this inflatable. - Remove all hard or sharp objects from person and pockets, such as toys, buckles, keys, jewelry,
watches, etc. - For long periods of play, move inflatable occasionally to prevent depressions in ground underneath.
- Check all ground stakes occasionally to make sure they stay secure and flat on the ground.
- The sliding path must be clear of users before sliding.
PROPER USE OF PRODUCT:
- Separate larger children from smaller children.
- Prevent users from climbing of hanging on the containing walls.
- Prevent inappropriate activities (for example, somersaults and rough play).
- Restrict the consumption of food, drink and gum.
- Properly position the inflatable device.
- Keep pets off the inflatable device.
- Do not attach items to the inflatable device that are not specifically designed for use with the inflatable
device, such as, but not limited to, jump ropes, clothesline, pet leashes, cables and chains as they have the potential to cause a strangulation hazard.
TO DEFLATE:
- Remove all users from the product.
- Remove the balls from product and store them in a secure place Fig B1 where it is out of reach of children.
- Unplug the blower motor.
- Disconnect the long intake tube from the blower motor and place the blower motor in a safe place.
- Open the air release tube and allow the inflatable to deflate completely. It should deflate on its own within 5 minutes. (Fig B1)
- Remove the bouncer ground stakes of the inflatable by pulling on the head of the stake. DO NOT pull on the inflatable corners!
- Allow the inflatable to dry completely before rolling up, which may take up to 48 hours. Be sure the inflatable is free of dirt, leaves, sand, etc. This will lengthen the life of your inflatable.
- Fold the inflatable in half, making sure that the release tube is parallel to the fold. Fold it in half 2 more times, parallel to the first fold. (Fig B2-B3)
- Roll the inflatable tightly starting from the end opposite the intake and release tubes. (Fig B4-B5)
- Roll the inflatable tightly from one end to the other and avoid any creasing.
- Once the inflatable soccer ball is completely dry, carefully deflate and then roll it up.

![]()
Fig B1 Fig B2 Fig B3
![]()

Fig B4 Fig B5
IMPORTANT:
Never store the product when wet. Allow to dry before rolling up. Move the product every day to prevent browning or damage to the lawn. Follow all previous instructions each time you set up the product. Store the product in a secure place, away from children, to prevent suffocation.
STORAGE:
Slip the carrying bag over the rolled-up inflatable. Flip over the bag and the inflatable, close the bag and store the inflatable and the blower motor in a dry place. Store the inflatable in a secure place away from children to prevent suffocation. Never leave either the product or the blower motor outside when not in use. (Fig B6-B8)
To prevent mold and other damage to the inflatable, it is strongly advised to air dry the product with the blower motor to ensure it is completely dry before folding up for storage.


Fig B6 Fig B7 Fig B8
GROUNDING INSTRUCTIONS
This product should be grounded. In the event of an electrical short circuit, grounding reduces the risk of electric shock by providing an escape wire for the electric current. This product is equipped with a cord containing a grounding wire with an appropriate grounding plug. The plug must be plugged into an outlet that is properly installed and grounded in accordance with all local codes and ordinances.
DANGER Improper installation of the grounding plug can result in a risk of electric shock. If repair or replacement of the cord or plug is necessary, do not connect the grounding wire to either flat blade terminal. The wire with insulation having a green outer surface with or without yellow stripes is the grounding wire.
Check with a qualified electrician or service technician if the grounding instructions are not completely understood or if in doubt as to whether the product is properly grounded. Do not modify the plug provided; if it will not fit the outlet, have the proper outlet installed by a qualified electrician.
This product is for use on a nominal 120-V circuit and has a grounding plug similar to the plug illustrated in Figure A. Only connect the product to an outlet having the same configuration as the plug. Do not use an adapter with this product.
Grounding methods


- GROUNDED PIN
- GROUNDED OUTLET
- GROUNDED OUTLET BOX
MAINTENANCE OF JUMP ‘N GAMES ACTIVITY BOUNCER™
- Check the inflatable at regular intervals for holes, tears or other damage. DO NOT use a damaged inflatable. Use of a damaged inflatable could result in serious injury or death.
- In addition to checking the product at a regular interval, be sure to complete a thorough check of the entire product at the beginning of each season or series of use.
- If any component of the product is damaged or deteriorated, discontinue use and contact the manufacturer.
- Regularly check the condition of the ground stakes that hold the inflatable in place. Damage to or deterioration of the stakes could result in the inflatable becoming unstable, which could result in serious injury.
- To keep the product clean, you can use a dry cloth or a cloth dampened with a neutral, non-inflammable, nontoxic cleaning and sanitizing solution or pure water to wipe the surface of the inflatable or blower motor.
- Use a dry cloth to clean and remove debris after each play cycle. Make sure that there are no water and debris on the inflatable before storing.
BLOWER OPERATING INSTRUCTIONS
INTENDED USE:
This product is only to be used for inflating the Jump ‘N Games Activity Bouncer™. Household Use only.
WARNING:
- Electrical current requirements:110-120VAC/60Hz
- The power supply to the blower motor should include a reliable earth terminal and current leakage
protection device. - The power cord to the appliance should be clearly marked, so that persons using lawn mowers or other
types of equipment are aware that there is a cord on the ground. - The blower motor should never be left unattended when in use. The appliance is not to be used by children.
- No objects should cover the air intake when the blower motor is in use. Sand, small stones or other objects
should not be allowed to be sucked into the blower motor. - Under no circumstances should a finger or any sharp object be inserted into the air intake.
- The power supply to the blower motor should not be exchanged for any other type of supply. If the power
supply is damaged, it should be repaired by a technician. - To avoid the danger of electrical shock, do not use the blower motor in the rain.
- Do not use extension cords as this would present an electrocution hazard.
- Do not leave the blower motor exposed to strong sunlight.
- Children should not touch the blower motor. Children must not play on the product until the blower motor is
properly installed. - Children should not attach foreign objects to the blower motor that are not specifically designed for use
with the blower motor, such as, but not limited to jump ropes, clothesline, pet leashes, cables and chains as they may cause a strangulation hazard. - Sudden gusts of wind may lift the product off the ground.
- Blower motors and electrical cords should be kept out of reach.
- The product shall be inflated with the provided blower motor or with another manufacturer-specified replacement.
INSTALLATION:
- Place the blower motor on the ground and then secure it by inserting the ground stakes into the holes in the base.
- The blower motor should be installed in a well-ventilated location and on a level surface.
- The air input of the inflatable (the long intake tube) is to be attached to the air output of the blower motor and secured in place with a cord.
USING THE BLOWER MOTOR:
- Plug the blower motor into a power supply.
- To avoid electrical shock, never plug in or unplug the appliance with wet hands.
- The power supply should be disconnected if the blower motor or the product needs to be transported or moved.
- There is an ON/OFF switch on the blower motor body. Press ” I ” to switch on the blower motor, and press “0” to switch off the blower motor.

PART LIST
- 1 x Inflatable Bouncer
- 1 x Blower Motor
- 3 x Blower Motor Ground Stakes
- 7 x Bouncer Ground Stakes + 1 Extra
- 1 x Carrying Bag
- 4 x Repair Patches
- 3 x Target Toss Balls
- 1 x Inflatable Soccer Ball

1 2 3



4 5 6


7 8
Attn: Each time the blower motor is used, a simple test with the Ground
Fault Circuit Interrupter (GFCI) must be conducted.
1. Indicator
- Push the “Reset” button located on the GFCI receptacle, first to assure normal blower motor and GFCI operation.
- Press ” I ” to switch on the blower motor.
- Push the “Test” button located on the GFCI receptacle. The blower motor should go “OFF.”
- Push the “Reset” button again. The blower motor should go “ON” again
The indicator on the GFCI receptacle will be red whenever the “Reset” button is pressed.
If the blower motor remains “ON” when the “Test” button is pushed, the blower motor or GFCI is not working properly. If blower motor or GFCI is not working properly, please call a qualified, certified electrician who can assess the situation.
Maintenance and Storage:
- To keep the product clean you can use a dry cloth or a cloth dampened with a neutral, non-inflammable, nontoxic cleaning and sanitizing solution or pure water to wipe the surface of the blower motor.
- You should not clean the blower motor with a chemical solution as this may damage the coating and plastic parts.
- Never clean the blower motor in water.
- Never store the blower motor outside. Keep it in a dry place indoors unreachable by children.
- Regularly check the condition of the blower motor ground stakes. Damage to or deterioration of the stakes could result in the blower motor becoming unstable, which could result in serious injury.
- Regularly check the condition of the power cord. Damage to or deterioration of the cord could cause a serious electrocution hazard. If the cord is damaged or deteriorated, immediately discontinue use of the blower motor and contact the manufacturer.
- This blower motor is equipped with an Auto-Reset Protector. If the motor overheats, the protector will trip to protect your safety. Turn off the blower motor and let it cool down completely before using again. Please follow the instructions carefully to avoid any wrong operation that will cause overheating.
- To prevent any damage to the power cord, always carry the blower motor by its built-in handle. Do not carry the blower motor by its cord or twist the cord. Keep the power cord dry.
ALL NEW MATERIAL. Surface Clean Only. Electrical ratings: 110-120VAC, 60Hz, 3.3A
60 DAY LIMITED WARRANTY FROM DATE OF PURCHASE. BANZAI IS USED UNDER LICENSE BY FOCUS BRAND LTD. CONTENTS AND SPECIFICATIONS MAY VARY FROM THOSE ILLUSTRATED.

39029
TANG RONG ROAD,
CHANGPING, DONGGUAN, CHINA
ALL RIGHTS RESERVED
MADE IN CHINA
www.toysinquiry.com
![]()
BEFORE RETURNING TO STORE
PLEASE VISIT
THE CUSTOMER SERVICE WEBSITE BELOW FOR IMMEDIATE ASSISTANCE REGARDING QUESTIONS OR PROBLEMS WITH THIS PRODUCT.
WARNING – Electrocution Hazard
DO NOT USE EXTENSION CORDS WITH THIS PRODUCT.
NOTE: The maximum wind speed for operations of the inflatable shall be 20 mph.
SEP.2020

















