ELECTRIC RANGE
USER INSTRUCTIONS
THANK YOU for purchasing this high-quality product. Register your range at www.amanacanada.ca.
For future reference, please make a note of your product model and serial numbers. These can be found on the label located on the upper right corner of the front frame.
Model Number _____________ Serial Number _____________
W11235906A
RANGE SAFETY
Your safety and the safety of others are very important.
We have provided many important safety messages in this manual and on your appliance. Always read and obey all safety messages.

This is the safety alert symbol.
This symbol alerts you to potential hazards that can kill or hurt you and others.
All safety messages will follow the safety alert symbol and either the word “DANGER” or “WARNING.” These words mean:
DANGER
You can be killed or seriously injured if you don’t immediately follow instructions.
WARNING
You can be killed or seriously injured if you don’t follow instructions.
All safety messages will tell you what the potential hazard is, tell you how to reduce the chance of injury, and tell you what can happen if the instructions are not followed.
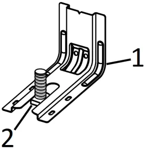
The Anti-Tip Bracket
The range will not tip during normal use. However, the range can tip if you apply too much force or weight to the open door without the anti-tip bracket fastened down properly.
Tip Over Hazard
A child or adult can tip the range and be killed.
Verify the anti-tip bracket has been properly installed and engaged per installation instructions.
Re-engage anti-tip bracket if range is moved.
Do not operate range without anti-tip bracket installed and engaged.
Failure to follow these instructions can result in death or serious burns to children and adults.

To verify the anti-tip bracket is installed and engaged:
- Slide range forward.
- Look for the anti-tip bracket securely attached to floor or wall.
- Slide range back so rear range foot is under anti-tip bracket.
- See installation instructions for details.
- Anti-Tip Bracket
- Range Foot
State of California Proposition 65 Warnings:
WARNING: This product contains one or more chemicals known to the State of California to cause cancer.
WARNING: This product contains one or more chemicals known to the State of California to cause birth defects or other reproductive harm.
IMPORTANT SAFETY INSTRUCTIONS
WARNING: To reduce the risk of fire, electrical shock, injury to persons, or damage when using the range, follow basic precautions, including the following:
- WARNING: TO REDUCE THE RISK OF TIPPING OF THE RANGE, THE RANGE MUST BE SECURED BY PROPERLY INSTALLED ANTI-TIP DEVICES. TO CHECK IF THE DEVICES ARE INSTALLED PROPERLY, SLIDE RANGE FORWARD, LOOK FOR ANTI-TIP BRACKET SECURELY ATTACHED TO FLOOR OR WALL, AND SLIDE RANGE BACK SO REAR RANGE FOOT IS UNDER ANTI-TIP BRACKET.
- CAUTION: Do not store items of interest to children in cabinets above a range or on the backguard of a range – children climbing on the range to reach items could be seriously injured.
- Proper Installation – Be sure the range is properly installed and grounded by a qualified technician.
- Never Use the Range for Warming or Heating the Room.
- Do Not Leave Children Alone – Children should not be left alone or unattended in area where the range is in use. They should never be allowed to sit or stand on any part of the range.
- Wear Proper Apparel – Loose-fitting or hanging garments should never be worn while using the range.
- User Servicing – Do not repair or replace any part of the range unless specifically recommended in the manual. All other servicing should be referred to a qualified technician.
- Storage in or on the Range – Flammable materials should not be stored in an oven or near surface units.
- Do Not Use Water on Grease Fires – Smother fire or flame or use dry chemical or foam-type extinguisher.
- Use Only Dry Potholders – Moist or damp potholders on hot surfaces may result in burns from steam. Do not let potholder touch hot heating elements. Do not use a towel or other bulky cloth.
- DO NOT TOUCH SURFACE UNITS OR AREAS NEAR UNITS – Surface units may be hot even though they are dark in color. Areas near surface units may become hot enough to cause burns. During and after use, do not touch, or let clothing or other flammable materials contact surface units or areas near units until they have had sufficient time to cool. Among those areas are the cooktop and surfaces facing the cooktop.
- Use Proper Pan Size – The range is equipped with one or more surface units of different size. Select utensils having flat bottoms large enough to cover the surface unit heating element. The use of undersized utensils will expose a portion of the heating element to direct contact and may result in ignition of clothing. Proper relationship of utensil to burner will also improve efficiency.
- Never Leave Surface Units Unattended at High Heat Settings – Boilover causes smoking and greasy spillovers that may ignite.
- Make Sure Reflector Pans or Drip Bowls Are in Place – Absence of these pans or bowls during cooking may subject wiring or components underneath to damage.
- Protective Liners – Do not use aluminum foil to line surface unit drip bowls or oven bottoms, except as suggested in the manual. Improper installation of these liners may result in a risk of electric shock, or fire.
- Glazed Cooking Utensils – Only certain types of glass, glass/ceramic, ceramic, earthenware, or other glazed utensils are suitable for range-top service without breaking due to the sudden change in temperature.
- Utensil Handles Should Be Turned Inward and Not Extend Over Adjacent Surface Units – To reduce the risk of burns, ignition of flammable materials, and spillage due to unintentional contact with the utensil, the handle of a utensil should be positioned so that it is turned inward, and does not extend over adjacent surface units.
- Do Not Soak Removable Heating Elements – Heating elements should never be immersed in water.
- Do Not Cook on Broken Cooktop – If cooktop should break, cleaning solutions and spillovers may penetrate the broken cooktop and create a risk of electric shock. Contact a qualified technician immediately.
- Clean Cooktop With Caution – If a wet sponge or cloth is used to wipe spills on a hot cooking area, be careful to avoid steam burn. Some cleaners can produce noxious fumes if applied to a hot surface.
- Use Care When Opening Door – Let hot air or steam escape before removing or replacing food.
- Do Not Heat Unopened Food Containers – Build-up of pressure may cause container to burst and result in injury.
- Keep Oven Vent Ducts Unobstructed.
- Placement of Oven Racks – Always place oven racks in desired location while oven is cool. If rack must be moved while oven is hot, do not let potholder contact hot heating element in oven.
- DO NOT TOUCH HEATING ELEMENTS OR INTERIOR SURFACES OF OVEN – Heating elements may be hot even though they are dark in color. Interior surfaces of an oven become hot enough to cause burns. During and after use, do not touch, or let clothing or other flammable materials contact heating elements or interior surfaces of oven until they have had sufficient time to cool. Other surfaces of the appliance may become hot enough to cause burns – among these surfaces are oven vent openings and surfaces near these openings, oven doors, and windows of oven doors.
For self-cleaning ranges –
- Do Not Clean Door Gasket – The door gasket is essential for a good seal. Care should be taken not to rub, damage, or move the gasket.
- Do Not Use Oven Cleaners – No commercial oven cleaner or oven liner protective coating of any kind should be used in or around any part of the oven.
- Clean Only Parts Listed in Manual.
- Before Self-Cleaning the Oven – Remove broiler pan and other utensils.
For units with ventilating hood –
- Clean Ventilating Hoods Frequently – Grease should not be allowed to accumulate on hood or filter.
- When flambeing foods under the hood, turn the fan on.
SAVE THESE INSTRUCTIONS
FEATURE GUIDE
This manual covers several models. Your model may have some or all of the items listed. Refer to this manual or the Frequently Asked Questions section of our website at www.amanacanada.ca for more detailed instructions.
![]()
Food Poisoning Hazard
Do not let food sit in oven more than one hour before or after cooking.
Doing so can result in food poisoning or sickness.

| Keypad | Feature | Instructions |
| CLOCK | Clock | The Clock uses a 12-hour cycle. 1. Check that the oven is OFF. 2. Press CLOCK. 3. Press the Temp/Time “up” or “down” arrow keypad to set the hours. Press CLOCK to switch to the minutes. Press the Temp/Time “up” or “down” arrow keypad to set the minutes. 4. Press CLOCK or START. |
| OVEN LIGHT | Oven cavity light | While the oven door is closed, press OVEN LIGHT to turn the light on and off. The oven light will come on when the oven door is opened. The oven light will not come on during the Self-Cleaning cycle. |
| TIMER SET•OFF | Oven timer | The Timer can be set in hours or minutes up to 9 hours and 59 minutes. 1. Press TIMER SET•OFF. 2. Press the Temp/Time “up” or “down” arrow keypad to set the length of time. 3. Press START to begin the countdown. If enabled, end-of-cycle tones will sound at end of countdown. 4. Press TIMER SET•OFF to cancel the Timer. Do not press OFF/CANCEL because the oven will turn off. |
| START | Cooking start | The Start keypad begins any oven function. If Start is not pressed within 5 seconds, a tone will sound and Start will blink until pressed or canceled. If Start is not pressed within 1 minute after pressing a keypad, the function is canceled and the time of day is displayed. |
| OFF/CANCEL | Range function | The Off/Cancel keypad stops any function except the Timer and Oven Control Lockout. |
| TEMP/TIME | Temperature and time adjust | The Temp/Time “up” and “down” arrow keypads are used to adjust time and temperature settings. |
| BAKE | Baking and roasting | 1. Press BAKE. 2. Press the Temp/Time “up” or “down” arrow keypad until desired temperature is reached. A tone will sound if the minimum or maximum temperature is reached. 3. Press START. 4. To change the temperature, repeat Step 2. Press START. 5. Press OFF/CANCEL when finished. NOTE: The convection fan will shut off when the oven door is opened. If the oven door remains open for too long, the heating elements will shut off until the oven door is closed. All timers, including any active Cook Time or Timed Cook functions, will continue to count down. |
| BAKE ASSIST TEMPS | Baking and roasting | 1. Press the desired Bake Assist Temps keypad. 2. Press the Temp/Time “up” or “down” arrow keypad to set a temperature other than the Bake Assist Temp. A tone will sound if the minimum or maximum temperature is reached. 3. Press START. 4. Press OFF/CANCEL when finished. NOTE: The convection fan will shut off when the oven door is opened. If the oven door remains open for too long, the heating elements will shut off until the oven door is closed. All timers, including any active Cook Time or Timed Cook functions, will continue to count down. |
| BROIL | Broiling | 1. Position cookware in the oven and close the oven door. 2. Press BROIL. 3. Press the Temp/Time “up” or “down” arrow keypad until desired temperature is reached. A tone will sound if the minimum or maximum temperature is reached. 4. Press START. 5. To change the temperature, repeat Step 3 and press START. 6. Press OFF/CANCEL when finished. NOTE: The convection fan will shut off when the oven door is opened. If the oven door remains open for too long, the heating elements will shut off until the oven door is closed. All timers, including any active Cook Time or Timed Cook functions, will continue to count down. |
| WARM | Hold warm | Food must be at serving temperature before placing it in the warmed oven. 1. Press WARM. 2. Press the Temp/Time “up” or “down” arrow keypad until desired temperature is reached. A tone will sound if the minimum or maximum temperature is reached. 3. Press START. 4. Press OFF/CANCEL when finished. NOTE: The convection fan will shut off when the oven door is opened. If the oven door remains open for too long, the heating elements will shut off until the oven door is closed. All timers, including any active Cook Time or Timed Cook functions, will continue to count down. |
| CLEAN (on some models) | Self-Cleaning cycle | See the “Self-Cleaning Cycle” section. |
| CONTROL LOCK (hold 3 Sec) | Oven control lockout | 1. Check that the oven is OFF. 2. Press and hold CONTROL LOCK for 3 seconds. 3. A tone will sound and a lock will be displayed. 4. Repeat to unlock. No keypads will function with the controls locked. |
COOKTOP USE
![]()

Fire Hazard
Turn off all controls when done cooking.
Failure to do so can result in death or fire.
The control knobs can be set to anywhere between HI and LO. Push in and turn to setting.

REMEMBER: When range is in use or (on some models) during the Self-Cleaning cycle, the entire cooktop area may become hot.
Coil Elements and Burner Bowls (on some models)
Coil elements should be level for optimal cooking results. Burner bowls, when clean, reflect heat back to the cookware. They also help catch spills.
Cookware should not extend more than 1/2″ (1.3 cm) over the coil element. If cookware is uneven or too large, it can produce excess heat, causing the burner bowl to change color.
- Starting in June 2018 Whirlpool is equipping this product with new temperature-limiting coils pursuant to the updated standards in UL858. These new coils may vary cooking times compared to your old cooktop, e.g., a slightly longer time to boil large volumes of water.
Ceramic Glass (on some models)
The surface cooking area will glow red when an element is ON. Some parts of the surface cooking area may not glow red when an element is ON. This is normal operation. It will also randomly cycle off and back on again, even while on HI, to keep the cooktop from extreme temperatures.
It is normal for the surface of light-colored ceramic glass to appear to change color when surface cooking areas are hot. As the glass cools, it will return to its original color.
Clean the cooktop after each use to help avoid scratches, pitting, abrasions, and to condition the glass surface. Ceramic glass cooktop cleaner and a cooktop scraper are also recommended for stubborn soils. Do not use abrasive cleaners, cleaning pads, or harsh chemicals for cleaning. The Cooktop Care Kit Part Number 31605 contains all of the items needed to clean and condition your ceramic glass cooktop. Refer to the “Range Care” section for additional information.
IMPORTANT: To avoid permanent damage to the cooktop surface and to make soils easier to remove, clean the cooktop after each use to remove all soils.
- Avoid storing jars or cans above the cooktop. Dropping a heavy or hard object onto the cooktop could crack the cooktop.
- To avoid damage to the cooktop, do not leave a hot lid on the cooktop. As the cooktop cools, air can become trapped between the lid and the cooktop and the ceramic glass could break when the lid is removed.
- For foods containing sugar in any form, clean up all spills and soils as soon as possible. Allow the cooktop to cool down slightly. Then, while wearing oven mitts, remove the spills using a scraper while the surface is still warm. If sugary spills are allowed to cool down, they can adhere to the cooktop and can cause pitting and permanent marks.
- To avoid scratches, do not slide cookware or bakeware across the cooktop. Aluminum or copper bottoms and rough finishes on cookware or bakeware could leave scratches or marks on the cooktop.
- Do not cook popcorn in prepackaged aluminum containers on the cooktop. They could leave aluminum marks that cannot be removed completely.
- To avoid damage to the cooktop, do not allow objects that could melt, such as plastic or aluminum foil, to touch any part of the entire cooktop.
- To avoid damage to the cooktop, do not use the cooktop as a cutting board.
- Use cookware about the same size as the surface cooking area. Cookware should not extend more than 1/2″ (1.3 cm) outside the area.

A. Surface cooking area
B. Cookware/canner
C. 1/2″ (1.3 cm) maximum overhang
- Use flat-bottomed cookware for best heat conduction and energy efficiency. Cookware with rounded, warped, ribbed, or dented bottoms could cause uneven heating and poor cooking results.
- Determine flatness by placing the straight edge of a ruler across the bottom of the cookware. While you rotate the ruler, no space or light should be visible between it and the cookware.
- Cookware designed with slightly indented bottoms or small expansion channels can be used.
- Make sure the bottoms of pots and pans are clean and dry before using them. Residue and water can leave deposits when heated.
- To avoid damage to the cooktop, do not cook foods directly on the cooktop.
Ceramic Glass Cooktop Cleaning (on some models)
Clean the cooktop after each use to help avoid scratches, pitting, abrasions, and to condition the glass surface. Ceramic glass cooktop cleaner and a cooktop scraper are also recommended for stubborn soils. Do not use abrasive cleaners, cleaning pads, or harsh chemicals for cleaning. The Cooktop Care Kit Part Number 31605 contains all of the items needed to clean and condition your ceramic glass cooktop. Refer to the “Range Care” section for additional information.
IMPORTANT: To avoid permanent damage to the cooktop surface and to make soils easier to remove, clean the cooktop after each use to remove all soils.
Cooktop On Indicator Light
The Cooktop On indicator light is located on the display panel. When any cooktop element on the console panel is turned on, the Cooktop On indicator light will glow.
Hot Surface Indicator Light
On ceramic glass models, the Hot Surface indicator light is located on the display panel.
The Hot Surface indicator light will glow as long as any surface cooking area is too hot to touch, even after the surface cooking area is turned off.
Dual Zone Cooking Element (on some models)
The Dual Zone cooking element offers flexibility depending on the size of the cookware. Single size can be used in the same way as a regular element. The dual size combines both the single and outer elements and is recommended for larger size cookware.

A. Single
B. Dual
Melt Cooking Element (on some models)
The Melt cooking element offers flexibility due to a wide range of settings between HI and MELT. The Hi heat option can be used to boil small amounts of liquid quickly. The lowest setting can be used to prepare sauces and to keep foods at a low temperature. Use cookware appropriate in size for the Melt element.

A. Hi heat option
B. Melt option
Cookware
IMPORTANT: Do not leave empty cookware on a hot surface cooking area, element, or surface burner.
Ideal cookware should have a flat bottom, straight sides, and a well-fitting lid, and the material should be of medium-to-heavy thickness.
Rough finishes may scratch the cooktop. Aluminum and copper may be used as a core or base in cookware. However, when used as a base, they can leave permanent marks on the surfaces.
Cookware material is a factor in how quickly and evenly heat is transferred which affects cooking results. A nonstick finish has the same characteristics as its base material. For example, aluminum cookware with a nonstick finish will take on the properties of aluminum.
Cookware with nonstick surfaces should not be used under the broiler.
Check for flatness by placing the straight edge of a ruler across the bottom of the cookware. While you rotate the ruler, no space or light should be visible between it and the cookware.

Use the following chart as a guide for cookware material characteristics.
| Cookware | Characteristics |
| Aluminum |
|
| Cast iron |
|
| Ceramic or ceramic glass |
|
| Copper |
|
| Earthenware |
|
| Porcelain enamel-on-steel or cast iron |
|
| Stainless steel |
|
Use flat-bottomed cookware for best cooking results and energy efficiency. The cookware should be about the same size as the cooking area outlined on the cooktop. Cookware should not extend more than 1/2″ (1.3 cm) outside the area.

Home Canning
Canning can be performed on a glass smoothtop cooking surface or traditional coil element cooktop. When canning for long periods, alternate the use of surface cooking areas or elements between batches. This allows time for the most recently used areas to cool.
- Center the canner on the largest surface cooking area or element. On electric cooktops, canners should not extend more than 1/2″ (13 mm) beyond the surface cooking area or element.
- Do not place canner on 2 surface cooking areas or elements at the same time.
- On ceramic glass models, use only flat-bottomed canners to avoid damage to the cooktop and elements.
- For more information, contact your local agricultural extension office or refer to published home canning guides. Companies that manufacture home canning products can also offer assistance.
OVEN USE
Odors and smoke are normal when the oven is used the first few times or when it is heavily soiled.
IMPORTANT: The health of some birds is extremely sensitive to the fumes given off. Exposure to the fumes may result in death to certain birds. Always move birds to another closed and well-ventilated room.
NOTE: The convection fan will shut off when the oven door is opened. If the oven door remains open for too long, the heating elements will shut off until the oven door is closed. All timers, including any active Cook Time or Timed Cook functions, will continue to count down.
Electronic Oven Controls
Control Display
The display will flash when powered up or after a power loss. Press OFF/CANCEL to clear. When oven is not in use, the time of day is displayed. Indicator lights show functions that are in use.
Tones
Tones are audible signals, indicating the following:
Basic Functions
One Tone
- Valid keypad press
- Oven is preheated (long tone).
- Function has been entered.
- Reminder, repeating every 20 seconds after the end-of-cycle tones
Three Tones
- Invalid keypad press
Four Tones
- End of cycle
Fahrenheit and Celsius
The temperature is preset to Fahrenheit but can be changed to Celsius.
To change: Press and hold the Temp/Time “up” arrow keypad for 5 seconds. “°C” or “°F” will appear on the display. Repeat to change back.
To exit mode, press OFF/CANCEL.
Keypress Tones
Activates or turns off the tones when a keypad is pressed.
To change: Press and hold OVEN LIGHT for 5 seconds. Repeat to change back.
To exit mode, press OFF/CANCEL.
Demo Mode
IMPORTANT: This feature is intended for use on the sales floor with 120 V power connection and permits the control features to be demonstrated without heating elements turning on. If this feature is activated, the oven will not work.
To change: Press OFF/CANCEL, OFF/CANCEL, the Temp/Time “up” arrow keypad, TIMER SET•OFF. Repeat to change back and end Demo mode.
Oven Temperature Control
IMPORTANT: Do not use a thermometer to measure oven temperature. Elements will cycle on and off as needed to provide consistent temperature but may run slightly hot or cool at any point in time due to this cycling. Most thermometers are slow to react to temperature change and will not provide an accurate reading due to this cycling.
The oven provides accurate temperatures; however, it may cook faster or slower than your previous oven, so the temperature can be adjusted to personalize it for your cooking needs. It can be changed in Fahrenheit or Celsius.
To Adjust Oven Temperature:
1. Press and hold the Temp/Time “down” arrow keypad for 5 seconds until the oven display shows the current setting, for example “0°F CAL” or “00”.
2. Press the Temp/Time “up” or “down” arrow keypad to increase or decrease the temperature in 5°F (3°C) amounts. The adjustment can be set between 30°F (18°C) and -30°F (-18°C).
3. Press START.
Sabbath Mode
(on some models)
For guidance on usage and a complete list of models with Sabbath mode, visit www.star-k.org.
The Sabbath mode sets the oven to remain on in a Bake setting until turned off. The Oven Control Lockout feature will be disabled during the Sabbath mode. After the Sabbath mode is set, no tones will sound, the display will not show the temperature, the Kitchen Timer mode will be canceled (if active), and only the following keypads will function:
- Temp/Time “up” and “down” arrow keypads
- Off/Cancel
When the oven door is opened or closed, the oven light will not turn on or off and the heating elements will not turn on or off immediately.
When power is restored after a power failure, the oven will return to Sabbath mode and remain Sabbath compliant with the bake elements OFF until the OFF/CANCEL keypad is pressed.
Pressing the OFF/CANCEL keypad at any time returns the oven to the normal cooking mode (not Sabbath compliant).
Before entering the Sabbath mode, it must be decided if the oven light is to be ON or OFF for the entire Sabbath mode period. If the light is ON when entering Sabbath mode, it will remain ON for the entire time Sabbath mode is in use. If the light is OFF when entering Sabbath mode, it will remain OFF for the entire time Sabbath mode is in use. Opening the oven door or pressing the OVEN LIGHT will not affect the oven light once Sabbath mode has been entered.
On the Holiday, the oven temperature can be changed once the oven is in Sabbath mode by pressing the Temp/Time “up” or “down” arrow keypad. The oven temperature will change 25°F (14°C) each time the Temp/Time “up” and “down” arrow keypads are pressed. Press START to activate the new temperature. The display will not change and there will be no sounds during this adjustment.
To Activate and Bake Using Sabbath Mode:
1. Press BAKE.
2. Press the Temp/Time “up” or “down” arrow keypad.
3. Press START.
4. Press and hold TIMER SET•OFF for 5 seconds. “SAb” will flash in the display.
5. Press START while “SAb” is flashing to enter Sabbath mode; otherwise, the entire cycle cancels out. “SAb” will stop flashing and remain ON in the display. The oven is now in Sabbath mode and is Sabbath compliant.
Pressing the OFF/CANCEL keypad at any time returns the oven to the normal cooking mode (not Sabbath compliant).
NOTE: If “SAb” does not appear in your display, the Sabbath mode is not active. After Sabbath mode is deactivated, you must activate Sabbath mode by completing steps 1 through 5.
Warm
![]()
Food Poisoning Hazard
Do not let food sit in oven more than one hour before or after cooking.
Doing so can result in food poisoning or sickness.
NOTE: The convection fan will shut off when the oven door is opened. If the oven door remains open for too long, the heating elements will shut off until the oven door is closed. All timers, including any active Cook Time or Timed Cook functions, will continue to count down.
IMPORTANT: Food must be at serving temperature before placing it in the warmed oven. Food may be held up to 1 hour; however, breads and casseroles may become too dry if left in the oven during the Warm function. For best results, cover food. The Warm feature allows hot cooked foods to stay at serving temperature.
To Use:
1. Press WARM.
2. Press the Temp/Time “up” or “down” arrow keypad until desired temperature is reached. A tone will sound if the minimum or maximum temperature is reached.
3. Press START.
4. Place food in the oven.
5. Press OFF/CANCEL when finished.
NOTE: The temperature may be changed at any time by pressing the Temp/Time “up” or “down” arrow keypad to reach the desired temperature and then pressing START.
Aluminum Foil
IMPORTANT: To avoid permanent damage to the oven bottom finish, do not line the oven bottom with any type of foil or liner.
For best cooking results, do not cover entire oven rack with foil because air must be able to move freely.
Positioning Racks and Bakeware
IMPORTANT: To avoid permanent damage to the porcelain finish, do not place food or bakeware directly on the oven door or bottom.
Bakeware
To cook food evenly, hot air must be able to circulate. Allow 2″ (5 cm) of space around bakeware and oven walls. Make sure that no bakeware piece is directly over another.
Racks
- Position racks before turning on the oven.
- Do not position racks with bakeware on them.
- Make sure racks are level.
To move a rack, pull it out to the stop position, raise the front edge, and then lift out. Use the following illustration as a guide.

Rack Positions
Rack 5: Toasting bread or broiling thin, non-fatty foods.
Rack 4: 2-rack baking and broiling.
Rack 3: Most baked goods on a cookie sheet, muffin pan, or jelly roll pan; and layer cakes; broiling chicken pieces.
Rack 2: Pies, casseroles, yeast bread, quick breads, frozen convenience foods, and 2-rack baking.
Rack 1: Roasting large and small cuts of meat and poultry.
Multiple Rack Cooking
2-rack: Use rack positions 2 and 4.
Baking Layer Cakes on 2 Racks
For best results when baking cakes on 2 racks, place flat racks in positions 2 and 4. Place the cakes on the racks as shown.

Baking Cookies on 2 Racks
For best results when baking cookies on 2 racks, place flat racks in positions 2 and 4.
Oven Vent

A. Oven vent (ceramic glass model) A. Oven vent (coil element model)
The oven vent releases hot air and moisture from the oven and should not be blocked or covered. Blocking or covering the oven vent will cause poor air circulation, affecting cooking and cleaning results. Do not set plastics, paper, or other items that could melt or burn near the oven vent.
On coil element models, the element can be used when the oven is in use as long as the cookware does not extend more than 1/2″ (1.3 cm) over the element.
Baking and Roasting
NOTE: The convection fan will shut off when the oven door is opened. If the oven door remains open for too long, the heating elements will shut off until the oven door is closed. All timers, including any active Cook Time or Timed Cook functions, will continue to count down.
Oven Temperature
While in use, the oven elements will cycle on and off as needed to maintain a consistent temperature, but they may run slightly hot or cool at any point in time due to this cycling. Opening the oven door while in use will release the hot air and cool the oven which could impact the cooking time and performance. It is recommended to use the oven light to monitor cooking progress.
NOTE: On models with convection, the convection fan may run in the non-convection Bake mode to improve oven performance.
Temperature Management System
The Temperature Management System electronically regulates the oven heat levels during preheat and Bake to maintain a precise temperature range for optimal cooking results. The bake and broil elements or burners cycle on and off in intervals. On convection range models, the fan will run while preheating and may be cycled on and off for short intervals during Bake to provide the best results. This feature is automatically activated when the oven is in use.
Before baking and roasting, position racks according to the “Positioning Racks and Bakeware” section. When roasting, it is not necessary to wait for the oven preheat cycle to end before putting food in unless it is recommended in the recipe.
Preheating
When START is pressed, the oven will begin preheating. Once 100°F (38°C) is reached, the display temperature will increase as the actual temperature of the oven increases. When the preheat temperature is reached, a tone will sound and the selected temperature will appear on the display.
Broiling
NOTE: The convection fan will shut off when the oven door is opened. If the oven door remains open for too long, the heating elements will shut off until the oven door is closed. All timers, including any active Cook Time or Timed Cook functions, will continue to count down.
Close the oven door while broiling. No preheating is necessary. Position food on grid in a broiler pan, then place it in the center of the oven rack.
Changing the temperature when broiling allows more precise control when cooking. The lower the broil setting is, the slower the cooking. Thicker cuts and unevenly shaped pieces of meat, fish, and poultry may cook better at lower broil settings. Use racks 4 or 5 for broiling. Refer to the “Positioning Racks and Bakeware” section for more information.
On lower settings, the broil element will cycle on and off to maintain the proper temperature.
- For best results, use a broiler pan and grid. It is designed to drain juices and help avoid spatter and smoke.
If you would like to purchase a broiler pan, one may be ordered. Please refer to the “Accessories” section for more information.
NOTE: Odors and smoke are normal the first few times the oven is used or if the oven is heavily soiled.
RANGE CARE
Self-Cleaning Cycle
(on some models)
![]()

Burn Hazard
Do not touch the oven during the Self-Cleaning cycle.
Keep children away from oven during Self-Cleaning cycle.
Failure to follow these instructions can result in burns.
IMPORTANT: The health of some birds is extremely sensitive to the fumes given off during the Self-Cleaning cycle. Exposure to the fumes may result in death to certain birds. Always move birds to another closed and well-ventilated room.
Do not block the oven vent(s) during the Self-Cleaning cycle. Air must be able to move freely. Depending on your model, see the “Oven Vent” section.
Do not clean, rub, damage, or move the oven door gasket.
Prepare Range
- Remove the broiler pan, grid, cookware and bakeware, all cooking utensils, oven racks, and aluminum foil and, on some models, the temperature probe from the oven.
- Use a damp cloth to clean inside door edge and the 11/2″ (3.8 cm) area around the inside oven cavity frame, being certain not to move or bend the gasket.
- Remove plastic items from the cooktop because they may melt.
- Remove all items from the storage drawer.
How the Cycle Works
IMPORTANT: The heating and cooling of porcelain on steel in the oven may result in discoloring, loss of gloss, hairline cracks, and popping sounds.
Before cleaning, make sure the door is completely closed or the door will not lock and the Self-Cleaning cycle will not begin.
Once the oven has completely cooled, remove ash with a damp cloth. To avoid breaking the glass, do not apply a cool damp cloth to the inner door glass before it has completely cooled.
To stop the Self-Cleaning cycle at any time, press OFF/CANCEL. If the temperature is too high, the oven door will remain locked and “cool” and “locked” will be displayed. The cooling fan may continue to run.
The oven light will not function during the Self-Cleaning cycle.
Electronic Oven Control with Adjustable Clean Time (on some models)
The Self-Cleaning cycle is time adjustable between 2 hours 30 minutes and 4 hours 30 minutes in 30-minute increments. Suggested clean times are 2 hours 30 minutes for light soil and 4 hours 30 minutes for heavy soil.
To Self-Clean:
1. Press CLEAN.
2. Press the Temp/Time “up” or “down” arrow keypad to enter the desired Self-Cleaning cycle time.
3. Press START.
The oven door will automatically lock. The Door Locked and Clean indicator lights will be displayed. The time remaining will also be displayed.
4. When the Self-Cleaning cycle is complete and the oven cools, the Door Locked and Clean indicator lights will turn off.
5. When the oven is completely cooled, remove ash with a damp cloth.
To exit the Self-Cleaning cycle before completed, press OFF/CANCEL. The door will unlock once the oven cools.
General Cleaning
IMPORTANT: Before cleaning, make sure all controls are OFF and the oven and cooktop are cool. Always follow label instructions on cleaning products. For additional information, you can visit the Frequently Asked Questions (FAQs) section of our website at www.amanacanada.ca.
Soap, water, and a soft cloth or sponge are suggested first unless otherwise noted.
EXTERIOR PORCELAIN ENAMEL SURFACES (on some models)
Food spills containing acids, such as vinegar and tomato, should be cleaned as soon as the entire range is cool. These spills may affect the finish.
Cleaning Method:
- Glass cleaner, mild liquid cleaner, or nonabrasive scrubbing pad:
Gently clean around the model/serial/rating plate because scrubbing may remove numbers. - Affresh® Kitchen and Appliance Cleaner Part Number W10355010 (not included):
See the “Accessories” section for more information.
STAINLESS STEEL (on some models)
NOTE: To avoid damage to stainless steel surfaces, do not use soap-filled scouring pads, abrasive cleaners, Cooktop Cleaner, steel-wool pads, gritty washcloths, or abrasive paper towels. Damage may occur to stainless steel surfaces, even with onetime or limited use.
Cleaning Method:
Rub in direction of grain to avoid damaging.
- Affresh® Stainless Steel Cleaner Part Number W10355016 (not included):
See the “Accessories” section for more information.
METALLIC PAINT (on some models)
Do not use abrasive cleaners, cleaners with bleach, rust removers, ammonia, or sodium hydroxide (lye) because paint surface may stain.
CERAMIC GLASS (on some models)
Cleaning Method:
To avoid damaging the cooktop, do not use steel wool, abrasive powder cleansers, chlorine bleach, rust remover, or ammonia.
1. Remove food/residue with the Cooktop Scraper.

- For best results, use the Cooktop Scraper while the cooktop is still warm but not hot to the touch. It is recommended to wear an oven mitt while scraping the warm cooktop.
- Hold the Cooktop Scraper at approximately a 45° angle against the glass surface and scrape the residue. It will be necessary to apply pressure in order to remove the residue.
Allow the cooktop to cool down completely before proceeding to Step 2.
2. Apply a few dime-sized drops of affresh® Cooktop Cleaner to the affected areas.


- Rub affresh® Cooktop Cleaner onto the cooktop surface with the blue Cooktop Cleaning Pad. Some pressure is needed to remove stubborn stains.
- Allow the cleaner to dry to a white haze before proceeding to Step 3.
3. Polish with a clean, dry cloth or a clean, dry paper towel.

- Repeat steps 1 through 3 as necessary for stubborn or burned-on stains.
The Complete Cooktop Cleaner Kit is available for order and includes the following:
• Cooktop Scraper
• Affresh® Cooktop Cleaner
• Blue Cooktop Cleaning Pads
See the “Accessories” section for part numbers and information on ordering.
COOKTOP CONTROLS
To avoid damage to the cooktop controls, do not use steel wool, abrasive cleansers, or oven cleaner.
To avoid damage, do not soak knobs.
When replacing knobs, make sure knobs are in the Off position.
On some models, do not remove seals under knobs.
Cleaning Method:
- Soap and water:
Pull knobs straight away from control panel to remove.
CONTROL PANEL AND OVEN DOOR EXTERIOR
To avoid damage to the control panel, do not use abrasive cleaners, steel-wool pads, gritty washcloths, or abrasive paper towels.
Cleaning Method:
- Glass cleaner and soft cloth or sponge:
Apply glass cleaner to soft cloth or sponge, not directly on panel. - Affresh® Kitchen and Appliance Cleaner Part Number W10355010 (not included):
See the “Accessories” section for more information.
COIL ELEMENTS (on some models)
Cleaning Method:
- Damp cloth:
Make sure control knobs are OFF and elements are cool.
Do not clean or immerse in water. Soil will burn off when hot.
BURNER BOWLS (on some models)
Before removing or replacing coil elements and burner bowls, make sure they are cool and the control knobs are in the Off position.
Remove the coil element by pushing the edge of the coil element toward the receptacle. Lift it enough to clear the burner bowl. Pull the coil element straight away from the receptacle to remove. Lift out the burner bowl.
Cleaning Method:
Chrome burner bowls
Wash frequently in warm, soapy water. (It is not recommended to wash chrome bowls in a dishwasher.) A mild abrasive cleaner and a plastic scrubber can be used to remove stubborn stains.
For heavily soiled bowls, place an ammonia-soaked paper towel on the stains and allow to soak for a short time, then gently scrub with a plastic scrubber.
SURFACE UNDER COOKTOP (on some models)
The coil cooktop will lift up to provide easy access for cleaning beneath. Lift the cooktop by both front corners until the support locks into place.
Cleaning Method:
- Glass cleaner, mild liquid cleaner or nonabrasive scrubbing pad.
- Affresh® Kitchen and Appliance Cleaner Part Number W10355010 (not included):
See the “Accessories” section for more information.
To avoid damage to the range, do not remove the cooktop.
OVEN RACKS
Cleaning Method:
- Steel-wool pad
- For racks that have discolored and are harder to slide, a light coating of vegetable oil applied to the rack guides will help them slide.
STORAGE DRAWER (on some models)
Check that storage drawer is cool and empty before cleaning.
Cleaning Method:
- Mild detergent
OVEN CAVITY
Do not use oven cleaners on models with Self-Cleaning.
Food spills should be cleaned when oven cools. At high temperatures, foods react with porcelain. Staining, etching, pitting, or faint white spots can result.
Cleaning Method:
- See “Self-Cleaning Cycle” section.
Oven Light
The oven light is a standard 40 watt appliance bulb. Before replacing, make sure the oven and cooktop are cool and the control knobs are in the Off position.
To Replace:
1. Unplug range or disconnect power.
2. Turn the glass bulb cover in the back of the oven counterclockwise to remove.
3. Turn bulb counterclockwise to remove from socket.
4. Replace bulb, then bulb cover by turning clockwise.
5. Plug in range or reconnect power.
TROUBLESHOOTING
First try the solutions suggested here. If you need further assistance or more recommendations that may help you avoid a service call, refer to the warranty page in this manual, or visit http://www.amanacanada.ca.
Contact us by mail with any questions or concerns at the address below:
Amana Brand Home Appliances
Customer eXperience Centre
200 – 6750 Century Ave.
Mississauga, Ontario L5N 0B
Please include a daytime phone number in your correspondence.
| Operation | ||
| Problem | Possible Causes | Solutions |
| Nothing will operate | Power supply cord is unplugged. | Plug into a grounded outlet. |
| Household fuse is blown or a circuit breaker is tripped. | Replace the fuse or reset the circuit breaker. If the problem continues, call an electrician. | |
| The control displays an F9 or F9 E0 error code. | The electrical outlet in the home may be miswired. Contact a qualified electrician to verify the electrical supply. | |
| Cooktop will not operate | The control knob is set incorrectly. | Push in knob before turning to a setting. |
| On ceramic glass models, the oven control lockout is set. | See the “Control Lock” keypad feature in the “Feature Guide” section. | |
| A Self-Cleaning cycle has been selected. | On some ceramic glass models, the cooktop will not operate during a Self-Cleaning cycle. | |
| Excessive heat around cookware on cooktop | Cookware that is not the proper size. | Use cookware about the same size as the surface cooking area, element, or surface burner. Cookware should not extend more than 1/2″ (1.3 cm) outside the cooking area. |
| Cooktop cooking results not what expected | Control knob set to incorrect heat level. | See the “Cooktop Use” section. |
| Range is not level. | Level the range. See the Installation Instructions. | |
| Cooktop element cycles on and off on High setting | Element cycling due to a temperature limiter | This is normal operation. The element may cycle on and off to keep the cooktop from overheating. |
| Oven will not operate | Control lock is ON. | Press and hold CONTROL LOCK for 3 seconds to unlock. |
| Control is in Demo mode. | Demo mode will deactivate all oven elements. See “Demo Mode” in the “Electronic Oven Controls” section. | |
| Electronic oven control set incorrectly. | See the “Electronic Oven Controls” section. | |
| Oven temperature too high or too low | Oven temperature needs adjustment. | See the “Oven Temperature Control” in the “Electronic Oven Controls” section. |
| Oven indicator lights flash | Power to range is turned on or restored. | See “Control Display” in the “Electronic Oven Controls” section. If the indicator light(s) keep(s) flashing, call for service. See the “Warranty” section for contact information. |
| Display shows messages | Power failure (display shows flashing time). | Clear the display. On some models, reset the clock, if needed. See “Clock” keypad feature in the “Feature Guide” section. |
| Error code (display shows letter followed by number). | Depending on your model, press OFF/CANCEL to clear the display. See “Control Display” in the “Electronic Oven Controls” section. If it reappears, call for service. See the “Warranty” section for contact information. | |
| Start needs to be pressed so a cycle can begin. | See the “Start” keypad feature in the “Feature Guide” section. | |
| Self-Cleaning cycle will not operate | The oven door is not closed. | Make sure the oven door is fully closed. |
| The Self-Cleaning function has not been entered correctly. | See the “Self-Cleaning Cycle” section. | |
| Oven cooking results not what expected | Range is not level. | Level the range. See the Installation Instructions. |
| The temperature set was incorrect. | Double-check the recipe in a reliable cookbook. | |
| Oven temperature is calibrated incorrectly. | See “Oven Temperature Control” in the “Electronic Oven Controls” section. | |
| Oven was not preheated. | See the “Baking and Roasting” section. | |
| Racks were positioned improperly. | See the “Positioning Racks and Bakeware” section. | |
| Not enough air circulation around bakeware. | See the “Positioning Racks and Bakeware” section. | |
| Batter distributed unevenly in pan. | Check that batter is level in the pan. | |
| Darker browning of food caused by dull or dark bakeware. | Lower oven temperature 25°F (15°C) or move rack to a higher position in the oven. | |
| Lighter browning of food caused by shiny or light-colored bakeware. | Move rack to a lower position in the oven. | |
| Incorrect length of cooking time was used. | Adjust cooking time. | |
| Oven door was not closed. | Be sure that the bakeware does not keep the door from closing. | |
| Oven door was opened during cooking. | Oven peeking releases oven heat and can result in longer cooking times. | |
| Oven door was open for too long. | If the oven door remains open for too long, the heating elements will shut off until the oven door is closed. | |
| Rack is too close to bake burner, making baked items too brown on bottom. | Move rack to higher position in the oven. | |
| Pie crusts browning too quickly. | Use aluminum foil to cover the edge of the crust and/or reduce baking temperature. | |
| Temperature scale was changed from Fahrenheit to Celsius. | Foods are overdone or burnt, even at low temperatures. See “Fahrenheit and Celsius” in the “Electronic Oven Controls” section. | |
ACCESSORIES
For accessories, you can visit our website at www.amanacanada.ca or call us at 1-800-807-6777.
Canning Element Kit
(coil element models)
Order Part Number 242905
Cooktop Care Kit
(ceramic glass models)
(includes cleaner, protectant, scraper, and applicator pads)
Order Part Number 31605
Cooktop Protectant
(ceramic glass models)
Order Part Number 31463A
Affresh® Stainless Steel Cleaning Wipes
(stainless steel models)
Order Part Number W10355049
Affresh® Cooktop Cleaner
(ceramic glass models)
Order Part Number W10355051
Affresh® Stainless Steel Cleaner
(stainless steel models)
Order Part Number W10355016
Affresh® Kitchen and Appliance Cleaner
Order Part Number W10355010
Cooktop Scraper
(ceramic glass models)
Order Part Number WA906B
Granite Cleaner and Polish
Order Part Number W10275756
Split Oven Rack
Order Part Number 4396927
Porcelain Broiler Pan and Grid
Order Part Number 4396923
Premium Broil Pan and Roasting Rack
Order Part Number W10123240
Gas Grate and Drip Pan Cleaner
Order Part Number 31617A
AMANA® MAJOR APPLIANCE LIMITED WARRANTY
ATTACH YOUR RECEIPT HERE. PROOF OF PURCHASE IS REQUIRED TO OBTAIN WARRANTY SERVICE.
Please have the following information available when you call the Customer eXperience Center:
- Name, address, and telephone number
- Model number and serial number
- A clear, detailed description of the problem
- Proof of purchase, including dealer or retailer name and address
IF YOU NEED SERVICE:
1. Before contacting us to arrange service, please determine whether your product requires repair. Some questions can be addressed without service. Please take a few minutes to review the Troubleshooting section of the Use and Care Guide or visit producthelp.amana.com.
2. All warranty service is provided exclusively by our authorized Amana Service Providers. In the U.S. and Canada, direct all requests for warranty service to:
Amana Customer eXperience Center
In the U.S.A., call 1-800-843-0304. In Canada, call 1-800-807-6777.
If outside the 50 United States or Canada, contact your authorized Amana dealer to determine whether another warranty applies.
ONE YEAR LIMITED WARRANTY | |
| WHAT IS COVERED | WHAT IS NOT COVERED |
| For one year from the date of purchase, when this major appliance is installed, operated, and maintained according to instructions attached to or furnished with the product, Amana brand of Whirlpool Corporation or Whirlpool Canada LP (hereafter “Amana”) will pay for factory specified replacement parts and repair labor to correct defects in materials or workmanship that existed when this major appliance was purchased or, at its sole discretion, replace the product. In the event of product replacement, your appliance will be warranted for the remaining term of the original unit’s warranty period.
YOUR SOLE AND EXCLUSIVE REMEDY UNDER THIS LIMITED WARRANTY SHALL BE PRODUCT REPAIR AS PROVIDED HEREIN. Service must be provided by a Amana designated service company. This limited warranty is valid only in the United States or Canada and applies only when the major appliance is used in the country in which it was purchased. This limited warranty is effective from the date of original consumer purchase. Proof of original purchase date is required to obtain service under this limited warranty. | 1. Commercial, non-residential, multiple-family use, or use inconsistent with published user, operator, or installation instructions. 2. In-home instruction on how to use your product. 3. Service to correct improper product maintenance or installation, installation not in accordance with electrical or plumbing codes, or correction of household electrical or plumbing (e.g., house wiring, fuses, or water inlet hoses). 4. Consumable parts (e.g., light bulbs, batteries, air or water filters, preservation solutions). 5. Defects or damage caused by the use of non-genuine Amana parts or accessories. 6. Conversion of products from natural gas or propane gas. 7. Damage from accident, misuse, abuse, fire, floods, acts of God, or use with products not approved by Amana. 8. Repairs to parts or systems to correct product damage or defects caused by unauthorized service, alteration, or modification of the appliance. 9. Cosmetic damage including scratches, dents, chips, and other damage to the appliance finishes, unless such damage results from defects in materials and workmanship and is reported to Amana within 30 days. 10. Discoloration, rust, or oxidation of surfaces resulting from caustic or corrosive environments including, but not limited to, high salt concentrations, high moisture or humidity, or exposure to chemicals. 11. Food or medicine loss due to product failure. 12. Pickup or delivery. This product is intended for in-home repair. 13. Travel or transportation expenses for service in remote locations where an authorized Amana servicer is not available. 14. Removal or reinstallation of inaccessible appliances or built-in fixtures (e.g., trim, decorative panels, flooring, cabinetry, islands, countertops, drywall) that interfere with servicing, removal, or replacement of the product. 15. Service or parts for appliances with original model/serial numbers removed, altered, or not easily determined. The cost of repair or replacement under these excluded circumstances shall be borne by the customer. |
DISCLAIMER OF IMPLIED WARRANTIES
IMPLIED WARRANTIES, INCLUDING ANY IMPLIED WARRANTY OF MERCHANTABILITY OR IMPLIED WARRANTY OF FITNESS FOR A PARTICULAR PURPOSE, ARE LIMITED TO ONE YEAR OR THE SHORTEST PERIOD ALLOWED BY LAW. Some states and provinces do not allow limitations on the duration of implied warranties of merchantability or fitness, so this limitation may not apply to you. This warranty gives you specific legal rights, and you also may have other rights that vary from state to state or province to province.
DISCLAIMER OF REPRESENTATIONS OUTSIDE OF WARRANTY
Amana makes no representations about the quality, durability, or need for service or repair of this major appliance other than the representations contained in this warranty. If you want a longer or more comprehensive warranty than the limited warranty that comes with this major appliance, you should ask Amana or your retailer about buying an extended warranty.
LIMITATION OF REMEDIES: EXCLUSION OF INCIDENTAL AND CONSEQUENTIAL DAMAGES
YOUR SOLE AND EXCLUSIVE REMEDY UNDER THIS LIMITED WARRANTY SHALL BE PRODUCT REPAIR AS PROVIDED HEREIN. AMANA SHALL NOT BE LIABLE FOR INCIDENTAL OR CONSEQUENTIAL DAMAGES. Some states and provinces do not allow the exclusion or limitation of incidental or consequential damages, so these limitations and exclusions may not apply to you. This warranty gives you specific legal rights, and you also may have other rights that vary from state to state or province to province.
05/17
W11235906A ®/™ ©2018 All rights reserved. Used under license in Canada. 04/18

















