
HD94B 12V 1/4 Inch Screwdriver
Owner’s Manual
Model HD94B
Owner’s Manual & Safety Instructions
23c
Battery and Charger Sold Separately
12V 1/4″ Screwdriver
WARNING: To prevent serious injury, User must read and understand Owner’s Manual. SAVE THIS MANUAL.
When unpacking, make sure that the product is intact and undamaged. If any parts are missing or broken, please call 1‑888‑866‑5797 as soon as possible. Reference 56564.
IMPORTANT SAFETY INFORMATION
GENERAL POWER TOOL SAFETY WARNINGS
WARNING
Read all safety warnings, instructions, illustrations and specifications provided with this power tool.
Failure to follow all instructions listed below may result in electric shock, fire and/or serious injury.
Save all warnings and instructions for future reference.
The term ″power tool″ in the warnings refers to your mains-operated (corded) power tool or battery-operated (cordless) power tool.
Work Area Safety
- Keep work area clean and well lit. Cluttered or dark areas invite accidents.
- Do not operate power tools in explosive atmospheres, such as in the presence of flammable liquids, gases or dust. Power tools create sparks which may ignite the dust or fumes.
- Keep children and bystanders away while operating a power tool. Distractions can cause you to lose control.
Electrical Safety
Do not expose power tools to rain or wet conditions. Water entering a power tool will increase the risk of electric shock.
Personal Safety
- Stay alert, watch what you are doing and use common sense when operating a power tool. Do not use a power tool while you are tired or under the influence of drugs, alcohol or medication. A moment of inattention while operating power tools may result in serious personal injury.
- Use personal protective equipment. Always wear eye protection. Protective equipment such as dust mask, non-skid safety shoes, hard hat, or hearing protection used for appropriate conditions will reduce personal injuries.
- Prevent unintentional starting. Ensure the switch is in the off-position before connecting to power source and/or battery pack, picking up or carrying the tool. Carrying power tools with your finger on the switch or energizing power tools that have the switch on invites accidents.
- Remove any adjusting key or wrench before turning the power tool on. A wrench or a key left attached to a rotating part of the power tool may result in personal injury.
- Do not overreach. Keep proper footing and balance at all times. This enables better control of the power tool in unexpected situations.
- Dress properly. Do not wear loose clothing or jewelry. Keep your hair, clothing and gloves away from moving parts. Loose clothes, jewelry or long hair can be caught in moving parts.
- If devices are provided for the connection of dust extraction and collection facilities, ensure these are connected and properly used. Use of dust collection can reduce dust-related hazards.
- Do not let familiarity gained from frequent use of tools allow you to become complacent and ignore tool safety principles. A careless action can cause severe injury within a fraction of a second.
- Only use safety equipment that has been approved by an appropriate standards agency. Unapproved safety equipment may not provide adequate protection. Eye protection must be ANSI‑approved and breathing protection must be NIOSH‑approved for the specific hazards in the work area.
- Do not lay the tool down until it has come to a complete stop. Moving parts can grab the surface and pull the tool out of your control.
- When using a handheld power tool, maintain a firm grip on the tool with both hands to resist starting torque.
- Do not leave the tool unattended when the Battery Pack is connected. Turn off the tool, and remove the Battery Pack before leaving.
- This product is not a toy. Keep it out of reach of children.
- People with pacemakers should consult their physician(s) before use. Electromagnetic fields in close proximity to heart pacemaker could cause pacemaker interference or pacemaker failure.
- The warnings, precautions, and instructions discussed in this instruction manual cannot cover all possible conditions and situations that may occur. It must be understood by the operator that common sense and caution are factors which cannot be built into this product, but must be supplied by the operator.
Power Tool Use and Care
- Do not force the power tool. Use the correct power tool for your application. The correct power tool will do the job better and safer at the rate for which it was designed.
- Do not use the power tool if the switch does not turn it on and off. Any power tool that cannot be controlled with the switch is dangerous and must be repaired.
- Disconnect the plug from the power source and/or remove the battery pack, if detachable, from the power tool before making any adjustments, changing accessories, or storing power tools. Such preventive safety measures reduce the risk of starting the power tool accidentally.
- Store idle power tools out of the reach of children and do not allow persons unfamiliar with the power tool or these instructions to operate the power tool. Power tools are dangerous in the hands of untrained users.
- Maintain power tools and accessories. Check for misalignment or binding of moving parts, breakage of parts and any other condition that may affect the power tool’s operation. If damaged, have the power tool repaired before use. Many accidents are caused by poorly maintained power tools.
- Keep cutting tools sharp and clean. Properly maintained cutting tools with sharp cutting edges are less likely to bind and are easier to control.
- Use the power tool, accessories and tool bits etc. in accordance with these instructions, taking into account the working conditions and the work to be performed. Use of the power tool for operations different from those intended could result in a hazardous situation.
- Keep handles and grasping surfaces dry, clean and free from oil and grease. Slippery handles and grasping surfaces do not allow for safe handling and control of the tool in unexpected situations.
Service
- Have your power tool serviced by a qualified repair person using only identical replacement parts. This will ensure that the safety of the power tool is maintained.
- Never service damaged BATTERY packs. Service of BATTERY packs should only be performed by the manufacturer or authorized service providers.
- Maintain labels and nameplates on the tool. These carry important safety information. If unreadable or missing, contact Harbor Freight Tools for a replacement.
Battery Tool Use and Care
- Prevent unintentional starting. Ensure the switch is in the off-position before connecting to battery pack, picking up or carrying the power tool. Carrying the power tool with your finger on the switch or energizing power tool that have the switch on invites accidents.
- Disconnect the battery pack from the power tool before making any adjustments, changing accessories, or storing power tool. Such preventive safety measures reduce the risk of starting the power tool accidentally
- Recharge only with the charger specified by the manufacturer. A charger that is suitable for one type of battery pack may create a risk of fire when used with another battery pack.
- Use power tools only with specifically designated battery packs. Use of any other battery packs may create a risk of injury and fire.
- When battery pack is not in use, keep it away from other metal objects, like paper clips, coins, keys, nails, screws or other small metal objects, that can make a connection from one terminal to another. Shorting the battery terminals together may cause burns or a fire.
- Under abusive conditions, liquid may be ejected from the battery; avoid contact. If contact accidentally occurs, flush with water. If liquid contacts eyes, additionally seek medical help. Liquid ejected from the battery may cause irritation or burns.
- Do not use a battery pack or power tool that is damaged or modified. Damaged or modified batteries may exhibit unpredictable behavior resulting in fire, explosion or risk of injury.
- Do not expose a battery pack or power tool to fire or excessive temperature. Exposure to fire or temperature above 140° F may cause explosion.
- Follow all charging instructions and do not charge the battery pack or power tool outside of the temperature range specified in the instructions. Charging improperly or at temperatures outside of the specified range may damage the battery and increase the risk of fire.
- Have servicing performed by a qualified repair person using only identical replacement parts. This will ensure that the safety of the product is maintained.
- Do not modify or attempt to repair the power tool or the battery pack except as indicated in the instructions for use and care.
The battery Charger gets hot during use. The Charger’s heat can build up to unsafe levels and create a fire hazard if it does not receive adequate ventilation, due to an electrical fault, or if it is used in a hot environment. Do not place the Charger on a flammable surface. Do not obstruct any vents on the Charger. Especially avoid placing the Charger on carpets and rugs; they are not only flammable, but they also obstruct vents under the Charger. Place the Charger on a stable, solid, nonflammable surface (such as a stable metal workbench or concrete floor) at least 1 foot away from all flammable objects, such as drapes or walls. Keep a fire extinguisher and a smoke detector in the area. Frequently monitor the Charger and Battery Pack while charging.
Lithium Battery Safety Warnings
LITHIUM BATTERIES STORE A LARGE AMOUNT OF ENERGY AND WILL VENT FIRE OR EXPLODE IF MISTREATED:
- Keep Battery Pack dry.
- DO NOT DO ANY OF THE FOLLOWING
TO THE BATTERY PACK:
• Open
• Drop
• Short-circuit
• Puncture
• Incinerate
• Expose to temperatures greater than 140° F. - Charge Battery Pack only according to instructions.
- Inspect Battery Pack before every use; do not use or charge if damaged.
Vibration Safety
This tool vibrates during use.
Repeated or long‑term exposure to vibration may cause temporary or permanent physical injury, particularly to the hands, arms and shoulders.
To reduce the risk of vibration‑related injury:
- Anyone using vibrating tools regularly or for an extended period should first be examined by a doctor and then have regular medical check‑ups to ensure medical problems are not being caused or worsened from use. Pregnant women or people who have impaired blood circulation to the hand, past hand injuries, nervous system disorders, diabetes, or Raynaud’s Disease should not use this tool. If you feel any symptoms related to vibration (such as tingling, numbness, and white or blue fingers), seek medical advice as soon as possible.
- Do not smoke during use. Nicotine reduces the blood supply to the hands and fingers, increasing the risk of vibration‑related injury.
- Wear suitable gloves to reduce the vibration effects on the user.
- Use tools with the lowest vibration when there is a choice.
- Include vibration‑free periods each day of work.
- Grip tool as lightly as possible (while still keeping safe control of it). Let the tool do the work.
- To reduce vibration, maintain the tool as explained in this manual. If any abnormal vibration occurs, stop use immediately.
SAVE THESE INSTRUCTIONS
Grounding
WARNING
TO PREVENT ELECTRIC SHOCK AND DEATH FROM INCORRECT GROUNDING:
Check with a qualified electrician if you are in doubt as to whether the outlet is properly grounded. Do not modify the power cord plug provided with the charger. Do not use the charger if the power cord or plug is damaged.
If damaged, have it repaired by a service facility before use. If the plug will not fit the outlet, have a proper outlet installed by a qualified electrician.
Extension Cords
Extension cords must not be used with this item’s Charger.
Symbology
| V | Volts |
| Direct Current | |
| A | Amperes |
| n0 xxxx/min. | No Load Revolutions per Minute (RPM) |
| WARNING marking concerning Risk of Eye Injury. Wear ANSI‑approved safety goggles with side shields. | |
| Read the manual before set‑up and/or use. | |
| WARNING marking concerning Risk of Hearing Loss. Wear hearing protection. | |
| WARNING marking concerning Risk of Fire. Do not cover Charger ventilation ducts. Charge on fireproof surface only. | |
| WARNING marking concerning Risk of Explosion. Do not puncture, short, or open battery packs and do not charge damaged battery packs. | |
| WARNING marking concerning Risk of Electric Shock. Properly connect Charger’s power cord to appropriate outlet. |
SPECIFICATIONS
| Battery Type | Hercules 12V Li‑Ion (sold separately) |
| No Load Speed | n0: 0 – 400 / 0 –1500/min |
| Chuck Size | 1/4″ |
Warning Symbols and Definitions
This is the safety alert symbol. It is used to alert you to potential personal injury hazards. Obey all safety messages that follow this symbol to avoid possible injury or death.
DANGER Indicates a hazardous situation which, if not avoided, will result in death or serious injury.
WARNING Indicates a hazardous situation which, if not avoided, could result in death or serious injury.
CAUTION Indicates a hazardous situation which, if not avoided, could result in minor or moderate injury.
NOTICE Addresses practices not related to personal injury.
SETUP – BEFORE USE
v Read the ENTIRE IMPORTANT SAFETY INFORMATION section at the beginning of this manual including all text under subheadings therein before set up or use of this product.
Functional Description
12V 1/4″ Screwdriver
- Chuck
- Torque Selector
- Speed Selector
- Direction Switch
- Trigger
- Work Light
- Battery Pack (sold separately)
Charging
Charge battery after unpacking and before using this tool. Follow instructions included with battery charger (sold separately).
Workpiece and Work Area Set Up
- Designate a work area that is clean and well lit. The work area must not allow access by children or pets to prevent distraction and injury.
- Secure loose workpieces using a vise or clamps (not included) to prevent movement while working.
- There must not be objects, such as utility lines, nearby that will present a hazard while working.
GENERAL OPERATION
Read the ENTIRE IMPORTANT SAFETY INFORMATION section at the beginning of this manual including all text under subheadings therein before set up or use of this product.
Tool Set Up
WARNING
TO PREVENT SERIOUS INJURY FROM ACCIDENTAL OPERATION:
Make sure that the Trigger is in the off-position andremove the Battery Pack before performing any procedure in this section.
Attaching / Removing Accessories
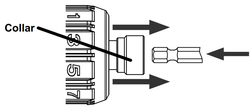
CAUTION! Only use 1/4″ hex shank bits. Verify bit fits the Chuck precisely before use.
- Pull Collar forward and insert an appropriate accessory (sold separately) into the hex drive Chuck. Pull on bit to ensure it is secure.
- To remove, pull Collar forward, remove bit from Chuck and then release Collar.

Attaching Belt Clip
Attach Belt Clip to Handle using supplied Screw. Clip may be attached to either side.
Setting Torque
- Set torque by rotating Torque Selector.
Note: The proper torque setting depends on type and size of fastener being driven, as well as type of material being driven into. - Adjust the torque setting low enough to allow a safety margin. Use a very low torque setting when first driving small screws into soft materials. Then adjust the setting as the proper force required is determined. If a pilot hole has been drilled into the material, a lower torque setting will be required.
Speed Selection
Adjust Speed Selector to proper setting:
- Low Speed: Select 1
- High Speed: Select 2
General Instructions for Use
- Lock Trigger, then insert a fully charged Battery Pack, making sure that it clicks into place securely.
- Set Direction Switch:
Forward: Push Switch in on right side (arrow pointing forward) for clockwise rotation.
Reverse: Push Switch in on left side (arrow pointing backward) for counter‑clockwise rotation.
Trigger Lock: Push Switch to the center to lock the Trigger.
CAUTION! Set Control Switch to center Trigger Lock position during set up, when changing bits or when tool is idle.
- Install bit and select torque, speed and direction of rotation.
NOTICE: Do not change direction of rotation while Chuck is rotating. Wait until Chuck has come to a complete stop before changing direction. - Press Trigger to start the tool. The Work Light will turn on when Trigger is pressed and turn off when Trigger is released.
- The tool has variable speed. To increase speed, apply more pressure to Trigger. To decrease speed, lessen pressure on Trigger.
- When inserting or removing a screw or bolt, use slight pressure at first to keep the bit in the head of the screw or bolt and cause the screw or bolt to thread into or unthread from the material.
Note: The amount of actual torque will vary depending on the cleanness and condition of the threads and other factors. If tightening critical components, chase threads before assembling components and check the actual torque applied to the fastener with
a mechanical torque wrench (not included). - When finished using the Screwdriver, release Trigger and center Direction Switch to lock Trigger.
- To prevent accidents, remove tool’s Battery Pack after use. Clean, then store the tool indoors out of children’s reach.
MAINTENANCE AND SERVICING
Procedures not specifically explained in this manual must be performed only by a qualified technician.
WARNING
TO PREVENT SERIOUS INJURY FROM ACCIDENTAL OPERATION:
Make sure the Trigger is locked, Battery Pack is removed, and Charger is unplugged before performing any procedure in this section.
TO PREVENT SERIOUS INJURY FROM TOOL FAILURE:
Do not use damaged equipment. If abnormal noise or vibration occurs or damage is noted, have the problem corrected before further use.
Cleaning, Maintenance, and Lubrication
- BEFORE EACH USE, inspect the general condition of the Tool, Charger, and Battery Pack. Check for:
• leaking, swollen, or cracked Battery Pack
• loose hardware
• misalignment or binding of moving parts
• cracked or broken parts
• damaged electrical wiring
• any other condition that may affect its safe operation. - AFTER USE, wipe external surfaces of the Tool and Charger with clean cloth.
- Li‑Ion BATTERY MUST BE RECYCLED OR DISPOSED OF PROPERLY. Do not short, incinerate or open battery.
- Disconnect Battery Pack and store Battery Pack, Charger, and Tool in dry, indoor area at room temperature out of reach of children and away from metal objects (i.e., paperclips, coins) to prevent shorting.
WARNING! TO PREVENT SERIOUS INJURY AND DEATH FROM ELECTRIC SHOCK:
Do not open Charger. Do not service internal parts. This device complies with Part 15 of the FCC Rules. Operation is subject to the following two conditions:
(1) this device may not cause harmful interference, and (2) this device must accept any interference received, including interference that may cause undesired operation.
Troubleshooting
| Problem | Possible Causes | Likely Solutions |
| Tool will not start. | 1.Battery Pack not properly connected. 2.Battery Pack not properly charged. 3.Battery Pack worn out. 4.Internal damage or wear. (Carbon brushes or switch, for example.) | 1.Remove Battery Pack, make sure there are no obstructions, clean battery contacts on tool, reinsert the Battery Pack and press firmly until the Battery Pack locks in place. 2.Make sure Charger is connected and operating properly. Give enough time for Battery Pack to recharge properly. 3.Dispose of old Battery Pack properly or recycle. Replace Battery Pack. 4.Have technician service tool. |
| Tool operates slowly. | 1.Forcing tool to work too fast. 2.Battery Pack wearing out. | 1.Allow tool to work at its own rate. 2.Dispose of old Battery Pack properly or recycle. Replace Battery Pack. |
| Performance decreases over time. | Carbon brushes worn or damaged. | Have qualified technician replace brushes. |
| Excessive noise or rattling. | Internal damage or wear. | Have technician service tool. |
| Overheating. | 1.Forcing tool to work too fast. 2.Blocked motor housing vents. | 1.Allow tool to work at its own rate. 2.Wear ANSI-approved safety goggles and NIOSH-approved dust mask/respirator while blowing dust out of motor using compressed air. |
Follow all safety precautions whenever diagnosing or servicing the tool.
Disconnect Battery Pack and Charger power supply before service.
LIMITED 90 DAY WARRANTY
Harbor Freight Tools Co. makes every effort to assure that its products meet high quality and durability standards, and warrants to the original purchaser that this product is free from defects in materials and workmanship for the period of 90 days from the date of purchase. This warranty does not apply to damage due directly or indirectly, to misuse, abuse, negligence or accidents, repairs or alterations outside our facilities, criminal activity, improper installation, normal wear and tear, or to lack of maintenance. We shall in no event be liable for death, injuries to persons or property, or for incidental, contingent, special or consequential damages arising from the use of our product. Some states do not allow the exclusion or limitation of incidental or consequential damages, so the above limitation of exclusion may not apply to you. THIS WARRANTY IS EXPRESSLY IN LIEU OF ALL OTHER WARRANTIES, EXPRESS OR IMPLIED, INCLUDING THE WARRANTIES OF MERCHANTABILITY AND FITNESS.
To take advantage of this warranty, the product or part must be returned to us with transportation charges prepaid. Proof of purchase date and an explanation of the complaint must accompany the merchandise. If our inspection verifies the defect, we will either repair or replace the product at our election or we may elect to refund the purchase price if we cannot readily and quickly provide you with a replacement. We will return repaired products at our expense, but if we determine there is no defect, or that the defect resulted from causes not within the scope of our warranty, then you must bear the cost of returning the product. This warranty gives you specific legal rights and you may also have other rights which vary from state to state.
Record Product’s Serial Number Here:
Note: Some parts are listed and shown for illustration purposes only, and are not available individually as replacement parts. Specify UPC 193175512758 when ordering parts.
Visit our website at: http://www.harborfreight.com
Email our technical support at: [email protected]
For technical questions, please call 1-888-866-5797 Copyright© 2023 by Harbor Freight Tools®.
All rights reserved. No portion of this manual or any artwork contained herein may be reproduced in any shape or form without the express written consent of Harbor Freight Tools.
Diagrams within this manual may not be drawn proportionally. Due to continuing improvements, actual product may differ slightly from the product described herein. Tools required for assembly and service may not be included.
26677 Agoura Road
Calabasas, CA 91302
1-888-866-5797
















