
SMART MAGNETIC BELT DRIVE
INDOOR CYCLING BIKE
SF-B1877 SMART
USER MANUAL
SF-B1877 Endurance Belt Drive Magnetic Indoor Exercise Cycle Bike

IMPORTANT! Please retain owner’s manual for maintenance and adjustment instructions. Your satisfaction is very important to us, PLEASE DO NOT RETURN UNTIL YOU HAVE CONTACTED US: [email protected] or 1- 877 – 90SUNNY (877-907-8669).
IMPORTANT SAFETY INFORMATION
We thank you for choosing our product. To ensure your safety and health, please use this equipment correctly. It is important to read this entire manual before assembling and using the equipment. Safe and effective use can only be achieved if the equipment is assembled, maintained, and used properly. It is your responsibility to ensure that all users of the equipment are informed of all warnings and precautions.
- Before starting any exercise program, you should consult your physician to determine if you have any medical or physical conditions that could put your health and safety at risk or prevent you from using the equipment properly. Your physician’s advice is essential if you are taking medication that affects your heart rate, blood pressure, or cholesterol level.
- Be aware of your body’s signals. Incorrect or excessive exercise can damage your health. Stop exercising if you experience any of the following symptoms: pain, tightness in your chest, irregular heartbeat, shortness of breath, lightheadedness, dizziness, or feelings of nausea. If you do experience any of these conditions, you should consult your physician before continuing with your exercise program.
- Keep children and pets away from the equipment. The equipment is designed for adult use only.
- Use the equipment on a solid, flat level surface with a protective cover for your floor or carpet.
To ensure safety, the equipment should have at least 2 feet (60 CM) of free space all around it. - Ensure that all nuts and bolts are securely tightened before using the equipment. The safety of the equipment can only be maintained if it is regularly examined for damage and/or wear and tear.
- Always use the equipment as indicated. If you find any defective components while assembling or checking the equipment, or if you hear any unusual noises coming from the equipment during exercise, discontinue use of the equipment immediately and do not use until the problem has been rectified.
- Wear suitable clothing while using the equipment. Avoid wearing loose clothing that may become entangled in the equipment.
- Do not place fingers or objects into the moving parts of the equipment.
- The maximum weight capacity of this unit is 265 pounds (120 KG).
- This equipment is not suitable for therapeutic use.
- To avoid bodily injury and/or damage to the product or property, proper lifting and moving are required.
- Your product is intended for use in cool and dry conditions. You should avoid storage in extreme cold, hot or damp areas as this may lead to corrosion and other related problems.
- This equipment is designed for indoor and home use only; It is not intended for commercial use.
PRE-ASSEMBLY CHECK LIST
Before you start to assemble, please make sure all parts are included
| No. | Description | Spec. | Qty. | No. | Description | Spec. | Qty. | |
| 1 | Seat Post | 1 | 39 | Tablet Holder | 219.5*101*75 | 1 | ||
| 2 | Handlebar Post | 1 | 40 | Computer | TZ4117 | 1 | ||
| 3 | Seat Slider | 1 | 41 | Handlebar(A) | 1 | |||
| 4 | Adjustment Knob | M16*1.5 | 3 | 51R | Pedal | YH-102X 9/16” | 1 | |
| 5 | Seat | 98-2 | 1 | 51L | Pedal | YH-102X 9/16” | 1 | |
| 6 | Rear Stabilizer | 1 | 61 | Bottle Holder | Φ73*215 | 1 | ||
| 7 | Front Stabilizer | 1 | A | Manual | 1 | |||
| 8 | Main Frame | 1 | B | Thank You Card | 1 | |||
| 32 | Tension Control Knob | Φ10*246 | 1 | C | Hardware Package | 1 |
HARDWARE PACKAGE

Ordering Replacement Parts (U.S. and Canadian Customers only)
Please provide the following information in order for us to accurately identify the part(s) needed:
- The model number (found on cover of manual)
- The product name (found on cover of manual)
- The part number found on the “EXPLODED DIAGRAM” and “PARTS LIST” (found near the end of the manual)
Please contact us at [email protected] or 1- 877 – 90SUNNY (877-907-8669).
ASSEMBLY INSTRUCTIONS
We value your experience using Sunny Health and Fitness products. For assistance with parts or troubleshooting, please contact us at [email protected] or 1-877-90SUNNY (877-907-8669).
STEP 1: Rear Shipping Tube (No. 99) is pre-assembled on Main Frame (No. 8).
Unscrew 2 Screws (No. 98) from Main Frame (No. 8) with Allen Wrench (No. 93), remove 2 Washers (No. 65) and Rear Shipping Tube (No. 99) from Main Frame (No. 8).
You may save these parts [Screws (No. 98), Washers (No. 65), and Rear Shipping Tube (No. 99)] in case you would like to repackage and transport this equipment in the future.
We value your experience using Sunny Health and Fitness products. For assistance with parts or troubleshooting, please contact us at [email protected] or 1-877-90SUNNY (877-907-8669).

STEP 2: Pull out the Seat Post (No. 1) from Main Frame (No. 8). Turn the Seat Post (No. 1) at 180° as left picture showed. Then re-insert Seat Post (No. 1) into the sleeve located on the Main Frame (No. 8). Adjust the Seat Post (No. 1) to the desired position and tighten with the Adjustment Knob (No. 4).
STEP 3: Attach the Front and Rear Stabilizers (No. 7 & No. 6) to the Main Frame (No. 8) using 4 Screws (No. 100) and 4 Washers (No. 65). Tighten and secure with Allen Wrench (No. 93).
We value your experience using Sunny Health and Fitness products. For assistance with parts or troubleshooting, please contact us at [email protected] or 1-877-90SUNNY (877-907-8669).
STEP 4:
WARNING! Read instructions carefully as improper assembly may cause permanent damage to your bike.
Note: The Pedals (No. 51L/R) are marked “L” and “R” for Left and Right.
Remove the 2 Nylon Nuts (No. 52L/R) located on the Pedals (No. 51L/R).
Turn the Tension Control Knob (No. 32) CLOCKWISE as tightly as you can with your hand.
Align the Left Pedal (No. 51L) with the Left Crank (No. 58L) at 90°. Turn the pedal bolt on the Left Pedal (No. 51L) COUNTER-CLOCKWISE as tightly as you can with your hand. Then, use Spanner (No. 94) to tighten and secure.
Turn the Left Nylon Nut (No. 52L) CLOCKWISE as tightly as you can with your hand. Use Spanner (No. 94) to hold the pedal bolt on the Left Pedal (No. 51L) and use Spanner (No. 95) to turn the Left Nylon Nut (No. 52L) CLOCKWISE at the same time, until it is tightened onto the Left Crank (No. 58L).
Align the Right Pedal (No. 51R) with the Right Crank (No. 58R) at 90°. Turn the pedal bolt on the Right Pedal (No. 51R) CLOCKWISE as tightly as you can with your hand. Then, use Spanner (No. 94) to tighten and secure.
Turn the Right Nylon Nut (No. 52R)
COUNTER-CLOCKWISE as tightly as you can with your hand. Use Spanner (No. 94) to hold the pedal bolt on the Right Pedal (No. 51R) and use Spanner (No. 95) to turn the Right Nylon Nut (No. 52R) COUNTER-CLOCKWISE at the same time, until it is tightened onto the Right Crank (No. 58R).
Remove 2 Screws (No. 74) and 2 Washers (No. 73) from the Main Frame (No. 8) using Spanner (No. 94). Attach the Bottle Holder (No. 61) to the Main Frame (No. 8) using the 2 Screws (No. 74) and 2 Washers (No. 73) that were removed. Tighten and secure with Spanner (No. 94).
We value your experience using Sunny Health and Fitness products. For assistance with parts or troubleshooting, please contact us at [email protected] or 1-877-90SUNNY (877-907-8669).
STEP 5: Loosen and remove the [seat slider] Adjustment Knob (No. 4). Insert Seat Slider (No. 3) into the Seat Post (No. 1). Adjust the Seat Slider (No. 3) to the desired position, re-insert and tighten Adjustment Knob (No. 4) to secure the post in place.
Secure Seat (No. 5) to the Seat Slider (No. 3) with Spanner (No. 94).
NOTE: Before you fully tighten the seat, you can adjust the front of the seat higher or lower to meet your needs.
STEP 6: Loosen and remove the [handlebar] Adjustment Knob (No. 4). Insert Handlebar Post (No. 2) into the sleeve located on the front of the Main Frame (No. 8). Adjust the Handlebar Post (No. 2) to the desired position and reinsert and tighten the Adjustment Knob (No. 4) to secure the post in place.
Secure Handlebar (A) (No. 41) to Handlebar Post (No. 2) using 2 Bolts (No. 67) and 2 Nuts (No. 37). Tighten and secure with Spanner (No. 95).
Remove Screw (No. 72) from Handlebar (A) (No. 41) with Spanner (No. 94). Attach Tablet Holder (No. 39) onto the Handlebar (A) (No. 41) with Screw (No. 72) that was removed. Tighten and secure with Spanner (No. 94).
Attach the Computer (No. 40) to the bracket located on the Handlebar Post (No. 2). Connect Computer Wire 1 (No. 40a) with Handle Pulse Wire (No. 88), and connect Computer Wire 2 (No. 40b) with Trunk Wire (No. 57).
The assembly is complete!
BATTERY INSTALLATION & REPLACEMENT

BATTERY INSTALLATION
- Take out 2 AAA batteries from computer box.
- Press the buckle of battery cover on the back of the Computer (No. 40), then remove battery cover.
- Install 2 AAA batteries into the battery case on the back of the Computer (No. 40). Pay attention to the battery + and – poles before installing.
- Press the buckle of battery cover, then put the battery cover back to the back of the Computer (No. 40).
The installation is complete!
BATTERY REPLACEMENT
- Press the buckle of battery cover on the back of the Computer (No. 40), then remove battery cover.
- Remove the 2 old AAA batteries in the battery case and install 2 new AAA batteries into the battery case on the back of the Computer (No. 40). Pay attention to the battery + and – poles before installing.
- Press the buckle of battery cover, then put the battery cover back to the back of the Computer (No. 40).
The replacement is complete!
NOTE: Always change both batteries at the same time. Do not mix battery types and do not mix old and new batteries. Dispose batteries according to your state and regional guidelines.
EXERCISE COMPUTER
FUNCTION BUTTON:
MODE:
- Press the button for selection function display value on LCD.
- Press the button and hold for 2 seconds to reset all values except odometer to zero.
Note: When the user replaces batteries, all the values will reset to ZERO automatically.

OPERATIONS: AUTO ON/OFF: The computer will show the workout value automatically as the user begins to exercise. When the bike has become inactive or without any exercise over 4 minutes, the computer will turn off and the workout value on the odometer will be held. While the user starts the exercise again, the workout value on odometer will accumulate continuously.
AUTO SCAN: After the computer is powered on or the MODE button is pressed, the LCD will display all function values: TMR-SPD-DIST-CAL-ODO-RPM-PUL (repeat). Every function will display for 6 seconds.
FUNCTIONS: SPD (SPEED): Displays the current speed being obtained. The range is from 0.0 to 99.9 MPH (Miles per Hour).
DST (DISTANCE): Counts the total distance of an exercise from start to finish. The range is from 0.00 up to 9999 M (Miles).
TMR (TIME): Counts the total time of an exercise from start to finish. The range is from 00:00 up to 99:59.
CAL (CALORIES): Counts the total amount of calories burned during an exercise from start to finish. The range is from 0.0 to 9999 KCAL. (The data is a rough guide which cannot be used in medical treatment.)
ODO (ODOMETER): Displays the total amount of distance from the first use. The range is from 0.0 to 9999 M (Miles). User also can press the MODE button to display the odometer value. RPM: Counts each stroke within a minute. The range is from 0 to 400. PUL (PULSE): Displays the user’s heart rate in beats per minute during training. (The data is a rough guide which cannot be used in medical treatment.)
NOTE: please put your hands on the handle pulses when in PULSE function.
Note:
- If the computer display appears incorrectly or become difficult to read, please re-install the batteries and try again.
- Battery Spec: 1.5V UM-4 or AAA (2PCS).
- The batteries must be removed from the appliance before it is disposed safely.
APP CONNECTION:
- Scan the QR code below to download the SunnyFit app onto your mobile device.
https://sunnyhealthfitness.com/app/] - If this is your first time using the SunnyFit app, follow the in-app instructions to register for your free SunnyFit account and log in.
- Ensure that the Bluetooth
function is turned on from your mobile device. - To connect the equipment to the SunnyFit app:
a. From the “Workout” tab, press on the “Search” button to search for your equipment.
b. Once your equipment appears on the list, tap the “Select” button to confirm.
c. Note: If your equipment does not appear on the “Searching for Equipment” list, check the
EXERCISE COMPUTER on your equipment to ensure that it is not in sleep mode and your phone’s Bluetooth function is on, then tap “Retry” to search again.
d. Once your equipment shows up on the “Workout” tab as “Currently Selected”, your mequipment is now ready to display, track, and record your equipment’s workout stats on the app! - If you are unable to replicate these steps, or have any other issues with the SunnyFit app, please contact SunnyFit support at [email protected], or use the in-app “Contact Us” form to request support (“Me” tab -> “Contact Us”).
ADJUSTMENTS & USAGE GUIDE
![]() | ADJUSTING THE BALANCE In order to achieve a smooth and comfortable ride, you must ensure that the bike is stabled and secured. If you notice that the bike is unbalanced during use, you should adjust the Foot Levelers (No. 13) located beneath the Front & Rear Stabilizers (No. 7 & No. 6) of the bike. To do so, use Spanner (No. 95) to loosen Nut (No. 66) by turning it clockwise (direction A). With the nut loosened, rotate the Foot Leveler (No. 13) until the bike becomes levelled with the floor surface. When you have finished adjusting the Foot Leveler (No. 13), re-tighten the Nut (No. 66) by turning it counter-clockwise (direction B) to complete the balance adjustment of the bike. If required, repeat this process to adjust the remaining the Foot Levelers (No. 13). |
![]() | ADJUSTING THE TENSION & EMERGENCY STOP Adjust the tension by rotating the Tension Control Knob (No. 32) clockwise to increase the level of resistance. Rotate the Tension Control Knob (No. 32) counter-clockwise to decrease the level of resistance. Push down on the Tension Control Knob (No. 32) to enforce the brake and stop the bike immediately. |
![]() | ADJUSTING THE ANGLE OF SEAT Use Spanner (No. 94) to unscrew the nut under the seat. Adjust the seat to the desired angle and reinstall the nut. Check the nut periodically to ensure that it is tight and secure. Use the Spanner (No. 94) to tighten when necessary. Note: You will need to tighten the nut on the opposite side at the same time. The use of an additional spanner is required. |
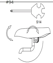
![]() | MOVING THE BIKE To move the bike, first ensure that the Handlebar (A) (No. 41) is properly secured. If the Handlebar (A) (No. 41) is loose, tighten the Adjustment Knob (No. 4) to secure it. Next, stand in front of the bike so that you’re directly in front of the Handlebar (A) (No. 41). Firmly grasp and hold each side of the Handlebar (A) (No. 41), place one foot on the Front Stabilizer (No. 7), and tilt the bike towards you until the Transportation Wheels (No. 12) on the Front Stabilizer (No. 7) touches the ground. With the Transportation Wheels (No. 12) on the ground, you can transport the bike to the desired location with ease. |
![]() | ADJUSTING THE HEIGHT Loosen and pull out the [seat height] Adjustment Knob (No. 4) to adjust the height of the seat. You may also slide the seat forward or backwards by loosening and pulling out the [seat] Adjustment Knob (No. 4) on the Seat Slider (No. 3). You may adjust the height of the handlebar by using the [handlebar] Adjustment Knob (No. 4). When adjusting, you will see a limit on the seat post, seat slider, and handlebar post. Do not lift the posts passed this mark. Always check the Adjustment Knob (No. 4) to ensure that it is fully secured when you finish making an adjustment. |
MAINTENANCE INSTRUCTIONS
This is general information for daily, weekly, and monthly maintenance to be performed on your bike.
| DAILY MAINTENANCE After each exercise session, wipe down all the equipment: seat, frame, and handlebars. | MONTHLY MAINTENANCE 1. Check if all hardware is secure, such as: bottle holder, flywheel nuts, belt/chain guard bolts, brake caliper lock nuts, and brake caliper tension rod nuts. |
| WEEKLY MAINTENANCE 1. Inspect moving parts and tighten the hardware. | LEATHER BRAKE PAD CARE (If applicable) 1. Perform this maintenance when the brake pad is first installed and for the life of the brake pad. Following these simple guidelines can increase the life of your brake pads. |
EXPLODED DIAGRAM

PARTS LIST
| No. | Description | Spec. | Qty. | No. | Description | Spec. | Qty. | |
| 1 | Seat Post | 1 | 42 | Inductor Seat | LTF8163 | 1 | ||
| 2 | Handlebar Post | 1 | 43 | Magnetic Bracket | 1 | |||
| 3 | Seat Slider | 1 | 44 | Nut | M8*S13 | 1 | ||
| 4 | Adjustment Knob | M16*1.5 | 3 | 45 | Wave Washer | D17*Φ22*30 | 1 | |
| 5 | Seat | 98-2 | 1 | 46 | C-clip | D17 | 1 | |
| 6 | Rear Stabilizer | 1 | 47 | Nut | M8 | 1 | ||
| 7 | Front Stabilizer | 1 | 48 | Right Decorative Cover | 220*191*67 80g | 1 | ||
| 8 | Main Frame | 1 | 49 | Left Decorative Cover | 220*191*67 80g | 1 | ||
| 9 | Outer Belt Cover | 648*264*45 | 1 | 50 | Spacer | Φ18*Φ12.12*53.6 | 1 | |
| 10 | Decorative Cover | 195*161*31 | 1 | 51L/R | Pedal | YH-102X 9/16” | 2 | |
| 11 | Bushing | F38*F30*153.3 | 3 | 52L/R | Nylon Nut | 9/16*20*H8*S22 | 2 | |
| 12 | Transportation Wheel | Φ42*18*Φ8*22 | 2 | 53 | Magnet | Φ15*7, LT-310 | 1 | |
| 13 | Foot Leveler | Φ38*43/(M8*25) | 4 | 54 | Middle Axle | Φ17*166*42.5*74.5 *4-Φ10.1*Φ105 | 1 | |
| 14 | End Cap | 70*30*1.5 | 4 | 55 | Belt Wheel | Φ204*21*5PK | 1 | |
| 15 | End Cap | 30*30*1.5 | 3 | 56 | Bearing | 6203RS C&U | 2 | |
| 16 | Inertial Axle | Φ16*Φ12*156 | 1 | 57 | Trunk Wire | 1 | ||
| 17 | Idler Wheel Shaft | 1 | 58L/R | Crank | 170mm | 2 | ||
| 18 | Idler Wheel | Φ43*Φ34*24 | 1 | 59 | Screw | M10*16 | 4 | |
| 19 | Washer | Φ6.4*Φ16*1.5 | 1 | 60 | Spacer | Φ22*Φ17.1*5.5 | 1 | |
| 20 | Screw | M6*10 | 1 | 61 | Bottle Holder | Φ73*215 | 1 | |
| 21 | Nut | M8 | 3 | 62 | Flywheel | Φ460*33*Φ55*5PK | 1 | |
| 22 | Bolt | M8*55 | 1 | 63 | Spacer | Φ18*Φ12.2*25.5 | 1 | |
| 23 | Metal Plate | δ2.5 | 2 | 64 | Screw | M8*40*20*S5 | 3 | |
| 24 | Screw | M8*10 | 2 | 65 | Washer | Φ8.4*Φ16*1.6 | 9 | |
| 25 | Washer | Φ8.4*Φ20*t1.5 | 2 | 66 | Nut | M8 | 4 | |
| 26 | Washer | Φ8.1*Φ12.3*t2.1 | 2 | 67 | Bolt | M10*35*15*H6 | 2 | |
| 27 | Nut | M12*1.25P*H6*S19 | 1 | 68 | Hex Nut | M10*1.25 | 2 | |
| 28 | Bearing | 6201RS C&U | 2 | 69 | Cap Nut | M12*1.25 | 2 | |
| 29 | Spring | Φ1.2*Φ13*44*N15 | 1 | 70 | Screw | M6*10 | 4 | |
| 30 | Nut | M10*H9.5*S17 | 1 | 71 | Washer | Φ5.4*Φ13*1.0 | 4 | |
| 31 | Bushing | 17*17*99 | 1 | 72 | Screw | M5*10 | 1 | |
| 32 | Tension Control Knob | Φ10*246 | 1 | 73 | Washer | D5*Φ13*1 | 2 | |
| 33 | Nut | M10*H6*S17 | 1 | 74 | Screw | M5*15*Φ10 | 2 | |
| 34 | Plastic Cover | 25*27*27 | 1 | 75 | Screw | M6*10*Φ12 | 2 | |
| 35 | Square Nut | 15*15*25*M10 | 1 | 76 | Screw | ST4.8*10*Φ8 | 11 | |
| 36 | C-clamp | 17*20 | 3 | 77 | Magnet | 30*20*10 | 6 | |
| 37 | Nut | M10*H9.5*S17 | 2 | 78 | Screw | ST4.2*13 | 9 | |
| 38 | Belt | 5PK*1320 | 1 | 79 | Screw | ST4.2*16 | 3 | |
| 39 | Tablet Holder | 219.5*101*75 | 1 | 80 | Front Shipping Tube | 1 | ||
| 40 | Computer | TZ4117 | 1 | 81 | End Cap | Φ25*1.5 | 2 | |
| 40a | Computer Wire 1 | 1 | 82 | End Cap | Φ14*14 | 5 | ||
| 40b | Computer Wire 2 | 1 | 83 | Cover for Middle Axle | Φ56*28 | 1 | ||
| 41 | Handlebar (A) | 1 | 84 | Crank Cap | Φ25*7 | 2 |
| No. | Description | Spec. | Qty. | No. | Description | Spec. | Qty. | |
| 85 | Inner Belt Cover | 504*259*23 | 1 | 93 | Allen Wrench | S5-S6 | 1 | |
| 86 | Handlebar (B) | 1 | 94 | Spanner | S13-14-15 | 1 | ||
| 87 | Handle Pulse | 2 | 95 | Spanner | S10-13-17-22 | 1 | ||
| 88 | Handle Pulse Wire | 1 | 96 | Washer | Φ6.1*Φ9.3*t1.6 | 1 | ||
| 89 | Foam (A) | Φ23*Φ29*600 | 1 | 97 | Spacer | Φ22*Φ17.1*10 | 1 | |
| 90 | Foam (B) | Φ23*Φ29*420 | 2 | 98 | Screw | M8*15 | 2 | |
| 91 | Screw | ST4.2*15 | 2 | 99 | Rear Shipping Tube | 1 | ||
| 92 | Inductor | 1 | 100 | Screw | M8*20*S5 | 4 |
CONNECT WITH US
FOR FITNESS ARTICLES, VIDEOS & WORKOUTS

https://sunnyhealthfitness.com/pages/sign-up
©SUNNYHEALTHANDFITNESS
©SUNNYHEALTHFITNESS
@SUNNYHEALTHFIT
ISUNNYHEALTHFITNESS
ISUNNYHEALTHANDFITNESS
WWW.SUNNYHEALTHFITNESS.COM
![]()

























