Installation & Maintenance Instructions
For Trapzilla TZ-525
TZ-525 Grease Interceptor
Conforms to ASME Standard
ASME A112.14.3-2000
Please consult Thermaco, Inc. for specific models tested, certified and/or listed by these organizations.
* Please consult Thermaco, Inc. for specific models tested, certified and/or listed by these organizations.
System Overview
The Thermaco, Inc. Trapzilla Grease Interceptor series collects 99% of free-floating grease & oils contained in kitchen drain water flows. As most food service facility managers already know, grease buildup inside a building’s grease containment system is a major cause of problems due to exterior drain line blockages. These problems jeopardize normal operations as well as create health and safety hazards within the facility itself.
The proper installation of a Trapzilla Grease Interceptor can reduce or eliminate grease problems and costly sewer surcharges and fines through efficient separation and retention of free-floating grease & oils.
The Trapzilla offers patented flat separation curve technology. This means that the unit does not lose grease separation efficiency as it fills with retained grease. Thus, the Trapzilla stores large quantities of grease without losing efficiency. The unique compact design of the Trapzilla allows for installation into most facilities. Options are available that enable a Trapzilla unit to be installed on the floor, suspended from the ceiling or in-ground outside the facility.
Trapzilla units are designed to treat high flows of kitchen drainwater with large grease storage capacity within a small footprint unit. These units are easy to maneuver into position and just as easy to plumb.
Grease interceptors, grease traps, automatic recovery units, grease removal devices and other similar plumbing devices receiving kitchen flows from sinks, floor drains, woks and other food bearing sources may generate odors. There are many factors influencing odor evolution and dissemination. These include room ventilation, kitchen menu, ambient temperatures, ware washing practices, grease/oil input, daily input fluid volume, sanitizers, installation plumbing design and product maintenance/upkeep. Odors are usually prevented by good area ventilation, frequent fluid inputs, good product maintenance practices and proper product installation. Additional steps, including aeration, chlorination, pH control, improved area ventilation and additional maintenance may be needed at some sites.
Models and Options
Thermaco offers different models and options specifically designed to assist the owner/installer meet site conditions while complying with local pretreatment and plumbing code.
2.1 In-Ground Models
TZ-525-ECA
525 pounds of grease storage at 99% separation efficiency, ASME rated at 50 gpm, while hydromechanically capable of flow rates of up to 150 gpm. Equipped with 4” inlet/outlet, B 2” vessel vent connection, and 4” Low-Head Flow Control Accessory to limit flow to 50 gpm.
Comes with: 18” tall Extension Collar Adapter Lid Assembly with 22” diameter lid.
2.2 Above-Ground Models
TZ-525-SSA
525 pounds of grease storage at 99% separation efficiency, ASME rated at 50 gpm, while hydromechanically capable of flow rates of up to 150 gpm. Equipped with 4” inlet/outlet, 2” vessel vent connection, and 4” Low-Head Flow Control Accessory to limit flow to 50 gpm.
Comes with: Standard Adapter Top Cover with 22” diameter lid, and Support Stand SSOP-400/600.
2.3 Basic Models
TZ-525
525 pounds of grease storage at 99% separation efficiency, ASME rated at 50 gpm, while hydromechanically capable of flow rates of up to 150 gpm. Equipped with 4” inlet/ outlet, 2” vessel vent connection, and 4” Low-Head Flow Control Accessory to limit flow to 50 gpm.
Comes with: Standard Adapter Lid Ring with 22” diameter lid.
2.4 Options (Some options must be purchased separately)
SSOP-400/600
Support Stand for TZ-525 models
Allows unit to be installed directly on the floor in a basement or mechanical room.
*Included with -SSA Models
FTCA-36
Fabricated Top Cover Assembly with 36” diameter for additional traction in high foot-traffic areas and 4” Brass cleanout port.
FTCA-22 (not shown)
22” diameter cover available for In-Ground installations.
ECA-TZ-29 (in blue) for Trapzilla Models
These field-modifiable extension collars available to provide additional depth for existing kitchen drainage piping.
-ECA Models ship with built-in 0-18” extension collar.
ECA-TZ-29 adds 0-29” depth to -ECA Models or 4-29” to Basic Models.
Plumbing Installation
3.1 Plumbing Considerations Prior to Installation
3.1.1 Locating the Unit
The system should be visible and easily accessible for maintenance and inspection. Options are available to install the Trapzilla in a basement, suspended from a ceiling or in ground in an exterior location. Make sure adequate room is provided around the unit to allow easy access for a pump truck operator. Make sure the height above the Trapzilla access cover is enough to properly service the system.
3.1.2 Inlet/Outlet Piping
The inlet and outlet piping connections require flexible sleeve pipe couplings. Keep outlet piping as straight as possible. Thermaco, Inc. recommends installation of Two-Way Cleanouts on both the Inlet and Outlet of Trapzilla Interceptors and Solids Separators in accordance with all applicable laws, regulations and codes. These cleanouts should match the size of the Inlet and Outlet Piping (i.e. for 4” plumbing, a 4” cleanout should be used). Use only “sweep” connections. Do not reduce the pipe sizing on the outlet piping. Do not install “P” trap on outlet connection of system.
(Note: The system already has a internal gas trap)
3.1.3 Flow Controls
Trapzilla systems are tested and rated with an external flow control device and are supplied with a Low-Head Flow Control module (LHFC). This should be connected to the inlet of the Trapzilla unit in situations where flow rate needs to be restricted to the ASME rated flow or when vented flow control is required by local code. TZ-525 models use LHFC-525.
3.1.4 Venting the Outlet
An outlet vent or approved air admittance valve of at least 1/2 the diameter of the system’s outlet connection must be present as close as possible to the Trapzilla outlet to prevent possible siphonage problems. The Vent on the Outlet piping is to be installed in accordance with all applicable laws, regulations and codes. Failure to provide a vent for the system voids Thermaco’s Limited Warranty for the system.
3.1.5 For High Head Height Applications Over Six (6) Feet (1.95 m)
For installations where there is head height of greater than 6 feet (1.95 meters), Thermaco, Inc. recommends installation of a code-approved Vented Flow Control Assembly (Thermaco VFCA not included with Trapzilla).
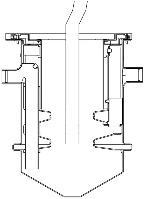
3.2 Vessel Vent Connection
Venting of the Trapzilla tank is recommended by the manufacturer and required for indoor installations.
- Vent the tank through the provided 2” NPT threaded connector on the side of the tank (This vent may be located above the outlet or on the side of the tank depending on model).
- Remove and discard the 2” plug and connect 2” vent lines as indicated below.
** Models with 6” Inlet/Outlet have 3” NPT vessel vent
Note: Drawing for reference only. Equipment must be installed in compliance with all applicable laws, regulations and codes, including plumbing codes. Installation should be performed by a qualified plumber.
3.3 Plumbing Configurations
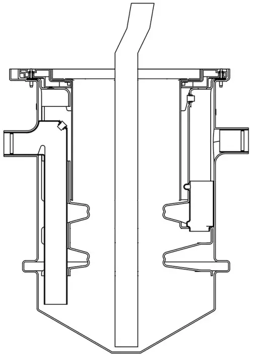
3.3.1 Installing One Trapzilla Unit
Each Trapzilla unit is shipped with a Low Head Flow Control module (see LHFC box for additional instructions). This needs to be installed to the inlet of the Trapzilla and connected to a code-approved air intake. Thermaco, Inc. recommends installation of Two-Way Cleanouts on both the Inlet and Outlet of Trapzilla® in accordance with all applicable laws, regulations and codes. These cleanouts should match the size of the Inlet and Outlet Piping (i.e. for 4” plumbing, a 4” cleanout should be used).
A Vent on the Outlet piping is also to be installed in accordance with all applicable laws, regulations and codes.
*Use a Two-Way Cleanout before and after all Trapzilla Installations
Note: Drawing for reference only. Equipment must be installed in compliance with all applicable laws, regulations and codes, including plumbing codes. Installation should be performed by a qualified plumber.
3.3.2 Installing Two Trapzilla Units in Parallel
Two Trapzilla Grease Interceptors should be installed in parallel with a Flow Splitter diverting the flow.
Place Two-Way Cleanouts before, between and after the units as shown below, including before and after the flow splitter. Make sure to connect an outlet vent after each Trapzilla Grease Interceptor. A Low Head Flow Control (LHFC) is shipped with each unit, and if needed should only be installed after the first Cleanout and before the Flow Splitter, or following local regulations and codes.
Note: Drawing for reference only. Equipment must be installed in compliance with all applicable laws, regulations and codes, including plumbing codes. Installation should be performed by a qualified plumber.
3.3.3 Installing Two Trapzilla GI’s in Series or One Solids Separator and One Trapzilla
Alternatively, two Trapzilla Grease Interceptors may be installed in series. A single Trapzilla Solids Separator and Trapzilla Grease Interceptor should always be installed in series. Place Two-Way Cleanouts before, between and after the units as shown below. Make sure to connect an outlet vent after the Trapzilla Grease Interceptor. A Low Head Flow Control (LHFC) is shipped with each unit, and if needed should only be installed after the first Cleanout and before the Trapzilla Solids Separator, or following local regulations and codes.
Note: Drawing for reference only. Equipment must be installed in compliance with all applicable laws, regulations and codes, including plumbing codes. Installation should be performed by a qualified plumber.
3.3.4 One Solids Separator and Two Trapzilla Units
A single Trapzilla Solids Separator and two Trapzilla Grease Interceptors should be installed by placing the Solids Separator in line and then using a Flow Splitter to divert the water flow to two separate Trapzilla units in parallel. Place Two-Way Cleanouts before, between and after the units as shown below, including before and after the flow splitter. Make sure to connect an outlet vent after the Trapzilla Grease Interceptor. A Low Head Flow Control (LHFC) is shipped with each unit, and if needed should only be installed after the first Cleanout and before the Trapzilla Solids Separator, or following local regulations and codes.
Note: Drawing for reference only. Equipment must be installed in compliance with all applicable laws, regulations and codes, including plumbing codes. Installation should be performed by a qualified plumber.
3.3.5 Two Solids Separators and Two Trapzilla Units
Two Trapzilla Solids Separator and two Trapzilla Grease Interceptors should be installed by placing a Flow Splitter to divert the water flow to two separate Solids Separators and Trapzilla units in parallel. Place Two-Way Cleanouts before, between and after the units as shown below, including before and after the flow splitter. Make sure to connect an outlet vent after the Trapzilla Grease Interceptor. A Low Head Flow Control (LHFC) is shipped with each unit, and if needed should only be installed after the first Cleanout and before the Flow Splitter, or following local regulations and codes.
Note: Drawing for reference only. Equipment must be installed in compliance with all applicable laws, regulations and codes, including plumbing codes. Installation should be performed by a qualified plumber.
Above-Ground Installation
4.1 Components for Above-Ground Installations
Using a model-specific Support Stand, a Trapzilla unit may be installed directly on top of the floor in a location such as a basement or mechanical room.
TZ-525: SSOP-400/600
*These items ship with all -SSA models.
NOTE: SUPPORT STAND MUST BE INSTALLED OVER A CONTINUOUS SURFACE. NON-CONTINUOUS SURFACES SUCH AS GRATES ARE NOT SUITABLE FOR SUPPORT.
The SSOP Support Stand is a one-piece assembly with a conical center that sits on the floor. It does not add appreciable height to the assembly.
4.2 Installing Multiple Trapzilla Units in Series
When installing multiple Trapzilla units in series, the change in elevation from the inlet to the outlet of a unit requires that each preceding unit be installed 1” higher than the unit after it. For above-ground units, pressure treated plywood may be placed fully beneath the support stand to create the height difference. All installations inside of a building must have a vessel vent installed and piped to atmosphere.
In-Ground Installation
5.1 Plumbing Instructions for Single Trapzilla Installed In-Ground
A Trapzilla unit may also be installed in the ground outside of the facility. For instances where the facility drainage piping requires an extension collar that is no more than 18”, use the instructions for the full TZ-525-ECA unit. If the unit is to be deeper in the ground, the ECA-TZ-29 Extension Collar Assembly may be installed to align the Trapzilla inlet with the drainage piping. The ECA-TZ-29 may be trimmed in the field to fit. Trim both the inner and outer portions of the extension collar to make shorter than collapsed height. Thermaco, Inc. strongly recommends surrounding the in-ground Trapzilla with concrete to provide additional structural strength and to offset buoyancy effects. For Buoyancy Calculations & suggested concrete fill quantities please see page 20. Use the full TZ-525-ECA for 0-18” of collar needed or purchase separately the TZ-525 and ECA-TZ-29 for 4-29” of collar needed.
In-Ground Installations inside of a building must have a vessel vent installed and piped to atmosphere.
* Units using additional extension collars must use adapter lid and/or extension collars included with unit.
5.2 Plumbing Instructions for Multiple Trapzilla Units Installed In-Ground
When installing multiple Trapzilla units in series, the change in elevation from the inlet to the outlet of a unit requires each preceding unit to be installed 1” higher than the unit after it.
In-Ground Installations inside of a building must have a vessel vent installed and piped to atmosphere.
* Units using additional extension collars must use adapter lid and/or extension collars included with unit.
5.3 Trimming and Setting the ECA-TZ-18 Single-Piece Extension Collar
In-Ground Trapzilla Models ship with a built-in, single-piece, 18” extension collar that must be trimmed and then set to the correct height to bring the Solid Top Cover to grade.
Follow the steps below to set the extension collar prior to backfilling the hole with concrete.
Step 1: With the Trapzilla unit installed in its permanent location, raise the telescoping extension collar to finished grade or floor level. Measure the height from the top of the unit to this finished extension collar height and record this dimension.
Note: If the floor will have a tile covering alow for the tile thickness when determining the extension collar height.
TZ-ECA models ship with 12 plastic plugs to fill the holes left in the outer lid. In case plugs do not fit, use expanding foam sealant
Step 2: Remove the extension collar adapter ring from the unit with the extension collar still in place. On the underside of the cover, mark the excess extension collar length at the bottom of the four (4) “skirt” portions of the adapter ring. Check the extension collar height dimension frequently during this marking to ensure that the collar has not moved. Extend this mark between the gaps in the “skirt” so that the collar is marked all around.
Step 3: Remove the extension collar from the adapter ring and, with an appropriate saw, cut along the line created in Step 2 to remove the excessive extension collar.
Step 4: Reinsert the extension collar into the adapter ring ensuring that the cover alignment key on the extension collar is aligned with its recess in the adapter ring. Reset the extension collar height to the dimension determined in Step 1.
TZ-ECA models ship with 12 plastic plugs to fill the holes left in the outer lid. In case plugs do not fit, use expanding foam sealant
Step 5: Working from the bottom of the assembly, install eight (8) self-drilling, self-tapping screws (provided) through the extension collar wall and into the adapter ring. Two of these screws should be installed in each of the four (4) skirt areas of the adapter ring. Check the extension collar height dimension frequently during this operation to ensure that the collar has not moved.
Note: Use caution when tightening these screws to ensure that they do not strip.
Step 6: Place the adapter ring/extension collar assembly onto the Trapzilla unit. Position the small cover onto the extension collar. Secure the adapter ring and the small cover with the brass nuts and flat washers provided. Seal the gap between the 18” extension collar and extension collar adapter ring using a silicone sealant.
5.4 Concrete Calculations for TZ Models/Components
In order to offset the effects of buoyancy caused by groundwater (high water tables), strengthen the sideload of the unit, and prevent movement of the unit in the event of shifting earth, Thermaco, Inc. recommends concrete be poured around the entirety of Trapzilla ® units installed in-ground in the amounts of concrete specified in the table below. The concrete must to be poured continuously and completely surrounding the Trapzilla ® body (and Extension Collars if applicable) to ensure proper strength and security at a compression strength of 4000 psi (C28/35).
| Amount of Concrete | ||
| Trapzilla Model | Weight in lbs. (Kg) | Volume in Cubic Yards (m³) |
| TZ-525 | 1975 (895) | 0.50 (0.38) |
| ECA-TZ-29* | 600 | 0.20 |
Pictured Left: Installation of TZ-525-ECA unit with Built-In 18” Extension Collar fully extended and 29” Two-Piece Extension Collar fully extended for a total of 47” of additional depth for unit. Concrete should fully encircle the unit up to the surface. A small amount of space (up to 4”) may be left unfilled to cover with dirt and grass if installed outside.
WARNING: PROPER INSTALLATION INSTRUCTIONS MUST BE FOLLOWED FOR THERMACO WARRANTY TO BE VALID. MAXIMUM INSTALLATION DEPTH PERMITTED FOR TRAPZILLA GREASE INTERCEPTORS AND SOLIDS SEPARATORS IS 60” BELOW GRADE TO THE CENTER OF THE OUTLET PIPE. ANY INSTALLATION DEEPER THAN THIS VOIDS THE WARRANTY FOR THE UNIT.
Hanging Installation
Using the Hanging Assembly option, a Trapzilla unit may be suspended from a ceiling below the floor of a kitchen or other room.
Thermaco, Inc. supplies the frame and support stand with the hanging assembly. This kit needs to be installed by a licensed contractor. The contractor is responsible for determining weight loads, preparation of the floor for installation and any construction necessary for installation of the suspension kit.
Note: Drawing for reference only. Equipment must be installed in compliance with all applicable laws, regulations and codes, including plumbing codes. Installation should be performed by a qualified plumber.
Measuring Grease/Solids Levels
Due to its unique design, Trapzilla is capable of retaining high quantities of grease in a compact footprint.
Therefore, unlike traditional interceptors, Trapzilla can hold an extraordinarily high percentage of its volume in grease without losing separation efficiency. To determine the current levels of grease/solids in your Trapzilla grease interceptor, follow the instructions below.
- Remove four nuts/washers securing the Solid Top Cover. Note the size of the unit which is marked on the cover by a metal plate.
- Place a grease/sludge dipstick into the center of the Trapzilla, making sure that it goes through the hole in the horizontal baffle.
- Once the dipstick has found its natural resting place at the lowest point in the conical shaped bottom, take the measurement.
- Remove dipstick and compare grease/sludge levels to the corresponding unit in the charts below.
| Grease | Solids | |||
| Total Capacity (depth): | Ready to pump at (depth): | Total Capacity (height): | Ready to pump at (height): | |
| TZ-525 | 15″ | 12″ | 14″ | 12″ |

Unit Maintenance
Periodically, the Trapzilla ® unit will need to be serviced which involves pumping out the accumulated grease & solids. Each lid has four brass nuts securing the lid. Fully remove the lid to access the grease. Begin by taking the grease from the top of the main chamber. Upon reaching the horizontal baffle, you will see a hole through which you may access the rest of the grease and the solids. Be sure to lower the hose all the way to the bottom of the Trapzilla unit so that solids may be entirely removed.
Note:
- DO NOT use mechanical crust breaking devices to break down any mat that has formed inside the Trapzilla unit.
- Remove the four brass nuts from the bolts and fully remove the lid to pump out.
- It is not necessary to remove adapter lid (ring) to pump out Trapzilla.
- If necessary, use a water hose with spray nozzle to rinse off inside of unit.
- DO NOT use grinding augers in maintenance of the Trapzilla unit.
Begin by pumping grease from the upper grease storage chamber, until you can see the entire middle separation chamber.
Use a water hose to rinse out parts of upper and middle chamber.
Drop hose into lower solids chamber through the center opening. Pump out all liquid and solids remaining.
Use a water hose to rinse out lower chamber.
Limited Warranty and Remedy
Thermaco Incorporated warrants to the original user that the outer tank and inner tank components of the product manufactured by Thermaco and delivered with this warranty (the “Product”) shall be free from material defects in workmanship and materials during the lifetime of the plumbing system in which the Product is initially installed. Notwithstanding the foregoing, this warranty shall not cover, and Thermaco shall have no obligation to repair or replace, any of the following component parts of the Product: lid, gaskets, brackets, nuts, and flow control.
Any and all warranty claims must be made in writing to Thermaco at 646 Greensboro Street, Asheboro, NC 27203 promptly after discovery of the defect giving rise to the warranty claim. Following and subject to Thermaco’s preliminary approval of a warranty claim, the warrantied Product must be delivered, prepaid, to Thermaco, together with proof of purchase and a return authorization number issued by Thermaco. If Thermaco determines that the Product is defective, the defect is covered by this warranty, and the warranty conditions are satisfied, Thermaco’s sole obligation under this warranty, and the sole and exclusive remedy with respect to any such defect, is the repair or replacement, at Thermaco’s option, of the defective equipment, component, or parts. Any replacements will be furnished F.O.B. point of shipment. Thermaco reserves the right to ship the user replacement parts with installation instructions. If Thermaco determines that the part, component, or the Product is not defective or that any condition of this warranty is not satisfied, then Thermaco shall have no obligation to repair or replace any such part, component, or the Product, and any costs associated with the return of such part, component, or the Product shall be borne by the party making the warranty claim.
This warranty shall not cover any defect in an otherwise covered Product resulting directly or indirectly from (and the occurrence of any of the following shall void any otherwise applicable warranty claim): (i) failure to install, operate or maintain the product in accordance with the Installation and Operation Manual that was included with the Product when it was sold and all other applicable Thermaco instructions and procedures, including, without limitation, use of mechanical crust breaking devices, use with grinding augers, use in excess of rated flow, use in excess of rated grease capacity, use to remove emulsified fats and oils or use that fails to comply with applicable laws, regulations or codes; (ii) damage in transit, handling or installation; (iii) modifications, adjustments, repairs, or alterations made by persons other than Thermaco representatives or certified plumbers; (iv) any change in the original installation or change to the original use of the Product; or (v) other causes not arising out of defects in workmanship or materials. Thermaco shall not be responsible for damage to products resulting from ultraviolet light exposure, floating of tank, vault flooding, sewer line back-up, pumping or lift station failure, ambient water flow, freezing, or other sources of water damage. This warranty does not cover equipment or parts not manufactured by Thermaco. Original user’s costs relating to any service, adjustment, removal, repair, packing, or otherwise incurred with respect to the defect prior to submission for warranty are the responsibility of the original user. No distributor, sales person or other person is authorized to make any warranty statements on behalf of Thermaco regarding Thermaco products other than as set forth in this warranty. This statement of warranty supersedes and replaces any quote, brochure, or other statement or document with respect to warranty of the Product.
EXCEPT AS EXPRESSLY SET FORTH ABOVE, THERMACO MAKES NO REPRESENTATIONS, WARRANTIES OR GUARANTEES, EITHER EXPRESSED OR IMPLIED, INCLUDING, WITHOUT LIMITATION, AS TO MERCHANTABILITY OR FITNESS FOR A PARTICULAR PURPOSE, WHETHER OR NOT THERMACO HAD KNOWLEDGE OF PURCHASER’S PARTICULAR REQUIREMENTS OR NEEDS, OR WITH RESPECT TO ODOR GENERATION OR OTHER INCIDENTALS RELATING TO USE OF THE PRODUCT.
The sole and exclusive remedy with respect to this warranty or any other claim relating to defects or any other condition or use of Products, however caused, and whether such claim is based upon warranty, contract, tort, strict liability or any other theory, is LIMITED to the repair or replacement of the affected Product, component, or parts, in each case excluding labor or any other cost to remove or install the Product or, at Thermaco’s sole option, refund of the original purchase price. IN NO EVENT SHALL THERMACO BE LIABLE, WHETHER IN CONTRACT, WARRANTY, TORT (INCLUDING NEGLIGENCE), STRICT LIABILITY, INDEMNITY OR ANY OTHER LEGAL THEORY, FOR INCIDENTAL OR CONSEQUENTIAL DAMAGES OR FOR ANY OTHER LOSS OR COST OF A SIMILAR TYPE. UNDER NO CIRCUMSTANCES WILL THE AGGREGATE LIABILITY OF THERMACO FOR ANY CAUSE OF ACTION RELATED TO THE PRODUCT COVERED HEREBY EXCEED THE NET PURCHASE PRICE RECEIVED BY THERMACO FOR THE PRODUCTS. This Warranty is made only for the benefit of the original user and is void upon any transfer of ownership or changes in installation.
Note: Do not Pressure/Hydrostatic test our Products.
For additional information on Trapzilla or other Thermaco products, please visit www.trapzilla.com or call at 1-800-633-4204.
Copyright ©2022 Trapzilla® Thermaco, Inc.
• P.O.Box 2548 • Asheboro, NC 27204
Toll Free: (800) 633-4204
• Phone: (336) 629-4651
• Fax: (336) 626-5739
[email protected]
www.trapzilla.com
















