
Hamron 011285 Grease Guns Instruction

SAFETY INSTRUCTIONS
- Follow the applicable health and safety regulations as well as good workshop practice.
- Check the product regularly and replace damaged and/or worn parts.
- Only use original spare parts. The use of other parts can result in personal injury and/or material damage. It will also invalidate the warranty.
- Wear ear protection, safety glasses and safety gloves.
- Keep the product clean and in good condition for best functionality and safety.
- Use the product only for its intended purpose.
- Do not expose the product to knocks and blows, or to careless handling.
- Do not carry or pull the product with the extension nozzle.
WARNING!
- Do not use the product if it is defective or damaged, or if parts are missing.
- Never put the nozzle on yourself, or other people or animals – grease is released at very high pressure and can penetrate the skin.
- Using defective accessories can lead to a risk of personal injury and/or material damage.
- Never exceed the maximum permitted working pressure of 413 bar ..
- Only use accessories recommended by the manufacturer.
- Keep the power cord away from heat, oil and sharp edges. Check the product for wear and damage, and that all the connections are correctly fitted and tightened.
- Excessive pressure at the lubrication point can damage the grease nipple, bearings and other machine parts.
TECHNICAL DATA
- Type of handle Lever
- Pump stroke Fixed
- Max working pressure 413 bar
- Size 0/)57 mm
- Grease per pump stroke 1 g
- Volume 400 g grease cartridge or 500 cm3 bulk
- Coupling nipple 4-jaw coupling nipple with ball check valve
- Thread M10 x 1
Filling - Cartridge Yes
- Manual filling (bulk) Yes
- Suction filling (bulk) Yes
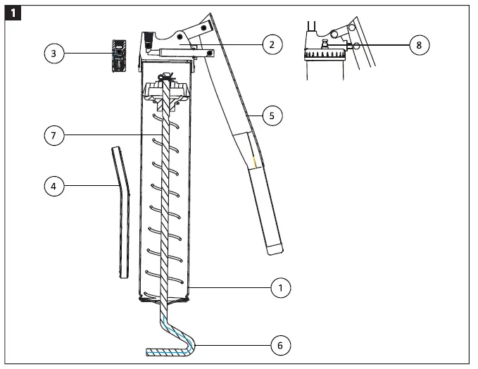
DESCRIPTION

- Cylinder
- Pump head
- Coupling nipple
- Extension nozzle (steel tube)
- Lever
- Piston rod handle
- Piston rod
- Venting valve
ASSEMBLY
PUMP HEAD EXTENSION NOZZLE
- Connect the extension nozzle (4) to the grease outlet on the pump head (2).
- Screw the coupling nipple (3) in the outlet end of the extension nozzle (4).
- Wind thread tape on the threads on the extension nozzle (4) before fitting it in the grease outlet in the pump head (2) and before the coupling nipple (3) is screwed on the extension nozzle (4).
- Tighten all the connections firmly in place.
IMPORTANT: The feed spring pressurises the grease or grease cartridge. Be careful when removing the pump head from the cylinder.
The grease gun can be filled in three ways:
- By inserting a grease cartridge Manual filling of bulk grease
- Suction filling – manual suction of bulk grease.
The preparations below should always be carried out before filling the grease gun, regardless of which filling method is used.
- Where appropriate first remove the empty grease cartridge from the cylinder (1).
- Pull out the piston rod handle (6) all the way and lock in this position.
- Unscrew the pump head (2) anticlockwise and remove.
- If there is an empty grease cartridge in the cylinder, remove it.
Inserting a grease cartridge
- Pull back the piston rod handle (6) all the way.
- Remove the pump head (2) from the cylinder (1).
- Put the grease cartridge in the cylinder
- with the open end facing inwards. Press the grease cartridge all the way into the cylinder.
- Pull off the seal on the end of the cartridge.
- Refit the pump head (2) on the cylinder (1).
Manual filling of bulk grease
- Pull back the piston rod handle (6) all the way.
- Remove the pump head (2) from the cylinder (1).
- Fill the cylinder (1) with grease with a spatula or equivalent.
- Refit the pump head (2) on the cylinder (1).
Suction filling – manual suction of bulk grease
- Remove the pump head (2) from the cylinder (1).
- Press down the open end of the cylinder
- about 5 cm below the surface in the grease container, pull back the piston rod handle (6) and lock in this position.
- Refit the pump head (2) on the cylinder (1).
IMPORTANT: Do not screw the pump head too tight on the cylinder or the extension nozzle too tight in the pump head outlet – risk of cracking the die casting.
BLEEDING
When filling with grease there are often pockets of air in the grease. Bleed in accordance with the following instructions.
Standard procedure
- Do not fully tighten the pump head after filling with grease by one of the above methods – leave two to three turns.
- Move the piston rod (7) back and forwards to expel any pockets of air. Release the piston rod (7). Press the piston rod handle (6) into the cylinder.
- Screw the pump head (2) fully onto the cylinder (7).
- The grease gun is now ready to use.
Procedure for grease guns with bleeder valve
- Refit the pump head and screw tight after filling with grease by one of the above methods.
- Tap the bleeder valve (8) to release enclosed air.
- Move the piston rod (7) back and forwards to expel any pockets of air.
- Tap the bleeder valve (8) again to release enclosed air.
- The grease gun is now ready to use.
HOW TO USE
- The coupling nipple (3) in the outlet end of the extension nozzle (4) has clamping jaws. They lock on the grease nipple and maintain a pressure-tight connection.
- Fit the coupling nipple (3) straight and centred on the grease nipple and press until the coupling nipple clicks in place.
- Continue holding the coupling nipple (3) as straight as possible in relation to the grease nipple and pump with the lever (5).
- After greasing, release the coupling nipple (3) by angling it a little, twisting and pulling back ..
- The combined angling and twisting makes it easy to pull the coupling nipple (3) off the grease nipple.

- Press straight to connect
- Angle, twist and pull to disconnect
MAINTENANCE
Always check before use that the grease gun is clean and undamaged.
TROUBLESHOOTING




















