SP-5094-11 Storm Smart Watch
Instruction Manual
AUTOMATIC
This timepiece is equipped with a self-winding Mechanical Automatic movement.
It does not need a battery.
It is powered by the motions of the user’s own wrist during the wear of the watch.
You may also choose to wind the watch manually.
For more details on operating this timepiece please refer to the enclosed booklet or visit: spinnaker-watches.com
PLEASE READ THE FOLLOWING BEFORE UNSCREWING THE CROWN Screw-down Crown Screw-down crowns are used to ensure water resistance. ALWAYS be certain that your crown is securely screwed down (Position [0] is secured. Positions [1] and [2] are not secured for water resistance ).
Do NOT unscrew your crown while you are in any environment where moisture is present.

USING THE SCREW-DOWN CROWN
Do NOT pull the crown unless it is UNSCREWED first:
TO UNSCREW: Turn the crown anti-clockwise until it turns freely without tension. GENTLY pull the crown out to the other desired positions for the watch setting (see specific operating instructions on the following pages).

TO SCREW: Push the crown ALL THE WAY IN (towards the watch) THEN begin to turn clockwise until it is securely screwed down.

NOTE: Failure to SECURELY screw down the crown after setting the watch may affect its water resistance.
Before you use this watch, It is recommended that you manually wind the mainspring to start it moving.
This Watch Is An Automatic Watch Equipped With A Manual Winding Mechanism.
WINDING THE MAINSPRING
- Unscrew the crown by turning it anti-clockwise.

- When it is in a position [1], turn the crown clockwise to the wind. Wind 5-10 times and it will start to move naturally after shaking slightly.

- Push the crown in then screw it securely.

* This watch MUST be worn for at least 8 (Eight) hours each day to ensure it is fully wound.
An automatic watch will only wind when the watch is on your wrist and your arm moves. Winding the watch by the crown will put power on the spring but not enough to allow the watch to function fully.
If your watch stops overnight or loses time it means it is not being fully wound.
IMPORTANT NOTE
- If your watch is running smoothly, please do not wind the crown to avoid overwinding the movement. Provided you are wearing the watch frequently, your watch should have sufficient power to operate without any fuss.
- If your watch has stopped running after a period of not wearing the watch, gently move the watch side to side 20 to 30 times to move the rotor or gently turn the crown 5 to 10 times to get the secondhand run at its normal speed.
HOW TO SET THE TIME
- Unscrew the crown and pull it out to position [2]-(1st click).
- Turn the crown clockwise to set the correct time.
- Push the crown in then screw it securely.

WATER RESISTANCE
Note that the water resistance chart serves only as a guide (please refer to the water resistance chart on the next page). Actual water resistance may vary depending on a number of factors including water temperature, water salinity, and use underwater.
The water resistance of your timepiece may eventually be compromised over time with general wear and tear and use of your timepiece under adverse conditions.
Always remember to employ the screw-down crown if available to maintain the water resistance of your timepiece. Warranty may be voided if the screw-down crown has not been properly employed.
Note that you should NEVER wear your watch in a jacuzzi, hot shower, or steam room where steam may enter the case despite the watertight seals used to protect your watch.
This may cause condensation inside your watch, which may affect and damage the inner workings of your watch.

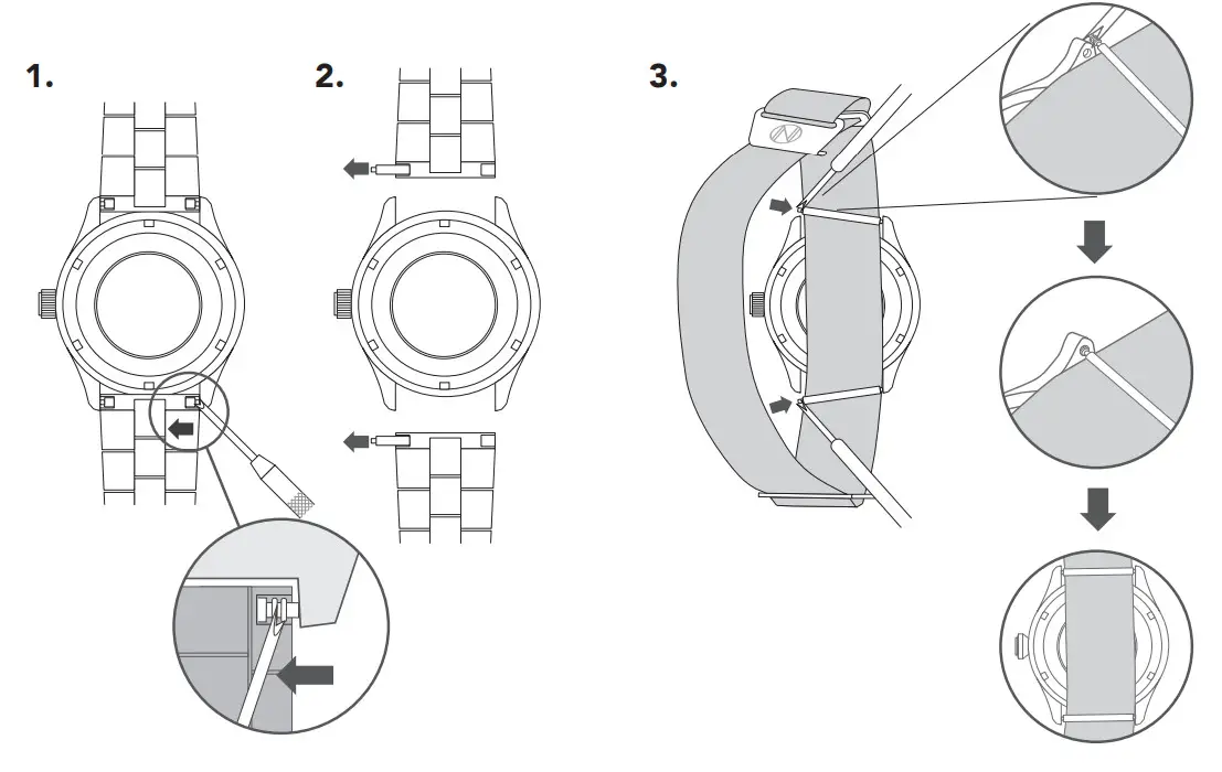
HOW TO CHANGE THE BRACELET TO A PARACHUTE STRAP

HOW TO WEAR AND ADJUST THE STRAP


HOW TO USE A DEPLOYMENT CLASP

- Flip the cover.
- Press the buttons on the clasp sides.
HOW TO RESIZE METAL BRACELET
On the inside of the bracelet, you will see some small arrows engraved on removable links.
![]() | ![]() |
![]() | ![]() |
For more details on operating this timepiece please refer to the enclosed booklet or visit:
spinnaker-watches.com


















