panlux NATURA NS LED Wall Garden Light with Sensor Instructions
Thank you for choosing this product from PANLUX s.r.o.
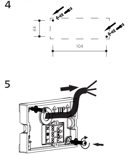
Before using or installing the product, please read the instructions and follow the safety rules. Installation should be carried out by a qualified professional or company.
Technical data
- Material: Metal, PC plastic
Notes
Before using, check the product and ensure that it is not damaged in any way; if it is, do not use it. Before any installation ensure that the main electrical supply is disconnected. If the product is damaged, do not attempt to repair or disassemble it. For the best results, the area of movement should be directly in front of the sensor. Product malfunction can be caused by an interruption of the electromagnetic field, a small temperature difference between a moving object and the surroundings, and reflection (e.g. a strong light source).The light source contained in this luminaire shall only be replaced by the manufacturer or his service agent or a similar qualified person. Failure to follow these instructions can cause damage to health and property.
The warranty is void if the product is damaged or installed incorrectly.
SENSOR SETUP
Principle of PIR sensor
The PIR sensor receives infra-red waves emitted by objects within the reach radius. When movement occurs within the detection area, the sensor notices the change and initiates the trigger order “light on“ for the selected time.
Time setting (switch-off delay) – TIME (5s (±3s) to 10min (±1min))*
The countdown of the selected time begins after the last detected movement. We recommend selecting the minimum time during functional testing.

Light sensitivity setting – LUX (10-2000lx)*
We highly recommend setting LUX to maximum so the sensor will work in daylight during functional testing

*) These figures are approximate, and may vary depending on position and mounting height.
Installation





















