nordlux NX2118158003-INS Rica Round Solar LED Garden Light In Black with Sensor

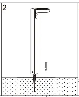
Mounting Instructions















Symbols
IP4X: Protected against solid objects with a diameter of 1.0 mm or more. Hazardous parts are shielded from contact being made using wires, etc.
IPX4: Raindrops falling from any angle will not affect the function/safety of the lamp.
Class III: The lamp is only suitable for 5V.
The mounting instruction must not be discarded.
Disposal of waste equipment by users in private households in the European Union. This symbol indicates that this product including batteries must not be disposed of with your other household waste.
Batteries, electrical and electronic equipment contain substances which may cause damage to human health and environment if not recycled correctly. It is your responsibility to hand over to a designated collection point for recycling of waste batteries, electrical and electronic equipment. When handing over for correct recycling you help to prevent these products straining nature and environment unnecessarily and to protect human health. For more information regarding correct disposal, please contact your local city office, your household waste disposal service or the store where you purchased this product.




















