Ergoplan 1200H Bookcase

The Ergoplan Bookcase 1200H is a self-assembled bookcase that comes with all the necessary parts and tools required for assembly. It is recommended that this product is assembled by two people. The product dimensions are 1200mm (height) x 800mm (width) x 315mm (depth).
Parts
| Item | Description | Quantity |
|---|---|---|
| A | Top Panel | 1 |
| X | Left Side Panel | 1 |
| Z | Right Side Panel | 1 |
| D | Back Panel | 1 |
| G | Bottom Panel | 1 |
| E | Movable Shelf | 2 |
| c1 | 6×35 Cam Bolt | 18 |
| d1 | 8×30 Dowel Pin | 16 |
| c2 | Cam Sticker | 8 |
| p1 | Shelf Pin | 8 |
| c6 | Foot | 4 |
| s2 | 3.5×35 Screw | 4 |
Assembly Instructions
- Preparation for top panel A, bottom panel G, left side panel X and right side panel Z.
- Insert cam bolts (c1) and dowel pins (d1) into panels A, G, Xand Z.
- Assemble feet (c6) with screws (s2) on underneath of bottom panel G.
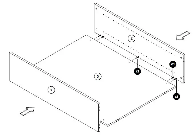
- Left side panel X, right side panel Z and back panel D assembly.
- Insert cam bolts (c1) and dowel pins (d1) on panel X and Z into cams on panel D and tighten in a clockwise direction.
- Bottom panel G and top panel A assembly.
- Insert cam bolts (c1) and dowel pins (d1) on panel G and A into cams on panel X, Z and D and tighten in a clockwise direction.
- Cover top of cams with cam stickers (c2).
- Moveable shelf E assembly.
- Insert shelf pins (p1) into panels X and Z at desired shelf height.
- Place the two panels E on the top of the shelf pins (p1).
If you have any questions or issues during assembly, please contact Knight on 0800 143 143. Due to the continuous improvement of our products, our assembly instructions may not be in complete accordance with the product and we apologize in advance.
Thank you for purchasing Knight product, please carefully read the assembly instructions prior to installment to gain a complete understanding of the product. It provides you with important information about safety, use, installation, and maintenance.
WARNING: FAILURE TO COMPLY WITH OR OBSERVE ALL ASSEMBLY, SAFETY, AND OPERATION INSTRUCTIONS REGARDING THE USE OF THIS PRODUCT MAY RESULT IN SERIOUS BODILY INJURY. SAFETY
- The product must be used in a safe manner. Inappropriate use may cause damage to the product and/or cause bodily harm to the user or persons nearby.
- Don’t locate furniture in direct sunlight or near the air-conditioning inlet or heating radiator.
- Don’t put high-temperature or frozen objects on furniture.
- Safely carry the product to a location of assembly.
- Retain this operation manual and pass it on to any future owner.
SET UP AND INSTALLATION
- Assemble the product according to the assembly instructions.
- To prevent possible scratches or damage, assemble the product on a soft surface such as a blanket, carpet or packaging.
- Place the product a safe distance from window frames, radiators, furniture etc. so that persons cannot become trapped. It is recommended that this product is assembled by 2 people.
Any questions contact Knight on 0800 143 143
Due to the continuous improvement of our products, our assembly instructions may not be in complete accordance with the product and we apologize in advance.
Parts
| Item | Description | Quantity |
| A | Top Panel | 1 |
| X | Left Side Panel | 1 |
| Z | Right Side Panel | 1 |
| D | Back Panel | 1 |
| G | Bottom Panel | 1 |
| E | Movable Shelf | 2 |


| Item | Description | Quantity |
| c1 | 6×35 Cam Bolt | 18 |
| d1 | 8×30 Dowel Pin | 16 |
| c2 | Cam Sticker | 18 |
| p1 | Shelf Pin | 8 |
| c6 | Foot | 4 |
| s2 | 3.5×35 Screw | 4 |

INSTALLATION INSTRUCTION
Step 1
Preparation for top panel A, bottom panel G, left side panel X, and right side panel Z.
- Insert cam bolts (c1) and dowel pins (d1) into panels A, G, X and Z.
- Assemble feet (c6) with screws (s2) on underneath of bottom panel G.

Step 2
Left side panel X, right side panel Z and back panel D assembly. Insert cam bolts (c1) and dowel pins (d1) on panel X and Z into cams on panel D and tighten in a clockwise direction.
Step 3
Bottom panel G and top panel A assembly.
- Insert cam bolts (c1) and dowel pins (d1) on panel G and A into cams on panel X, Z and D and tighten in a clockwise direction.
- Cover top of cams with cam stickers (c2).

Step 4
Moveable shelf E assembly.
- lnsert shelf pins (p1) into panels X and Z at desired shelf height.
- Place the two panels E on the top of the shelf pins (p1).

Complete

















