WARMING DRAWER
MINIMAL WB60SDEB2 & WB60SDTEB1
CONTEMPORARY WB60SDEX2
USER GUIDE
NZ AU UK IE SG
Registration
To register your product visit our website: fisherpaykel.com/register
SAFETY AND WARNINGS
WARNING!
![]() | Electric Shock Hazard Failure to follow this advice may result in electric shock or death. • If the product is damaged, switch the appliance off and disconnect it from the power supply to avoid possible electric shock. |
WARNING!
![]() | Cut Hazard Failure to use caution could result in injury. • Take care: some edges may be sharp. • Do not put fingers in the drawer when closing. |
WARNING!
![]() | Hot Surface Hazard Failure to follow this advice could result in burns and scalds. • To avoid burns and scalds, keep children away from this appliance. • Surfaces of the appliance may become hot enough to cause burns. • Do not touch heating elements or interior surfaces of the appliance. Heating elements may be hot, even when they are dark in color. • Use protective gloves when handling hot surfaces. • During and after use, do not touch or let clothing or other flammable materials contact heating elements or interior surfaces of the appliance until they have cooled. |
WARNING!
![]() | Fire Hazard Failure to follow this advice may result in overheating, burning, and injury. • Flammable materials should not be stored in the appliance or near its surface. |
WARNING!
![]() | Tripping Hazard This product may tip. Keep children away and take care. Failure to follow this advice may result in injury. • The drawer must be secured in place by supplied screws. • Ensure there is a fixed shelf directly above the drawer if it is not installed under another product. |
READ AND SAVE THIS GUIDE
WARNING!
To reduce the risk of fire, electrical shock, injury to persons or damage when using the appliance, follow the important safety instructions listed below. Read all the instructions
before using the appliance. Use the appliance only for its intended purpose as described in these instructions.
General Use
- This appliance is designed for use in a normal domestic (residential) environment.
- Do not use the appliance outdoors.
- Children should be supervised to ensure that they do not play with the appliance.
- This appliance can be used by children aged 8 years and above and persons with reduced physical, sensory or mental capabilities or lack of experience and knowledge if they have been given supervision or instruction concerning the use of the appliance in a safe way and understand the hazards involved.
- To avoid hazards due to the instability of the appliance, it must be fixed in accordance with installation instructions.
- Keep the operating panel clean and dry. Wash and dry your hands before operating the drawer to ensure the buttons will respond properly.
- Avoid drying food types with high moisture content e.g. tomatoes or pineapple.
Installation
- Ensure your appliance is properly installed and earthed by a qualified technician.
- Ensure this appliance is connected to a circuit that incorporates an isolating switch providing full disconnection from the power supply.
- Do not install or operate the appliance if it is damaged or not working properly. If you receive a damaged product, contact your local dealer or installer immediately.
- Do not install the appliance near a hot gas or electric burner or in a heated oven.
Servicing
- Check the appliance for any damage inside or outside the surface of the appliance. Do not use a damaged cord or plug. If there is any damage, do not operate the appliance.
Contact a Fisher & Paykel trained and supported service technician. - Do not repair or replace any part of the appliance unless specifically recommended in this user guide. All other servicing must be done by a qualified person or
Fisher and Paykel trained and supported service technicians.
Cleaning and maintenance
- Ensure the appliance is turned off or set in STANDBY mode before cleaning the drawer.
- Unplug from the power outlet and allow the appliance to cool down after use before cleaning the drawer.
- Cleaning and user maintenance shall not be undertaken by children without supervision.
- Use a moderately damp cloth for cleaning. Do not spray water outside or inside the appliance. Water can cause damage inside the appliance.
- Do not use aggressive or abrasive detergent or sharp metal scrapers for cleaning the glass base of the appliance.
Safety
- Do not touch hot surfaces. Use handles or knobs.
- Do not sit or lean on the appliance. Damage to the surface of the glass may cause it to shatter.
- Do not store hazardous objects that can explode like containers with gas or air chambers (e.g spray cans).
- Do not immerse the cord, plug, or other parts in water or other liquid to protect against electrical shock. Do not let the cord hang over the edge of the table or counter, or in a heated oven.
- Do not use accessory attachments that are not recommended.
Packaging disposal
- Remove packaging and recycle materials that can be reused.
- Dispose of packaging materials in accordance with local regulations on waste disposal.
BEFORE YOU BEGIN

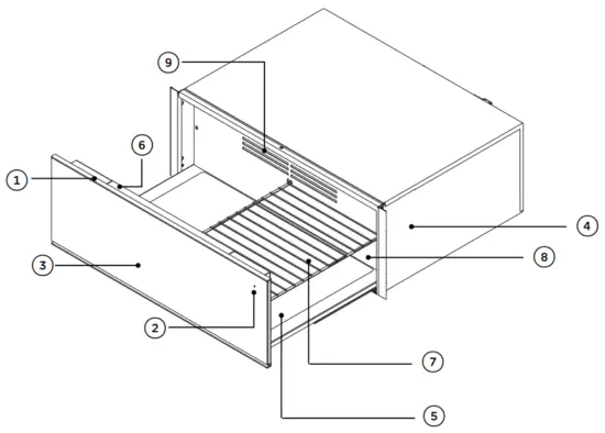
Drawer features & accessories
- Control panel
- Indicator light
- Push-to-open door
- Serial plate*
- Heated glass base
- LED internal lighting
- Wire shelf **
- Fan Plate
- Ventilation slots
* Located inside the chassis of the drawer
** Available in WB60SDTEB1 model
Control panel

Control panel features
- Power On/Off
- Temperature indicator
- Temperature controls
- Duration indicator
- Duration controls
- Heat modes
Using the touch controls
Your Warming Drawer is operated using a touch control panel. To operate the control panel, use the ball of your finger, not its tip. The controls respond to touch, so the pressure is not needed.
Keep the operating panel clean and dry. Wash and dry your hands before operating the drawer to ensure the buttons will respond properly.

USING YOUR WARMING DRAWER
First-time use
If using the Warming Drawer for the first time, three LEDs in temperature controls are illuminated at the start up.
![]() | For push-to-open models, touch the center front of the drawer to open. Do not force the drawer open. |
![]() | Touch the |
![]() | Select the desired heating function. If no function is selected, the drawer will start at the default setting. |
![]() | Press the center of the door to close the drawer. The indicator light will flash if the drawer is not closed. At the end of a cycle: A tone will sound and the Use caution when unloading the drawer, the heated glass base and its contents will be hot. |
During a cycle
The drawer can be opened at any point during operation. This will pause the program and the indicator light will flash until the drawer is closed again. To cancel a cycle, touch
at any time. To turn off the drawer, touch
for two to three seconds and release.
Standby mode
After 12 hours of continuous use, the drawer automatically switches to standby mode.
The button is dimmed when in standby mode. Touch the
button to resume drawer use.
Do not leave the Warming Drawer unattended for long periods of continuous operation.
FUNCTIONS
Your Warming Drawer is designed to utilize the heated glass base and rear fan in differing heat levels and durations to provide optimal performance. Each function has a default time and temperature settings that illuminate upon selection. These settings can be customized by manually adjusting the duration and temperature controls in place of a pre-set function.
CUPS
Heat circulates from the heated glass base
- Heat is circulated for 30 minutes.
- Heating duration depends on the material and thickness of the cups including quantity, height, and arrangement.
- Do not place any cups and/or glasses in front of the ventilation slots. This will block the airflow and cause uneven heating.

PLATES
Heat circulates from the heated glass base
- Heat is circulated for 45 minutes.
- Heating duration depends on the material and thickness of the plates including quantity, height, and arrangement.
- Do not place any large plates in front of the ventilation slots. This will block the airflow and cause uneven heating.

WARM
Heat circulates from the heated glass base and rear fan
- Preheat the drawer for at least 15 minutes before use.
- Heat is produced for 60 minutes.
- Provides constant low heat to keep cooked food hot.
- Do not overfill the drawer to avoid spillage.
Cover the food with a heat-resistant lid or aluminum foil to prevent food from drying out. - This function is not suitable for reheating refrigerated food.

RAPID PROOF
Gentle heat is generated from a heated glass base
- Heat is produced for 30 minutes.
- Provides a warm and draught-free environment for proofing dough for breadmaking and pizza.

DEHYDRATE
Heat circulates from the heated glass base and rear fan
- Heat is circulated for four hours.
- Provides constant low heat for dehydrating and drying food eg meat, fruit, vegetables, and herbs.
- Ideal for preserving food and creating healthy snacks, such as beef jerky, and fruit leather.
- For best results, lay the food flat on a wire shelf and do not overlap.
- If dehydrating meat, turn it over halfway through the cooking time to ensure even drying.
- Store dehydrated food in an airtight container after it’s completely cooled.

SLOW COOK
Heat circulates from the heated glass base and rear fan
- Heat is circulated for six hours until food is cooked accordingly.
- Ideal for finishing off seared meat at low temperature eg roast meats, casseroles, stews, and braises.
- Resting the meat before serving is not necessary since this function uses low temperature. Meat can be carved and served straight from the drawer.

DELAYED START
When using Delayed Start, the Warming Drawer will automatically switch on at a set time and turn off at the end of a cycle.
![]() | For push-to-open models, touch the center front of the drawer to open. Do not force the drawer open. |
![]() | Touch the |
![]() | Touch and hold the + button for five seconds to activate DELAYED START. |
![]() | Use + and – to increase or decrease the desired DELAYED START time. Push the drawer closed to start the countdown |
During delayed start:
The indicator light will flash until the selected cycle starts. The indicator light will illuminate consistently once the cycle begins
SABBATH MODE
This setting is designed for religious faiths that observe a ‘no work’ requirement on the Sabbath. While your drawer is in SABBATH MODE, operation of up to 72 hours can be set and the safety shut-off and illumination features are deactivated.
Activating SABBATH MODE:
![]() | Touch the |
![]() | The temperature and duration indicators will illuminate briefly three times to indicate SABBATH MODE has been enabled. |
Deactivating SABBATH MODE:
![]() | Touch the |
![]() | The temperature and duration indicators will illuminate briefly three times to indicate SABBATH MODE has been disabled. |
LOADING YOUR APPLIANCE
For WB60SD models
![]() | ![]() |
| Diameter guide 20x Ø92 mm | Diameter guide 48x Ø58mm |
![]() | ![]() |
| Diameter guide 6x Ø250mm Dinner 6x Ø230mm Soup bowl 6x Ø180mm Bread & Butter 6x Ø165mm Saucer | Diameter guide for WB60SDTEB Tall model 16x Ø250mm Dinner 16x Ø180mm Bread & Butter 20x Ø190mm Saucer |
![]() |
Maximum load
Do not load more than 25kg to prevent damage to the appliance.
Unloading the dishes
Keep dishes in the Warming Drawer until you need to take them out as heated dishes cool down quickly. Always use protective gloves or oven cloths to remove the dishes.
USING THE WIRE SHELF
The wire shelf is available for the WB60 Warming drawer to increase the loading surface.

Insert the wire shelf on the left or right-hand side of the Warming Drawer.
COOKING CHARTS
The information in these charts is for guidance only. Refer to your recipe or the packaging and be prepared to adjust the cooking times and settings accordingly. Avoid drying food types with high moisture content e.g. tomatoes or pineapple.
| FOOD TYPE | FUNCTION | g/kg | SEAR TIME (mins/side) | INTERNAL TEMP (°C) | TIME |
| MEAT, BEEF STEAK Rare Medium rare Medium Medium well Well done | Slow Cook Slow Cook Slow Cook Slow Cook Slow Cook | 100-300g 100-300g 100-300g 100-300g 100-300g | 1-2 2-3 3 3-4 4-5 | 50 55 60 65 70 | 30-60 mins 30-60 mins 30-60 mins 30-60 mins 30-60 mins |
| BEEF FILLET Medium | Slow Cook | 1-2kg | 8-May | 55 | 4-6 hrs |
| LAMB SHOULDER Medium | Slow Cook | 1-3kg | 8-May | 55 | 4-6 hrs |
| BONED HAM/ GAMMON | Slow Cook | 1-3kg | 8-May | 65 | 4-6 hrs |
| PULLED PORK | Slow Cook | 1-3kg | 10-Aug | 65 | 4-6 hrs |
| FOOD TYPE | FUNCTION | TIME |
| FRUIT Apple, Pear, Banana | Dehydrate | 4-8 hrs |
| VEGETABLES Ginger Carrots, Peas | Dehydrate Dehydrate | 4-6 hrs 4-6 hrs |
| HERBS Rosemary, Dill, Thyme, Bay leaves, Oregano | Dehydrate | 2-4 hrs |
| BREAD DOUGH | Rapid Proof | 30 mins |
| PIZZA DOUGH | Rapid Proof | 30 mins |
| OTHER USES | FUNCTION | TEMPERATURE SETTING | DURATION | RECOMMENDED COOKWARE | TIPS |
| YOGHURT | Rapid Proof | Low (1) | 5-8 hrs | Glass Jars/Ramekins | Covered |
| MELTING CHOCOLATE | Cups | Low (2) | 30 mins | Heatproof Cookware | Uncovered |
| DISSOLVING GELATINE | Rapid Proof | Low (1) | 30 mins | Heatproof Cookware | Uncovered |
| BATCH COOKING Toast, Pancakes, Tortillas | Warm | Medium (3) | 1 hr | Heatproof Cookware | Covered |
| WELLNESS | FUNCTION | TEMPERATURE SETTING | DURATION | RECOMMENDATIONS | TIPS |
| HEATING WHEAT BAG | Slow Cook | Max (6) | 45-60 mins | Place directly on Glass | Slow heating reduces risk of wheat deterioration or burning |
| HEATING TOWELS | Plates | Medium (3/4) | 45-60 mins | Place directly on Glass | Moisten and roll |
CARE AND TROUBLESHOOTING
Cleaning the drawer exterior and interior
- Ensure that the appliance is turned off or set in STANDBY MODE before cleaning. Do not use high pressure or steam cleaners.
- Remove any soiling or excess cleaning solution immediately.
- Clean the surfaces with a soft cloth dampened with water and detergent.
- Rub in the direction of the polish lines and dry immediately with a soft cloth.
Troubleshooting
| PROBLEM | POSSIBLE CAUSES | SOLUTION |
| Dishes and/or food remain cold | The appliance is not switched on | Check the power supply |
| The drawer has not been closed | Check that the indicator light is not flashing, if the lamp is flashing ensure the drawer is closed. | |
| Dishes and/or food are not warm enough | Warming duration too short. | Lengthen the warming duration. |
| The drawer is not closed properly. | Close the drawer. | |
| The temperature is too low. | Select a higher temperature setting. | |
| The indicator light flashes regularly and the drawer is closed | DELAYED START has been set | If not required, cancel the function. |
| The indicator light flashes rapidly and the drawer is open/closed | DELAYED START has been set | If not required, cancel the function. |
| The Warming Drawer was not switched off. | Touch button. | |
| The indicator light does not illuminate when the the drawer is in operation. | The indicator light is defective. | Call Customer Services. |
| The drawer cannot be opened or closed. | The push-pull mechanism is damaged | Contact customer support |
| Internal LED lighting does not illuminate | The drawer is not switched ON. LED is defective. | Contact customer support |
SERVICE AND WARRANTY
Before you call for service or assistance
Refer to the installation guide and your user guide to:
- Ensure your product is correctly installed.
- Ensure you are familiar with its normal operation.
- Check the model and serial numbers.
- Check the date of installation.
If after checking these points you still need assistance or parts, please refer to the Service & Warranty book for warranty details and your nearest Service Centre, Customer Care, or contact us through our website www.fisherpaykel.com or email: [email protected]
Complete and keep for reference:
Mode_____________________________________
Serial No.__________________________________
Purchase Date_______________________________
Purchaser___________________________________
Dealer_____________________________________
Suburb_____________________________________
Town______________________________________
Country____________________________________
© Fisher & Paykel Appliances 2020. All rights reserved.
The models shown in this guide may not be available in all markets and are subject to change at any time.
The product specifications in this guide apply to the specific products and models described at the date of issue. Under our policy of continuous product improvement, these specifications may change at any time.
For current details about model and specification availability in your country, please go to our website or contact your local Fisher & Paykel dealer.
591996B 08.20



































