ST4LSWDMDSC Led linear Strip Light
Installation Guide
MODEL ST4LSWDMDSC
INSTALLATION INSTRUCTIONS
Please read carefully and save these instructions. Failure to do so may lead to electrical shock or fire, which may cause injury or death.
CAUTION
WARNING RISK OF FIRE: Turn off the main power at the circuit breaker before installing the fixture, changing lamps, or performing other maintenance in order to prevent possible shock.
GENERAL
All electrical connections must be in accordance with local, and national electrical codes. Prior to installation remove all protective plastic film covering from the fixture.
Tools needed for installation: Phillips screwdriver, pliers.
ASSEMBLY AND INSTALLATION
- Center the fixture over the outlet box and mark the location of the fixture’s bracket slots onto the ceiling. Set the fixture aside and place the mounting bracket within the markings and outline the center slot. This will help determine where to screw in the mounting bracket.
Note: If the fixture does not sufficiently cover the outlet box, a screw in the semi-circular junction box covers on the back of the fixture. (Fig. 2)
- Screw the ceiling anchor into the center slot outline. Then align the mounting bracket to the ceiling anchor and screw in the mounting screw. Repeat with the second ceiling anchor 42 inches away. (Fig.1)

- Pull the power supply wires out from the outlet box. Connect the black supply wire to the black fixture wire using a wire nut. Connect the white supply wire to the white fixture wire using a wire nut. Connect the fixture ground wire and the supply ground wire together using a wire nut. Wrap all wire connections with electrical tape for a more secure connection.

- Place the fixture over the outlet box and slide the fixture so that the mounting brackets snap into the bracket slots and is secured flush against the ceiling. (Fig. 3)
- On the side of the fixture, use the Wattage switch to control power and the CCT switch to set the light temperature. (Fig. 7)

DIMMING (Optional)
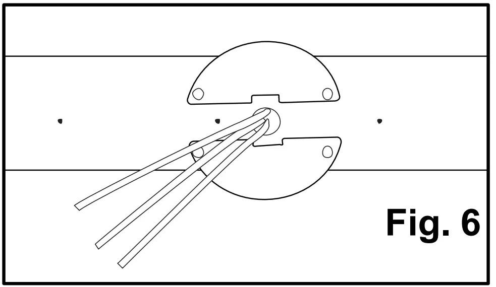
1. Pull wires from the light fixture hole, the dimming wires will be wrapped around the power supply wires. (Fig. 6) Connect the purple and pink/grey fixture wires to the corresponding wires of the wall dimmer. (Fig. 5)

For an up-to-date list of compatible dimmers, look up the item number at www.envirolite-LED.com.






















