Outdoor-Patio Outdoor Loveseat
Instruction Manual
IMPORTANT
Carefully remove all the parts from the carton and place them individually on a soft cloth to prevent scratches or other damage.
Carefully and strictly follow these assembly instructions to ensure a completed product as designed.
Do not use power tools above 8 volts to assemble.
Part List

For assembly see instructions in carton 2001-202 -FB02.
IMPORTANT
Carefully remove all the parts from the carton and place them individually on a soft cloth to prevent scratches or other damage.
Carefully and strictly follow these assembly instructions to ensure a completed product as designed.
Do not use power tools above 8 volts to assemble.

Carton 200 -201-FB is also needed for assembly.
Assembly Instructions 2/3
IMPORTANT
Use a soft cloth between these parts and the floor.

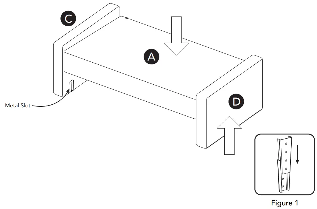
STEP 1
Attach Base (A) to Side (C) by sliding metal slots into position. (See Figure 1)
Attach Side (D) to unit by sliding metal slots into position.
Assembly Instructions /3 3
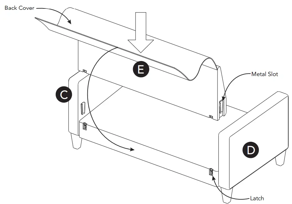
STEP 3
Align the metal brackets of the Back (E) to brackets of each Side (C & D) and insert at the same time.
Lock Back (E) in position with latches. (See Figure 2) Attach back cover to back of unit. (See Figure 3)

Place Seat Cushions (F) into position.
Place Back Cushions (G) into position.
CARE INSTRUCTIONS
NEVER
allow liquids to remain on furniture.
Absorption causes parts to warp and split and finishes to delaminate.
NEVER use glass cleaners on finished furniture. Ammonia chemically attacks the finish.

CLEAN with a soft cloth moistened in lukewarm soap and water.
Buff with a dry clean cloth.
homestyles will provide replacements free of charge for missing or damaged parts within1year of purchase.
Digital images of the defective parts may be required. If the product was not purchased from an authorized retailer, homestyles is under no obligation to provide replacement parts. Parts are not available for fully assembled items nor are parts available for sale. Replacements for missing or damaged parts may be requested via contact info below.
styles Customer Service:
www.homestylesfurniture.com,
[email protected],
888-680-7460

















