BANTE IE-50T Industrial Conductivity Electrode
User Guide

This electrode is designed for the measurements of the conductivity and temperature in aqueous solution and is suitable for continuous use in process applications.
Overview

Specifications

Installation
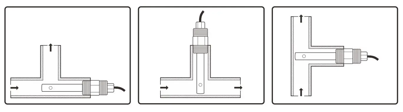
Selectable Mounting Positions

The arrow represents the direction of the liquid flow.
Installing the Electrode
- Wrap Teflon tape to the electrode body threads.
- Insert the electrode into the mounting position and slowly turn clockwise until secure. Hand tighten the electrode to prevent liquid leakage.
DO NOT immerse the electrode into liquid completely, the cable is not waterproof.
Electrode Maintenance
In order to maintain an accurate measurement value, the electrode needs cleaning and regular maintenance, cleaning procedure is as follow.
- Remove electrode from service and soak the electrode for about 30 minutes in detergent to remove dirt and oil stains on the electrode.
- Rinse the electrode with clear water and calibrate electrode according to instructions in the controller manual. Reinstall the electrode.
Bante Instruments Inc.



















