GETTING STARTED
QUICK REFERENCE GUIDE
MARVEL UNDERCOUNTER REFRIGERATION
MLNP115-IG01A
MLNP115-SS01B
MSNP115-SS01A
REDEEM YOUR FREE CLEANING KIT
Register your product at marvelrefrigeration.com to receive (1) S41016346-ACCY Nugget Ice Cleaning Kit at no charge. ‘Valid on Marvel Nugget ice Machines produced after September 2021.
THE ORIGINAL REFRIGERATION EXPERTS SINCE 1892
Welcome to the Marvel Experience
Thank you for choosing our quality American-built product to add to your home. We are thrilled to welcome you to our growing community of Marvel owners, who trust in our
products and our support.
The information in this guide is intended to help you install and maintain your new Marvel under-counter model to protect and prolong its lifetime.
We encourage you to contact our
Technical Support team at (616) 754-5601 with any questions.
Got a Marvelous Design?
We would love to see how your Marvel product looks in its new home. Send us photos at [email protected], and we might feature your Marvel home design
on our website and social media!
Thank you again for investing in Marvel for your home!
Important Safety Instructions
Warnings and safety instructions appearing in this guide are not meant to cover all possible conditions and situations that may occur. Common sense, caution, and care must be exercised when installing, maintaining, or operating this appliance.
Recognize Safety Symbols, Words, and Labels.
CAUTION
CAUTION-Hazards or unsafe practices that could result in personal injury or property/product damage.
NOTE
NOTE-Important information to help assure a problem-free installation and operation.
WARNING
WARNING – You can be killed or seriously injured if you do not follow these instructions.
WARNING
State of California Proposition 65 Warning:
This product contains one or more chemicals known to the State of California to cause cancer.
WARNING
State of California Proposition 65 Warning:
This product contains one or more chemicals known to the State of California to cause birth defects or other reproductive harm.
WARNING
WARNING - This unit contains R600a (Isobutane) which is a flammable hydrocarbon. It is safe for regular use. Do not use sharp objects to expedite defrosting.
Do not damage the refrigerant circuit.
UNPACKING YOUR APPLIANCE
WARNING
EXCESSIVE WEIGHT HAZARD
Use two or more people to move product.
Failure to do so can result in personal injury.
Remove Interior Packaging
Your appliance has been packed for shipment with all parts that could be damaged by movement securely fastened.
Remove internal packing materials and any tape holding internal components in place. The owner’s manual is shipped inside the product in a plastic bag along with the warranty
registration card, and other accessory items.
Important
Keep your carton and packaging until your appliance has been thoroughly inspected and found to be in good condition. If there is damage, the packaging will be needed as proof of the damage in transit.
Afterward please dispose of all items responsibly.
WARNING
NOTE
CAUTION
WARNING – Dispose of plastic bags which can be a suffocation hazard.
Note to Customer
This merchandise was carefully packed and thoroughly inspected before leaving our plant. Responsibility for its safe delivery was assumed by the retailer upon acceptance of the shipment. Claims for loss or damage sustained in transit must be made to the retailer.
If the appliance was shipped, handled, or stored in other than an upright position for any period of time, allow the appliance to sit upright for a period of at least 24 hours before plugging in. This will assure oil returns to the compressor.
Plugging the appliance in immediately may cause damage to internal parts.
DO NOT RETURN DAMAGED MERCHANDISE TO THE MANUFACTURER – FILE THE CLAIM WITH THE RETAILER.
Warranty Registration
It is important you send in your warranty registration card immediately after taking delivery of your appliance or you can register online at www.marvelrefrigeration.com.
The following information will be required when registering your appliance.
Service Number
Serial Number
Date of Purchase
Dealer’s name and address
Online registration available at www.marvelrefrigeration.com
The service number and serial number can be found on the serial plate which is located inside the cabinet on the left side near the top. See figure 1.

WARNING
WARNING – Help Prevent Tragedies
Child entrapment and suffocation are not problems of the past. Junked or abandoned refrigerators are still dangerous – even if they sit out for “just a few hours”.
If you are getting rid of your old refrigerator, please follow the instructions below to help prevent accidents.
Before you throw away your old refrigerator or freezer:
- Take off the doors or remove the drawers.
- Leave the shelves in place so children may not easily climb inside.
INSTALLING YOUR APPLIANCE
Select Location
The proper location will ensure the peak performance of your appliance. We recommend a location where the unit will be out of direct sunlight and away from heat sources. To
ensure your product performs to specifications, the recommended installation location temperature range is from 50 to 100°F (10 to 38°C).
Cabinet Clearance
Ventilation is required from the bottom front of the appliance. Keep this area open and clear of any obstructions.
Adjacent cabinets and countertops can be installed around the appliance as long as the front grille remains unobstructed.
All Marvel Professional models with articulated hinges are intended for built-in applications only.
CAUTION
Front Grille
Do not obstruct the front grille. The openings within the front grille allow air to flow through the condenser heat exchanger. Restrictions to this airflow will result in increased energy usage and loss of cooling capacity. For this reason, it is important this area not be obstructed and that the grille openings be kept clean. Marvel does not recommend the use of a custom-made grille as airflow may be restricted.

Leveling Legs
Adjustable legs at the front and rear corners of the appliance should be set so the unit is firmly positioned on the floor and level from side to side and front to back.
The overall height of your Marvel appliance may be adjusted higher (by turning the leveling leg out, CCW) and lower (by turning the leveling leg in, CW).
To adjust the leveling legs, place the appliance on a solid surface and protect the floor beneath the legs to avoid scratching the floor. With the assistance of another person, lean the appliance back to access the front leveling legs.
Raise or lower the legs to the required dimension by turning the legs. Repeat this process for the rear by tilting the appliance forward using caution. On a level, surface check the appliance for levelness and adjust accordingly.
ELECTRICAL

WARNING
Electrical Shock Hazard
- Do not use an extension cord with this appliance.
They can be hazardous and can degrade product performance. - This appliance should not, under any circumstances, be installed to an un-grounded electrical supply.
- Do not remove the grounding prong from the power cord. (See Figure 3).
- Do not use an adapter. (See Figure 4).
- Do not splash or spray water from a hose on the appliance. Doing so may cause an electrical shock, which may result in severe injury or death.
Electrical Connection
A grounded 115-volt, a 15-amp dedicated circuit is required.
This product is factory equipped with a power supply cord that has a three-pronged, grounded plug. It must be plugged into a mating grounding type receptacle in accordance with the National Electrical Code and applicable local codes and ordinances (see Figure 6). If the circuit does not have a grounding type receptacle, it is the responsibility and obligation of the customer to provide the proper power supply.
The third ground prong should not, under any circumstances, be cut or removed.

NOTE
Ground Fault Circuit Interrupters (GFCI) are prone to nuisance tripping which will cause the appliance to shut down.
GFCIs are generally not used on circuits with power equipment that must run unattended for long periods of time unless required to meet local building codes and ordinances.
CUTOUT & PRODUCT DIMENSIONS
PREPARE SITE
CAUTION
Your product has been designed for either free-standing or built-in installation. When built-in, your unit does not require additional air space for the top, sides, or rear. However,
the front grille must NOT be obstructed, and clearance is required for an electrical connection in the rear.
CAUTION
The unit can NOT be installed behind a closed cabinet door.
If you would like to align the face of the unit with other adjacent cabinet doors, you may need to alter the wall just behind the drain connection on the unit to accommodate the drain.
CUTOUT DIMENSIONS – MSNP115

*15″ cutout width may be sufficient if the opening is exact and square.
PRODUCT DIMENSIONS
REAR

FRONT

TOP

SIDE

CUTOUT DIMENSIONS – MLNP115

PRODUCT DIMENSIONS
REAR

FRONT

TOP

SIDE

DOOR ADJUSTMENTS
Grille Installation
REMOVING AND INSTALLING GRILLE
WARNING
WARNING - Disconnect electric power to the unit before removing the grille. When using the unit, the grille must be installed.
WARNING
WARNING - DO NOT touch the condenser fins.
The condenser fins are SHARP and can be easily damaged.
Removing the grille
- Disconnect power to the unit.
- Loosen the two screws (1).
- Remove grille (2) from the unit.
Installing the grille
- Align cabinet and grille holes and secure, but do not over-tighten grille screws (1).
- Reconnect power to the unit.

Door Swing

Units have a zero clearance for the door to open 90º Integrated Stainless Steel, Black and White when installed adjacent to cabinets.
Stainless steel models require 2-1/8” (54 mm) door clearance to accommodate the handle if installed next to a wall.
Door Adjustments
HINGE COVER
The hinge cover included with the literature bag is optional.
To install hinge cover:
- Press hinge cover squarely over the hinge.

Door Alignment and Adjustment
Align and adjust the door if it is not level or is not sealing properly. If the door is not sealed, the unit may not cool properly, or excessive frost may form in the interior.
NOTE
Properly aligned, the door’s gasket should be firmly in contact with the cabinet all the way around the door (no gaps). Carefully examine the door’s gasket to ensure that it is firmly in contact with the cabinet. Also, make sure the door gasket is not pinched on the hinge side of the door.
To align and adjust the door – MSNP115
- Gently pry off the hinge cover from the top of the unit.
- Loosen (do not remove) top and bottom hinge screws using a Torx T-25 screwdriver.
- Align the door squarely with the cabinet.
- Make sure the gasket is firmly in contact with the cabinet all the way around the door (no gaps).
- Tighten bottom hinge screws.
- Tighten top hinge screws and replace hinge cover.
Reversing the Door
The location of the unit may make it desirable to mount the door on the opposite side of the cabinet.
The hinge hardware will be removed and reinstalled on the opposite side of the cabinet.
TO REVERSE THE DOOR

Remove top hinge door:
- Hold the door to keep it from falling.
- Remove the top hinge from the cabinet using a Torx T-25 screwdriver to remove three screws. Set aside and save for possible future use.

- Remove the door by tilting forward and lifting the door off the bottom hinge. Retain shoulder washers; they will be reused.
- Remove three screws from hinge holes on the opposite side. Reinstall into holes where the hinge was removed. (If utilizing supplied screw cover, install just one screw.)
Remove bottom hinge:
- Remove the bottom hinge from the cabinet using a T-10 TORX screw driver to remove three screws.

- Remove corresponding screws on the opposite sides of the cabinet. On some models, there may be a nut behind one or both screws on either side.
Install bottom hinge:
Install two or three screws, depending on the model. Replace nuts if used.

Door Adjustments – MLNP115
DOOR ALIGNMENT AND ADJUSTMENT
Align and adjust the door if it is not level or not sealing properly. If the door is not sealed, the unit may not cool properly, or excessive frost or condensation may form in the interior.
NOTE
Properly aligned, the door’s gasket should be firmly in contact with the cabinet all the way around the door (no gaps). Carefully examine the door’s gasket to ensure that it is firmly in contact with the cabinet. Also, make sure the door gasket is not pinched on the hinge side of the door.
CAUTION
Do not attempt to use the door to raise or pivot your unit.
This would put excessive stress on the hinge system.
Alignment and Adjustment Procedure
- Open the door and remove the gasket near the hinges.
- Using a T-25 Torx bit, loosen each pair of Torx head screws on both the upper and lower hinge plates.
- Square and align the door as necessary.
- Tighten Torx head screws on the hinge.
- Reinstall the gasket into the channel starting at the corner.

REVERSING THE DOOR
- Open the door.
- Using a T-25 Torx bit loosen screw #1 and remove screw #2 on the top and bottom hinge. Slide and remove the door from the unit.
NOTE
One hinge includes a metal spacer. A spacer must be used with that hinge when reversing the door. - Remove caps from screw heads on the opposite sides (2 on top and 2 on bottom). Using #2 Phillips bit, remove the 4 underlying screws. Reinstall the screws and caps on the opposite side.
- Partially install screw #1 in the outermost holes on top and bottom. Rotate door 180º , align hinge over screw #1, and slide/seat into position. Reinstall screw #2 on top and bottom. Tighten both screws and install the hinge cover.
Align and adjust the door:
Align and adjust the door (see DOOR ALIGNMENT AND ADJUSTMENT).
Prepare door for reinstallation:
- Remove gasket. This will reveal mounting holes for the magnet assembly.
- Remove magnet assembly from the door with T-10 TORX driver. Be sure to only remove the two screws holding the assembly to the door. Reinstall on the opposite end of the door.
- Rotate the gasket 180°, aligning the notch with magnet assembly and pressing firmly into the gasket channel starting at the corners.
- Rotate door 180° to reverse.
Install top hinge and door:
- Install a hinge with a long straight edge aligned to the outside edge of the cabinet. Do not tighten.

- Lift the door onto the bottom hinge.
- Align the edge of the hinge with the outer edge of the unit.
- Tighten three hinge screws.
INSTALLING THE ANTI-TIP DEVICE
Anti-Tip Bracket – MSNP115
- Slide the unit out so screws on top of the unit are easily accessible.
- Remove the two screws from the opposite side of the hinge assembly using a T-25 Torx driver (see below).

- Place the bracket over holes and attach to the unit with two screws removed in step 2 using a T-25 Torx driver.
Tighten screws fully. - Gently push the unit into position. Be careful not to entangle the electrical cord or water line, if applicable.
- Check to be sure the unit is level from front to back and side to side. Make any necessary adjustments. The unit’s top surface should be approximately 1⁄8” (3 mm) below the countertop.
- Secure the bracket onto the adjoining surface.
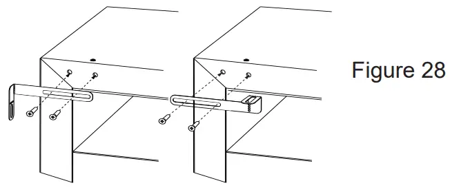
Anti-Tip Bracket – MLNP115
Use one of the methods below to secure the unit
CABINET/COUNTER ANTI-TIP INSTALLATION
(For built-in applications)
- Slide the unit out so screws on the front of the unit are easily accessible.
- Remove the two screws from the front of the unit.

- Bend the bracket along one of the perforations to allow attachment to the desired adjoining surface.
- Gently push the unit into position. Be careful not to entangle the electrical cord or water line, if applicable.
- Check to be sure the unit is level from front to back and side to side. Make any necessary adjustments.
The unit’s top surface should be approximately 1/8” (3 mm) below the countertop. - Secure bracket to adjoining surface.
Leveling Information
- Use a level to confirm the unit is level. The level should be placed along the top edge and side edge as shown.

- If the unit is not level, adjust the legs on the corners of the unit as necessary.

- Confirm the unit is level after each adjustment and repeat the previous steps as needed.
NOTE
If the room floor is higher than the floor in the cutout opening, adjust the rear legs to achieve a total unit rear height of 1⁄8” (3 mm) less than the opening’s rear height. Shorten the unit height in the front by adjusting the front legs. This allows the unit to be gently tipped into the opening. Readjust the front legs to level the unit after it is correctly positioned in the opening.
Installation
- Plug in the power/electrical cord.
- Gently push the unit into position. Be careful not to entangle the cord or water and drain lines, if applicable.
- Re-check the leveling, from front to back and side to side. Make any necessary adjustments. The unit’s top surface should be approximately 1⁄8” (3 mm) below the countertop.
- Install the anti-tip bracket.
- Remove interior packing material and wipe out the inside of the unit with a clean, water-dampened cloth.
Panel Installation
MLNP115-IS01A ONLY
3/4″ (20 mm) panel
14 15/16″ (379 mm) width
30″ (762 mm) height
- Fully open door.
- Starting at a corner, pull the gasket away from the door.
- Continue to pull the gasket free from the gasket channel.
- Upon removal, lay the gasket down on a flat surface.
- Align the top of the panel with the top edge of the door. Center panel on the door.
NOTE
Due to differences in floor construction or surrounding cabinetry, the panel may not sit flush with the top of the door. - Secure integrated panel to door using clamps. A robust tape may also be used. Marvel recommends the use of bar clamps to secure the panel to the door. If using tape, be certain the tape will not damage the panel finish upon removal.
- Using a 7/64” (3 mm) drill bit, drill 6 pilot holes into the wood panel 1/2” (12 mm) deep using the holes in the door frame as a guide.
NOTE
It is important to ensure that all drilled holes are drilled to the correct depth in order to avoid splits in the wood when hardwood is installed. - Locate 6 of the #6x 1-1/2” (38 mm) screws provided with your unit.
- Using a Phillips screwdriver, place one screw into each of the 6 pilot holes and screw down. Do not over-tighten screws.
- Ensure the screws sit flush against the bottom of the channel.

- Remove clamps from the door.
NOTE
If the panel requires additional adjustment after removing clamps, slightly loosen each screw and adjust the panel as necessary. Tighten screws upon completion. - Starting at the corners, re-install the gasket into the gasket channel in the frame. Make sure the gasket is fully seated.
INSTALLING THE DRAIN PLUMBING
Drain
This model comes equipped with a factory-installed drain pump.
CONNECT DRAIN LINE
CAUTION
Failure to connect water supply or drain line connections properly can result in personal injury and property damage. See below for typical installations requiring a drain pump.
Stand Pipe

Disposal Assembly

Y-Branch Tail Piece

NOTE
The maximum lift for the drain pump is 10 feet. This must be done as close to the rear of the unit as possible.
INSTALLING THE WATER SUPPLY
Water Hookup
PREPARE PLUMBING
The water valve uses a standard 1/4” (6.35 mm) compression fitting.
CAUTION
Plumbing installation must observe all state and local codes. All water and drain connections MUST BE made by a licensed/qualified plumbing contractor. Failure to follow recommendations and instructions may result in damage and/or harm.
Water Supply Connection
When connecting the water supply, please note the following:
- Before installing the unit and connecting it to the cold water supply, review the local plumbing codes.
- The water pressure should be between 20 and 120 psi (138 and 827 kPa).
- The water line MUST have a shut-off valve in the supply line.
- The water line should be looped into 2 coils. This will allow the unit to be removed for cleaning and servicing.
Make certain that the tubing is not pinched or damaged during installation.
WARNING
WARNING - Connect to potable water supply only.
- Water Mineral Content:
- TDS: greater than 5 ppm (mg/l) but less than 400 ppm (mg/l)
- Hardness: less than 200 mg/l (12 gpg)
- Not recommended for use with softened water
CAUTION
Do not use any plastic water supply line. The line is under pressure at all times. Plastic may crack or rupture with age and cause damage to your home. Do not use tape or joint compound when attaching a braided flexible water supply line that includes a rubber gasket. The gasket provides an adequate seal – other materials could cause blockage of the valve. Failure to follow recommendations and instructions may result in damage and/or harm, flooding, or void of the product warranty. Use a new hose set. Do not reuse the old hose set.
CAUTION
Turn off water supply and disconnect electrical supply to the unit prior to installation. Use caution when handling the back panel. The edges could be sharp.
- Turn off the water supply and disconnect the electrical supply to the product prior to attempting installation.
- Remove the back panel.
- Thread water line through back panel hole (with bushing).
- Locate the water valve inlet and connect it to the valve.
- Turn on the water supply and check for leaks.
- Reinstall the back panel.
![]() | ![]() |
OPERATION OF ICE MACHINE
First Use
Initial startup requires no adjustments. When plugged in, the unit will begin operating under the factory default settings. If the unit was turned off during installation, simply press
and the unit will immediately switch on. To turn the unit off, press
.
NOTE
The temperature displayed reflects the actual temperature inside unit.
If the temperature displayed is different from the selected, the unit is progressing toward the selected temperature. The time to reach the set point varies based upon ambient temperature, the temperature of product loaded, door openings, etc. Marvel recommends allowing the unit to reach set points before loading.
Ice
The Nugget Ice Machine produces cylindrical bits of compressed ice approximately 3/4” x 1/2”.
Ice is produced until the machine senses the bin is full. As the ice slowly melts in the bin, the level of ice drops, and ice production resumes. This ensures a constant supply of fresh ice is always available.
The factory’s default ice setting is 0, which produces a firm and compact ice nugget. Our ice adjustability feature allows you five levels of adjustment from 0 to -5. At -5 the ice is soft and chewable.
To adjust the ice density:
- Hold + for 5 seconds – display will flash current ice
setting. - Adjust using + or -.
- Confirm the setting by pressing
.
USING YOUR ELECTRONIC CONTROL

CONTROL FUNCTION GUIDE
| FUNCTION | COMMAND | NOTES |
| ON/OFF | Press | The unit will immediately turn On or OFF. |
| Adjust Ice Density | See the “Ice” section. | |
| Enable Sabbath Mode | Press | The °F / °C symbol will flash briefly after 5 seconds. Interior light and the display will go dark and remain so until the user resets mode – the unit continues to operate. |
| Disable Sabbath Mode | Press | Display and interior light return to normal operation. |
| Clean Mode | See the “Cleaning” section. | |
| Showroom Mode | Hold – and | The °F / °C symbol will flash. The display will be lit and interior light with function. The unit will not cool. Repeat the command to return to normal operation. |
DOOR ALERT NOTIFICATION
When the door is left open for more than 30 minutes:
- Ice production will cease
- A tone will sound for several seconds every minute
- will appear on the display
Close door to silence alert and reset (Ice production will resume if bin sensor is not satisfied)
Airflow and Product Loading
NOTE
The unit requires proper airflow to perform at its highest efficiency. Do not block the front grille at any time, or the unit will not perform as expected. Do not install the unit behind a door.

CLEANING YOUR ICE MACHINE
Cleaning
EXTERIOR CLEANING
Stainless steel can discolor when exposed to chlorine gas, pool chemicals, saltwater, or cleaners with bleach.
Keep your stainless unit looking new by cleaning with a good quality all-in-one stainless steel cleaner and polish monthly. For best results use Claire® Stainless Steel Polish and Cleaner. Comparable products are acceptable.
Frequent cleaning will remove surface contamination that could lead to rust. Some installations may require cleaning weekly.
CAUTION
Do not clean with steel wool ads. Do not use cleaners not specifically intended for stainless steel on stainless steel surfaces (this includes glass, tile, and counter cleaners).
If any surface discoloring or rusting appears, clean it quickly with Bon-Ami® or Barkeepers Friend Cleanser® and a non-abrasive cloth. Always clean with the grain. Always finish with Claire® Stainless Steel Polish and Cleaner or comparable product to prevent further problems.
CAUTION
Using abrasive pads such as ScotchBrite™ will cause the graining in the stainless steel to become blurred. Rust not cleaned up promptly can penetrate the surface of the stainless steel and complete removal of the rust may not be possible.
INTERIOR CLEANING
Disconnect power to the unit.
Clean the interior and all removed components using a mild nonabrasive detergent and warm solution applied with a soft sponge or non-abrasive cloth.
Rinse the interior using a soft sponge and clean potable water.
CAUTION
Do not use any solvent-based or abrasive cleaners. These types of cleaners may transfer taste and/or odor to the interior products and damage or discolor the interior.
NUGGET ICE MACHINE CLEANING CYCLE
This ice machine has an automatic clean alert function. The control will indicate in the display, approximately every six months with normal use, reminding you to clean your unit. When is displayed, ice production will continue. Depending on water conditions, more frequent cleaning may be necessary. Cleaning removes lime scale, and other mineral deposits, and sanitizes the machine. Poor ice quality and reduced ice output are signs that cleaning is necessary. If the machine consistently requires more frequent cleaning, consult a plumber to test the water quality and recommend the appropriate treatment.
| TDS (Total Dissolved Solids) Level mg/L (ppm) | Cleaning Interval |
| 5 – 150 | 6 months |
| 150 – 250 | 4 months |
| 250 – 400 | 3 months (or sooner) |
| Hardness Level mg/L (ppm) | Cleaning Interval |
| 0 – 66 | 6 months |
| 67 – 133 | 4 months |
| 134 – 200 | 3 months (or sooner) |
Under normal conditions cleaning should be done when the display shows
. You may initiate a cleaning cycle at any time by pressing and holding the clean button for 10 seconds.
will appear in the display indicating the start of the cleaning process.
You may override
the display without cleaning by pressing and holding the up, down, & light buttons for 10 seconds.
will scroll in the display and the cleaning reminder (
) will be reset for another approximate six-month cycle. Failure to clean may reduce the quality and quantity of ice produced. Once the clean cycle begins, it can be canceled by pressing
three times. Press
once more to start making ice. The clean cycle will automatically cancel if the user fails to activate control at steps 2, 3b, and 5b within 2 hours.
Required for cleaning:
- Hose and funnel – provided with the unit
- Bucket and cleaning sponge
- Clean potable water
- safe clean Plus™ Cleaner
1-8oz. bottle – Available for purchase from Marvel
Need cleaner? Call Marvel Customer Service at 616.754.5601.
CAUTION
Use only SafeCLEAN Plus™ Cleaner. The use of any other cleaner may damage the finish of the evaporator and will void the warranty. Follow safety and handling instructions printed on the SafeCLEAN Plus™ bottle.

- Press and Hold
for 10 seconds
a. will appear in the display
b. Remove access shield
c. Remove all ice in bin
d. Remove any ice protruding from the ice dispenser tube. - Insert the end of the cleaning tube into the ice dispenser; slowly pour in approximately 1 quart of hot (min. 100º F) potable water. This will melt the ice inside the dispenser tube. It is normal for some water to flow from the ice dispenser tube and exit from the vent tube while pouring. Omit this step if no ice is in the ice dispenser tube.

- Press and release

a.
will appear in the display
b. Mix 4 ounces of SafeCLEAN Plus™ with 2 quarts of potable water. - Wait until
appears in the display
a. Using the funnel and cleaning tube, slowly pour 3⁄4 of the cleaning solution into the dispenser tube. Air and some water will exit the vent tube.
Remove the cleaning tube.
b. Press and release
will appear in the display
a. The machine will circulate the solution, cleaning and sanitizing the internal components, for approximately 20 minutes.
b. While the machine is circulating the cleaning solution, use 1/2 of the remaining cleaning solution and a sponge to wipe down the inside of the ice bin and scoop. Rinse with clean potable water.- When
appears in the display, 3 soft tones will sound, indicating the cleaning phase is complete.
• Using the hose and funnel, slowly pour 1.5 quarts (48 oz.) of clean potable water into the ice dispenser tube. Air and some water will exit the vent tube.
will appear in the display
a. Reinstall shield and close door.
b. The machine will circulate water and perform a series of final rinses for approximately 15 minutes.
c. The unit will resume making ice – indicated by 3 tones and
scrolling in the display.
d. Discard the first 10 minutes of ice production.
Cleaning Condenser
INTERVAL – EVERY SIX MONTHS
To maintain operational efficiency, keep the front grille free of dust and lint, and clean the condenser when necessary.
Depending on environmental conditions, more or less frequent cleaning may be necessary.
WARNING
WARNING - Connect to potable water supply only.
NOTE
DO NOT use any type of cleaner on the condenser unit.
The condenser may be cleaned using a vacuum, soft brush, or compressed air.
- Remove the grille (See GRILLE INSTALLATION).
- Clean the condenser coil using a soft brush or vacuum cleaner.
- Install the grille.

CARE AND CLEANING
Extended Non-Use
VACATION/HOLIDAY, PROLONGED SHUTDOWN
The following steps are recommended for periods of extended non-use:
- Remove all consumable content from the unit.
- Disconnect the power cord from its outlet/socket and leave it disconnected until the unit is returned to service.
- Turn off the water supply.
- If ice is on the evaporator, allow ice to thaw naturally.
- Clean and dry the interior of the unit. Ensure all water has been removed from the unit.
- Disconnect the water and drain line (if applicable) making sure all water is removed from the lines.
- The door must remain open to prevent formation of mold and mildew. Open door a minimum of 2” (50 mm) to provide the necessary ventilation.
WINTERIZATION
If the unit will be exposed to temperatures of 40 ºF (5 ºC) or less, the steps above must be followed. In addition, P60 drain pumps must be drained according to the following procedure:
- Remove the drain pump from the ice machine.
- Drain the water in the pump’s reservoir by turning the pump upside down and allowing the water to drain through the pump’s inlet and vent tube fittings.
- After water is drained, reinstall the drain pump and reattach all connections.
For questions regarding winterization, please call Marvel Refrigeration at 616.754.5601
CAUTION
Damage caused by freezing temperatures is not covered by the warranty. Do not put anti-freeze in your unit.
OBTAINING SERVICE
If Service is Required:
- If the product is within the first year warranty period please contact your dealer or call Marvel Customer Service at 616.754.5601 for directions on how to obtain warranty coverage in your area.
- If the product is outside the first year warranty period, Marvel Customer Service can provide recommendations of service centers in your area. A listing of authorized service centers is also available at www.marvelrefrigeration.com under the service and support section.
- In all correspondence regarding service, be sure to give the service number, serial number, located on your product’s serial plate, and proof of purchase.
- Try to have information or description of nature of the problem, how long the unit has been running, the room temperature, and any additional information that may be helpful in quickly solving the problem.
- Table B is provided for recording pertinent information regarding your product for future reference.
The table below is provided for recording pertinent information regarding your product for future use.
For Your Records
| For Your Records | |
| Date of Purchase | |
| Dealer’s name | |
| Dealer’s Address | |
| Dealer’s City | |
| Dealer’s State | |
| Dealer’s Zip Code | |
| Appliance Serial Number | |
| Appliance Service Number | |
| Date Warranty Card Sent |
HOUSEHOLD PRODUCT WARRANTY
Marvel Refrigeration (Marvel) Limited Warranty
ONE YEAR LIMITED PARTS & LABOR WARRANTY
For one year from the date of original purchase, this warranty covers all parts and labor to repair or replace any part of the product that proves to be defective in materials or workmanship. For products installed and used for normal residential use, material cosmetic defects are included in this warranty, with coverage limited to 60 days from the date of original purchase. All service provided by Marvel under the above warranty must be performed by a Marvel factory authorized servicer, unless otherwise specified by Marvel. Service provided during normal business hours.
TWO YEAR LIMITED PARTS & LABOR WARRANTY (MARVEL PROFESSIONAL PRODUCTS)
For two years from the date of original purchase, this warranty covers all parts and labor to repair or replace any part of the product that proves to be defective in materials or workmanship. For products installed and used for normal residential use, material cosmetic defects are included in this warranty, with coverage limited to 60 days from the date of original purchase. All service provided by Marvel under the above warranty must be performed by a Marvel factory authorized servicer, unless otherwise specified by Marvel. Service provided during normal business hours.
AVAILABLE THIRD YEAR LIMITED WARRANTY (MARVEL PROFESSIONAL PRODUCTS)
For designated Marvel Professional product, Marvel offers a one year extension of the two year warranty coverage from the date of purchase, free of charge. To take advantage of this third year warranty, you must register your product with Marvel within 60 days from the date of purchase at marvelrefrigeration.com and provide proof of purchase.
LIMITED FIVE YEAR SEALED SYSTEM WARRANTY
For five years from the date of original purchase, Marvel will repair or replace the following parts, labor not included, that prove to be defective in materials or workmanship: compressor, condenser, evaporator, drier, and all connecting tubing. All service provided by Marvel under the above warranty must be performed by a Marvel factory authorized servicer, unless otherwise specified by Marvel.
Service provided during normal business hours.
WARRANTY TERMS
These warranties apply only to products installed in any one of the fifty states of the United States, the District of Columbia, or the ten provinces of Canada. The warranties do not cover any parts or labor to correct any defect caused by negligence, accident or improper use, maintenance, installation, service, repair, acts of God, fire, flood or other natural disasters. The product must be installed, operated, and maintained in accordance with the Marvel User Guide.
The remedies described above for each warranty are the only ones that Marvel will provide, either under these warranties or under any warranty arising by operation of law. Marvel will not be responsible for any consequential or incidental damages arising from the breach of these warranties or any other warranty, whether express, implied, or statutory. Some states do not allow the exclusion or limitation of incidental or consequential damages, so the above limitation or exclusion may not apply to you. These warranties give you specific legal rights, and you may also have other rights which vary from state to state.
Any warranty that may be implied in connection with your purchase or use of the product, including any warranty of merchantability or any warranty fit for a particular purpose is limited to the duration of these warranties, and only extends to five years in duration for the parts described in the section related to the five year limited warrantyabove. ome
states do not allow limitations on how long an implied warranty lasts, so the above limitationsmay not apply to you.
- The warranties only apply to the original purchaser and are non-transferable.
- These warranties cover products installed and used for normal residential use only.
- The warranties apply to units operated outside only if designed for outdoor use by model and serial number.
- Replacement water filters, light bulbs, and other consumable parts are not covered by these warranties.
- The start of Marvel’s obligation is limited to four years after the shipment date from Marvel.
- In-home instruction on how to use your product is not covered by these warranties.
- Food, beverage, and medicine loss are not covered by these warranties.
- If the product is located in an area where Marvel factory authorized service is not available, you may be responsible for a trip charge or you may be required to bring the product to a Marvel factory authorized service location at your own cost and expense.
- Units purchased after use as floor displays, and/or certified reconditioned units, are covered by the limited one year warranty only and no coverage is provided for cosmetic defects.
- Signal issues related to Wi-Fi connectivity are not covered by these warranties.
For parts and service assistance, or to find Marvel factory authorized service near you, contact Marvel Refrigeration:
MarvelRefrigeration.com • [email protected] • +616.754.5601
1260 E. Van Deinse St., Greenville, MI 48838
All specifications and product designs subject to change without notice. Such revisions do not entitle the buyer to corresponding changes, improvements, additions, replacements or compensation for previously purchased products.
Marvel Refrigeration
1260 E. Van Deinse St.
Greenville MI 48838
616.754.5601
30668 Rev A
3/3/21


NOTE




NOTE
NOTE























