Indoor dual technology detector
Mod. 1051
DS1051-021B
1051/103
Installation programming and functions manual
The 1051/103 detector implements infrared (PIR) and microwave (MW) motion detection technology. The combination of the two detection methods considerably reduces the false alarm rate, employing PIR for initial detection and microwaves for confirmation
before sending the alarm signal.
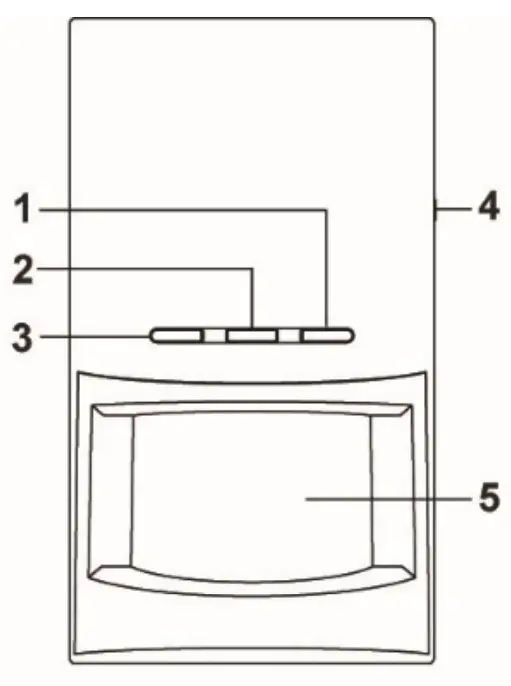
Part identification
- Transmitter LED (red)

The LED indicator blinks to indicate that signals are being transmitted in the following situations.
– The Learn/Test button is pressed.
– The tamper switch is actuated or reset.
– Motion is detected in Test mode.
– Motion is detected in flat battery or open tamper conditions during normal operation.
The LED does not blink if the tamper switch is closed, the battery is charged and the detector is not in Test mode.
The LED blinks to indicate signal transmission, blinking rapidly twice upon receiving confirmation from the panel.
The LED will blink every 4 seconds when the battery of the detector is flat. - Microwave detector LED (blue)
The LED lights up briefly when the microwave detector is in Test or in Microwave Test mode. - IR detection LED (green).
The LED lights up briefly when the microwave detector is in IR Test mode. - Learn/Test button
- Lens
- Battery housing

- Supervision jumper. Jumper not fitted. Supervision always enabled.
- Microwave test on/off jumper (JP3)
– When the jumper is set to ON, the detector is in microwave Test mode (see Microwave test mode).
– When the jumper is set to OFF, microwave Test mode is deactivated. (default) - Tamper switch
The tamper switch is activated when it is lifted and reset when it is compressed (against a wall or a surface). - Microwave range trimmer
The range is indicated on the right, with the arrow pointing to the set sensitivity level:
– Turned clockwise it increases the detection range (up to 20 metres)
– Turned anticlockwise it decreases the detection range (to a minimum of 3-5 metres)
– Default value: set to a medium value, approximately 10 metres. - Tamper hole

The tamper switch must protrude from the hole on the rear cover - Pre-cut area

Motion detection
- The detector has an integrated PIR sensor and a microwave section. Motion is detected by the PIR sensor during normal operation. When the PIR sensor detects movements, microwave detection is activated to verify the detected motion. If both the PIR and the microwave confirm motion detection, the detector transmits the alarm signal.
- Set the microwave range trimming to adjust the detection range.
- When the trimmer is set to maximum, the detector has an approximately range of 12 metres and mounted at a height of 1.9~2 m.
- When the trimmer is set to minimum, the detector has an approximately range of 5 metres and mounted at a height of 1.9~2 m. Sleep Time The detector has a
“sleep time”
of approximately 1 minute to save energy. After having transmitted a detected movement, the detector will not transmit again for 1 minute; any further movements detected during the sleep period will extend the sleep period by another minute. In this way, continuous movements in front a detector will not drain the battery unnecessarily.
Test mode
The detector can be set to Test mode by pressing the specific Learn/Test button. Test mode lasts for 3 minutes and restarts from 3 minutes whenever the Learn/Test button is pressed. In Test mode, the sleep timer is deactivated and the LEDs light up when the detector detects a movement to notify the user. Use Test mode to determine the detection coverage of the detector during sensor installation.
Microwave Test mode
The microwave test mode is used to test the microwave range only. Use the jumper JP3 to enable microwave test mode. When the detector is in microwave test mode, PIR detection is deactivated, the microwave transmitter is activated to repeatedly send microwave signals for detecting motion.
When the detector detects motion in microwave Test mode, the blue microwave LED generates a signal by lighting up for a short time.
Use microwave Test mode to determine the microwave range and adjust the range using the microwave range switch, if needed. Make sure that microwave test mode is off after having completed the test, setting Jumper JP3 to OFF and returning the detector to normal operation.
Battery
- The detector is powered by a CR123A lithium battery.
- The detector is provided with flat battery detection function; when a flat battery is detected, a flat battery signal is sent to the control unit with the normal signal transmission (e.g. with supervision signal).
- If the battery is not replaced after flat battery conditions have been detected and the battery is entirely discharged, the detector will stop working all together. The red LED will blink every 4 seconds.
- While replacing the batteries, after having removed the flat batteries, press the tamper or learning/test button a few times to discharge the device completely before inserting the new batteries.
Supervision
The detector transmits a supervision signal at constant intervals. If the control unit cannot receive the supervision signals transmitted by the detector for a pre-set period of time, it indicates a Supervision alarm.
Tamper switch
The detector is protected by a tamper switch which exits from the hole provided in the rear cover and is normally compressed against a wall or an installation surface. The tamper alarm is activated when the detector is removed form the installation surface.
The rear cover of the detector has two pre-cut areas. When the device is installed correctly, if an intruder forces the detector from the position in which it is mounted, the areas are detected from the rear cover and remain attached to the mounting surface while the main body of the device is removed, activating the tamper switch.
Learning and installation
- Orient and insert the battery according to the polarity.
- The red LED will start blinking for 30 seconds to indicate that the detector is being initialised. During initialisation, the detector will not be activated. It is advisable to move away from the detection area during this time. At the end of the initialisation time,
the red light goes off and the detector passes to normal operation. - Set the control unit to learning mode; see the instruction manual of the control unit for details.
- Press the Learn/Test button to transmit the signal to the control unit
- The corresponding information of the device is displayed if the control unit receives the signal. Refer to the manual of the control unit to complete the learning process.
- Put the control unit in Walk Test mode (motion Test) after the detector learning procedure. Hold the detector in the required position, press the Test button to check that the concerned position is within the communication coverage range.
- Proceed with the installation after having ascertained that chosen position is satisfactory.
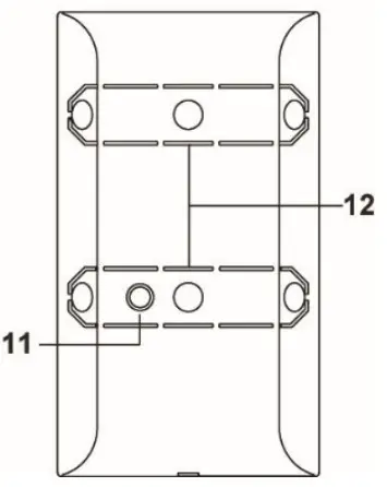
Mounting method
- The detector was designed to be mounted on a flat surface or in a corner using the fixing screws and the anchor bolts provided.
- The rear base is provided with a hole arrangement when the plastic is thinner to allow mounting. There are two hole arrangements on the back for fixing on surface, while there are four on the sides of fixing to a corner.
- Surface mounting
- Separate the base and the cover.
- Perforate the appropriate hole arrangements on the inner side of the base.
- . Using a template for the holes, make the holes in the surface.
- Insert the anchor bolts if the device is fixed to plaster or bricks.
- Screw the base into the anchor bolts.
- Arrange the base on the cover.

Corner mounting:
- Perforate the fixing hole arrangements on the triangular bracket provided.
- Using a template for the holes, make the holes in the corner.
- Insert the anchor bolts and screw the bracket onto the anchor bolts with the two position indicators on the top towards the user.
- Install the detector on the hooks of the triangular bracket. The tamper switch is pressed against the bracket in this manner. The four angular arrangements are not necessary unless the triangular bracket is used for corner mounting.
<<NOTE>>
Be careful to perforate in the thin, pre-cut areas.
Installation
- Choose the position of the detector, i.e. either in a corner or on a surface.
- After having selected the installation site, follow the previous described above to mount the detector.
- Press the Test button to enter Test mode. Walk in the protected area and observe when the LED lights up to check that the detection coverage is adequate.
- Installation is complete when the detection coverage is appropriate.
Installation advice
To optimise performance, the detector must be mounted at a height of 1.9~2.0 m. Has a maximum range of 12 metres when the microwave sensor is set to maximum range and mounted at a height of 2 metres.
<<IMPORTANT NOTES>>
In order to optimise performance, remember to adjust the mounting height of the detector according to the height of the tallest pet. The detector must be mounted in much higher save position in case of large pet.
Remember to take blind spots into consideration to define the height of the mounting point of the detector. The blind sport under the detector grows proportionally to the height of the mounting site.
It is important to note that performance is influenced by external factors, such as height of the detected object, required detection range, installation area, etc. The recommended mounting height may be adjusted according to the actual environmental factors in the installation site.
It is advised to install the detector in the following positions:
- Mount it where pets cannot access the detection area by climbing on furniture or other objects.
- Avoid pointing the detector to stairs which can be climbed by pets.
- Mount it in a position in which an intruder would normally cross the field of vision of the detector.
- Mount it in a corner to have the widest view possible.
- Mount it where the field of vision is not obstructed, e.g. by curtains, ornaments etc.
Restrictions
- Do not position the detector directly facing a door protected by the door contact because the wireless signals of the door contact and of the detector could be transmitted in input at the same time, causing a conflict of signals.
- Do not install the detector fully exposed to direct sunlight.
- Do not install the detector in areas in which devices which could cause sudden changes of temperature in the detectionarea are present, such as air conditioning units, radiators etc.
- Avoid large size obstacles in the detection area.
- Do not point the detector directly towards source of heat, such as fires or boilers, and do not install over radiators.
- Avoid moving objects in the detection area, i.e. curtains, soft furnishings etc.
Technical specifications
- Power supply: 1 lithium battery CR123A 3V
- Battery life: 4 years (typical value, may vary according to use)
- Two-way radio frequency: 868,6 – 868,7 MHz (wireless) / 10,525 GHz (microwave)
- Radio power transmitted: 10,9 dBm (wireless) / 18 dBm (microwave)
- Detection range: max 12 m with 110° angles
- Working temperature range -10°C to +45°C
- Dimensions: 63.3 mm x 112.5 mm x 62 mm
- Weight: 100g
SIMPLIFIED EU DECLARATION OF CONFORMITY
Hereby, URMET S.p.A. declares that the radio equipment type: INDOOR DUAL TECHNOLOGY DETECTOR 1051/103 is in compliance with Directive 2014/53/EU. The full text of the EU declaration of conformity is available at the following internet address:
www.urmet.com.





















