ULINE H-3535 Kihlberg JK35-590 Wide Crown Pneumatic Tacker User Manual

OPERATION
LOADING THE MAGAZINE
- Pull the pusher all the way back until it snaps in around the parking button. Feed in a staple strip from above into the magazine and push it forward by hand. (See Figure 1)

2. Release the pusher by pressing the parking button. (See Figure 2)

USING THE STAPLER
WARNING! Be sure that the stapler nozzle is not pointed at yourself or anyone else when connecting it to the compressed air line.
CAUTION! Never exceed 7 bar air pressure. A low air pressure will reduce maintenance costs!
2. Place the stapler firmly on the work surface. Never drive staples into extremely hard or brittle material. Do not drive staples at too steep an angle or too close to the edge of the work; the staple might fly free and cause injury.
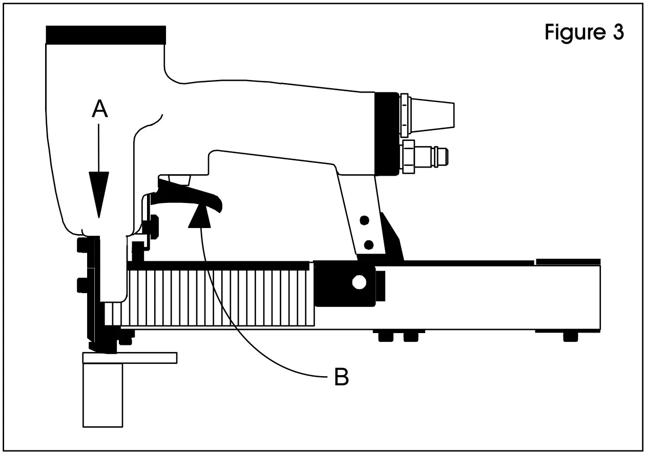
3. This stapler has only single shot firing with safety yoke.
a. First place the stapler against the work piece.
b. Then pull the trigger. (See Figure 3)

4. As this stapler is equipped with a safety yoke, it can also be bump fired where there is no great need for stapling precision.
5. Pull and hold the trigger and then bump the safety yoke against the work surface for multi-shot operation. (See Figure 4)

TO EMPTY THE MAGAZINE
1. Pull the pusher all the way back until it snaps in around the parking button. (See Figure 5)

2. Take the staples out and release the pusher by pressing the parking button. (See Figure 6)

REMOVING STUCK STAPLES
1. Park the staple pusher in its rear position. Loosen the 2 screws (a) holding the front plate and move the plate downward. Remove any staple remnants. Remount the parts in the reverse order and release the pusher. (See Figures 7 and 8)


SAFETY WARNINGS
NOTE: Read these warnings to prevent injuries to yourself and those around you.
- Never use oxygen, combustible gases, CO2, steam or high pressure gas tanks as power sources. The stapler may explode and cause serious injury.
- Use only dry, clean pressure-regulated compressed air to drive the stapler.
- Eye protection must be worn by the operator and others in the work area.
- Always use personal protection equipment as required, such as ear protection, hard hats, etc.
- Never use a defective stapler. Ensure the trigger operates properly and all screws and nuts are secured tightly at all times.
- Do not modify the stapler.
- Always disconnect the stapler from the air supply and empty the magazine when taking a break or ending work, when servicing the stapler or eliminating malfunctions.
- Never leave a loaded stapler unattended.
- Always assume that the stapler is loaded. No horseplay! Respect the stapler as a working tool.
- Never point the stapler at yourself or at anyone else, whether it contains staples or not. Always remove your finger from the trigger when not driving staples.
- Connect the stapler to the compressed air line before loading staples. Maximum air pressure is 7 bar.
- Ensure that the air hose has the right dimension to avoid pressure drops which might cause malfunctioning. Minimum 1/4″.
- The stapler and the hose must have a coupling which automatically bleeds all air pressure from the stapler when it is disconnected.
- Avoid personal injury. Never hold your hand or another part of your body under the stapler.
- Do not load the stapler with the trigger depressed.
- Use only Josef Kihlberg JK590 staples: Item # S-18712, S-18713 and S-18714.
- Always place yourself in a firmly balanced position when using or handling the stapler.
- Stapling and nailing tools that are marked with an inverted equilateral triangle may only be used in conjunction with an operating safety support.

- Stapling and nailing tools that are marked with this symbol must not be used when standing on a stepladder or scaffolding.

MAINTENANCE
- Always disconnect the stapler from the air supply, empty the magazine and read the safety warnings before starting maintenance.
- Check daily that all safety devices function properly, especially that the trigger moves freely and that all screws and nuts are securely tightened.
- Always disconnect the stapler from the air supply, empty the magazine and read the safety warnings before starting maintenance.
- Check daily that all safety devices function properly, especially that the trigger moves freely and that all screws and nuts are securely tightened.
SPECIFICATIONS

- Air pressure:
– Approx. 5,5-6,5 bar working pressure.
– 7 bar maximum air pressure. - The stapler is designed for use with original Josef Kihlberg staples only.
- Magazine loading: Loaded from above.
- Firing of the stapler: Single shot firing.
- Air consumption per shot :0,85 1 at 6 bar operating pressure.

1-800-295-5510
uline.com


















