
USER MANUAL

DOUGH SHEETERS
COUNTERTOP MODELS
348DSC67/17″W x 67″L Belt
348DSC78/19¾”W x 78″L Belt
FLOOR MODELS
348DSF78 /19¾”W x 78¾”L Belt
24¾”W x 95″L Belt /348DSF94
SAFETY
When using electrical appliances, basic safety precautions should always be followed, including the following:
- Keep the working around surrounding the machine clean and organized .
- Consider environmental conditions surrounding the machine . Do not use the machine in humid, wet or poorly lit environments . Do not use the machine close to flammable liquids or gas .
- Keep machine away from children and non-authorized personnel . Do not permit them to go near the machine or its working area .
- Do not touch the switch or cable with wet hands .
- Only utilize the machine with the correct voltage to achieve optimum results .
- Do not wear low-hanging clothing or items that may get caught in the machine . Wear non-slip shoes while working with the machine . For hygiene and safety, keep hair tied back and wear protective gloves .
- Do not tug on the cable to remove the plug from the outlet . Do not leave the cable near sharp objects, water or solvents .
- Remove the plug when the machine is not in use, you are cleaning the machine or need to move the machine .
- Check that the machine is not damaged prior to each use . Carefully check that all safety devices are working, that the removable parts are not blocked, there are no parts damaged, that all the parts have been set up correctly and that all conditions that could influence the regular function of the machine are in working order .
- If the machine is damaged or there are issues during its use, turn off the machine immediately and contact the manufacturer for assistance or repair . Repairs should only be made by qualified technicians, using the correct manufacturer parts . Non-compliance with these rules may void the warranty .
NOTE: Save these instructions for future reference.
SETUP
NOTE: The manufacturer is not responsible for any damages caused by improper installation.
NOTE: The machine should be run with a batch of test dough that will not be used for consumption.
This is necessary to remove any lubricants that are on the rollers/belts from the new machine.
COUNTERTOP MODELS

- The surface where the machine will be used must be solid and horizontally level .
- The machine weights 275 lb . Check weight capacity of the table or counter it is being used on before installing .
- These models have 4 adjustable feet . Once you have placed the machine on the counter, use a level on each side of the belt to ensure level operation .
- Ensure the machine is close enough to a 120V outlet . Contact a qualified electrician if unsure of your electrical supply .
FLOOR MODELS

- These models sit on 4 casters with brakes .
- Ensure that the installation location is close enough to a 120V outlet .
Contact a qualified electrician if unsure of your electrical supply . - Keep the machine away from potential hazards like fryers, grills, or any other piece of equipment that can splash hot oil or water onto it .
- Unfold the belts down for use and sure enough working clearance . Use a level on the belts to ensure that the machine is on a level surface .
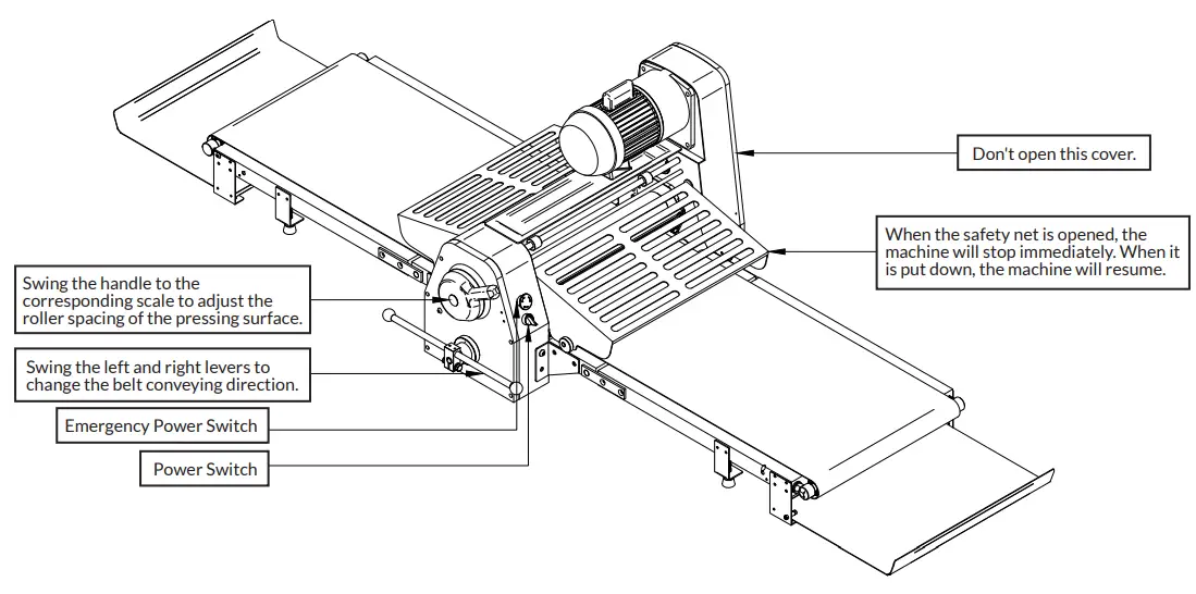
SAFETY FEATURES

The most dangerous area of these machines are the two rollers used to flatten the dough . So, there are safety bars that obstruct the entry in this area . Those safety bars are completely built in stainless steel and designed in a way to allow the user to watch the dough .
The machine can only begin its work if the security bars are in working position, that is, completely down . The machine has an electric protection system that does not allow the machine to work if the bars are not completely down .
It is forbidden to remove, modify or damage the security bars of the machine .
OPERATION
WARNING: MOVING PARTS CAN CRUSH & CUT
Keep hands, feet and all objects away from the rollers prior to turning on the machine!
- Ensure the machine is properly installed and the working space is free of any potential hazards .
- Ensure that the emergency stop switch is turned on and the safety nets are in place . Turn on the machine .
- Set the thickness adjustment handle to the desired setting .
- Flour the belt to prevent sticking and place your dough on the belt . Start with the dough on the thickest setting and work down to the desired thickness . Forcing thick dough through a narrow setting can cause the machine to malfunction and may void the warranty .

- Use the directional control to work the dough through the rollers until the desired thickness is reached .
• For tabletop models flip the lever left or right to change direction .
• For floor models use the lever or the foot pedals to change direction . - At all times during operation keep hands away from the rollers and keep the safety guards down . The machine will shut off immediately if the safety guard is lifted .
- Once finished, return the direction control lever to the horizontal position and shut off machine .
- Never clean the machine while plugged in .
IMPROPER USE OF THIS MACHINE
Estella Dough Sheeters are designed to be used by qualified and trained pastry chefs and bakers .
Estella and its dealers will not be responsible for machine damage, personal injuries, or other incidental damage caused by improper use or untrained operators .


CIRCUIT DIAGRAM

MAINTENANCE
- Before performing maintenance on the machine, disconnect the power and remove the plug from the outlet.
- The machine must be cleaned every day that it is in use, especially the areas that contact dough.
- DO NOT use knives, hard brushes, or tools to clean the cylinders. Use plastic tools and/or soft sponges. Use a soft brush to clean the canvas.
- DO NOT use toxic products or abrasive agents as they could damage the machine.
- DO NOT clean the belt with a wet cloth. Only use a dry cloth or plastic scraper.
- Other surfaces including the rollers and plastic scrapers can be cleaned with a wet cloth and a foodservice-safe disinfectant such as Noble Chemical 177QUIKSAN.
- Dry thoroughly before the next use.
- Disconnect the power supply (#1 figure 1) .
- Open the safety guard (#2 figure 1) .
- Press the roller down to the minimum thickness using the Thickness Handle .
- Grab the plastic scraper with both hands and pull it out (#3 figure 1) . Then wipe flour off the plastic scraper with a cloth .
- Wipe flour off the whole roller with a cloth (#4 figure 1) .
- Install the plastic scraper back to its original position .

- Press the roller up to the maximum thickness using the Thickness Handle .
- Loosen the springs under the belt (#5 figure 2) .

- On the plastic scraper, the left side has a spring, and the right side does not have a spring . Push forward the side without a spring (right side) and the scraper will pop up automatically . Then clean the plastic scraper with a cloth (#6 figure 3) .
- Install the plastic scraper back to its original position .
- Install the springs back to its original position .
- The belt should be cleaned with a plastic scraper or dry cloth (#7 figure 3)

TROUBLESHOOTING
| Issue | Cause | Solution |
| The machine won’t start | The machine is not plugged in or connected to a source of power | Check the general switch, the plug, and the feeding cable |
| The voltage input is incorrect | Use the proper voltage | |
| There is another issue with the machine | Stop using the machine immediately and contact the manufacturer for assistance | |
| The machine causes an electric shock | Wires are touching the structure of the machine | Check the wires, confirming that they are not touching the structure of the machine |
| Only one set of rollers is working | The belt is broken | Change the belt |
| The worm wheel is worn out | Change the worm wheel | |
| The machine is making a loud noise
| Conveyor belt is out of position | Readjust belt to be fixed in the center of the drag board |
| Loose chain | Check that the transmission chain is connected. Replace if damaged | |
| Worn out bearings | Check machine bearings for any wear/tear. Replace if damaged |
EQUIPMENT LIMITED WARRANTY
1 YEAR PARTS AND LABOR WARRANTY
Select Estella Spiral Mixers, Dough Sheeters, and Bread Slicers are backed by a 1 year parts and labor warranty provided by Ready Kitchen Warranty . These select Estella products are warranted only to be free from defects in material and workmanship for a period of 1 year from the date of delivery . Proof of purchase is required to obtain warranty service . This warranty is only valid to the original purchaser and only to equipment installed in the contiguous United States . Estella and Ready Kitchen Warranty will only cover regular rate labor (no overtime or holiday hours) and travel up to 100 miles round trip .
COVERED EQUIPMENT:
This warranty is valid on:
Bread Slicer Models: 348BSLICE1, 348BSLICE12, 348BSLICE34, 348BSLICE58
Dough Sheeter Models: 348DSC67, 348DSC78, 348DSF78, 348DSF94, 348EDS12D, 348EDS12S, 348EDS18D, 348EDS18S
Spiral Mixer Models: 348SM40, 348SM50, 348SM60, 348SM80, 348SM100
Dough Press Models: 348DPC18P, 348DPC18T, 348DPC1620T
This warranty does not cover equipment used for residential or other non-commercial purposes .
1 YEAR REPLACEMENT WARRANTY
Select Estella Spiral Mixers are backed by a 1 year replacement warranty provided by Ready Kitchen Warranty . These select Estella products are warranted only to be free from defects in material and workmanship for a period of 1 year from the date of delivery . Proof of purchase is required to obtain warranty service . This warranty is only valid to the original purchaser and only to equipment installed in the contiguous United States .
COVERED EQUIPMENT:
This warranty is valid on:
Spiral Mixer Models: 348SM20, 348SM30
Countertop Mixer Models: 348EMIX8, 348EMIX8G
Cheese Grater Models: 348CG12, 348CG34, 348CG1, 348CG112
Dough Press Models: 348DPC18NH
This warranty does not cover equipment used for residential or other non-commercial purposes .
TO MAKE A WARRANTY CLAIM:
In order to make a claim against this warranty, please contact Ready Kitchen Warranty .
- Phone: 717-381-4844 – Please have your model number, serial number, and proof of purchase ready before calling .
- Email: [email protected] – Please include your name, model number, serial number, proof of purchase, and a brief description of the issue in your email . Including clear pictures of the issue will help expedite the process .
Failure to include one or more of these things will extend processing time .
This Limited Warranty does not cover:
- Equipment sold or used outside of the contiguous United States .
- Equipment purchased used, or sold by an unauthorized reseller .
- Equipment that has been improperly installed, used, or maintained .
- Equipment that has been subject to abuse, misuse, harsh chemical action, modifications made without the approval of Estella, damage caused by flood, fire, or other acts of God.
- Equipment missing a serial number or proof of purchase .
- Equipment that has been serviced outside of the warranty, or by an unauthorized technician, without the approval of Ready Kitchen Warranty .
- Equipment that was damaged as part of shipping and handling . Please contact your authorized retailer for assistance .
- Equipment that has been changed, modified, or repaired with parts not authorized by Estella.
- Any adjustments, calibrations, leveling, tightening of fasteners, etc .
- Damage caused by unqualified operators. Estella products are designed for use by professionally trained bakers only.
- Any parts determined to be wearable items, such as belts, by Ready Kitchen Warranty or Estella .
This warranty provides the exclusive remedy against Estella relating to Estella products, whether in contract or in tort or under any other legal theory, and whether arising out of warranties, representations, instructions, installations or defects from any cause. Estella shall not be liable, under any legal theory, for loss of use, revenue or profit, or for substitute use or performance, or for incidental, indirect, or special or consequential damages or for any other loss of cost of similar type .
The laws of some jurisdictions limit or do not allow the disclaimer of consequential damages . If the laws of such a jurisdiction apply to any claim by or against Estella, NO limitations and disclaimers contained here shall be the greatest extent permitted by law . Estella and Ready Kitchen Warranty shall not be liable for more than the purchase price of the equipment, inclusive of applicable freight and sales tax .
If required by Estella, customer shall return to Estella for examination any failed product or part to confirm that the part has failed as a result of material or workmanship .
The warranty is not transferable and cannot be changed for a previously purchased product .





















