DAVIS LIGHTING Excalibur EX Extrusion Polycarbonate Diffuser

This installation guide is valid for the following models:
- Excalibur EX
PRIOR TO INSTALLATION
- Read all instructions to prevent injury, electric shock or damage due to fire or mechanical hazards
- See product label for supply specifications
Inspect the luminaire and associated parts for any signs of defect, in particular fasteners, cables and the diffuser or glass lens
DO NOT INSTALL THE LUMINAIRE IF IT APPEARS IN ANY WAY FAULTY
Consult with the supplier / sales office for details regarding replacement
CAUTION
- Before commencing installation, turn off and isolate the electrical supply
- Electronic control equipment must not be subjected to high voltages. DO NOT MEGGER between Live and Neutral
- All cable / conduit terminations must be installed in accordance with the designated IP rating of this product
- Suitable installation fastening methods should be employed to ensure the mounting points are not damaged when subjected to vibration and / or movement
- This luminaire must be installed by qualified electrician in accordance with local rules and codes
- This luminaire cannot be disassembled by non-professional persons
- The light source of this luminaire is non-user replaceable. The light source contained in this luminaire shall only be replaced by the manufacturer or his service agent or a similar qualified person
- Prior to installation, products are to be stored in cool dry conditions
INSTALLATION
- Turn OFF the main supply

Wall Mount
- Install mounting base on the wall according to the measurement

- Screw the luminaire onto the mounting base

Pendant Mount
- Screw the mounting base on the ceiling accordingly

- Tighten the cap on the mounting base

- Attach the hanging cable by screwing it onto the luminaire

- Adjust the height accordingly

- Combine the luminaire to extend if needed

- Cut off the extra cable and put on the top cover

Ceiling Mount
- Install mounting base on the ceiling according to the measurement

- Attach the luminaire to the mounting base by clipping in

Recessed Mount
- Insert the luminaire into the hole that was ready

- Tighten the until it clamps to the ceiling

- Put on the cover

Connect mains to the terminal block
Turn ON the main supply
Unauthorized modification & improper installation void product warranty.
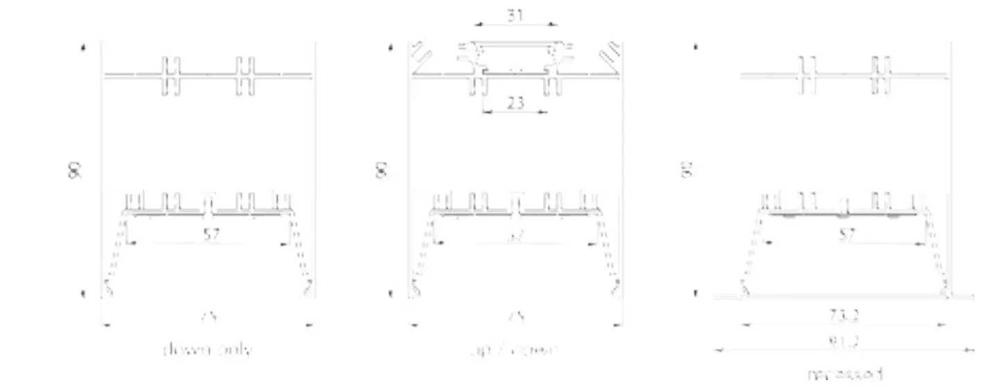
DIMENSIONS
MAINTENANCE
The supply must be isolated before opening or accessing the luminaire. Product maintenance is critical to the products designed performance. Davis Lighting is not responsible for any product not maintained in accordance with the recommended procedure or intervals. It is recommended that a bi-annual cleaning cycle is implemented. Inspect optical surfaces for damage or crack. Products supplied with visors or covers must not be operate with a damaged visor or cover; it is recommended damaged visors or covers be replaced by a competent person immediately. Seals and electrical components such as wirings to be checked for deterioration
All photometric and electrical data published are of ±10% tolerance. Characteristics and specifications may change without notice. All electrical installations / connections should be carried out by a suitably qualified person. Application images are indicative only and may not contain actual Davis product. The information contained in this publication is typical and must not be interpreted as a guarantee of individual product performance
This product may contain substances that can be hazardous to the environment if not disposed of correctly. Electrical and electronic equipment should never be discarded along with general waste but should be separated for correct treatment and recovery. Packaging and waste materials should be recycled wherever possible.
CONTACT
Australia Head Office & Sales Davex Australia Pty Ltd
Head Office: +61 (7) 3712 8988
Sales Offices: 1300 851 001
Fax: +61 (7) 3272 8988
Email: [email protected]
Malaysia Head Office & Sales Davex Malaysia Sdn Bhd (114942-X)
Phone: +60 (3) 5636 4348
Fax: +60 (3) 5636 4352
Email: [email protected]
Singapore Head Office & Sales Davex Singapore Pte Ltd
Phone: +65 6745 2511
Fax: +65 6745 5828
Email: [email protected]
davislighting.com / www.davislighting.com.au


































